GM Service Manual Online
For 1990-2009 cars only

Tools Required

J 42851 Front Cover Oil Seal Installer

  1. Install the NEW crankshaft front oil seal using the J 42851 .
  2. Lubricate the sealing surface of the crankshaft front oil seal with clean engine oil.

  3. Object Number: 470807  Size: SH

    Important: The engine front cover must be installed and the fasteners tightened while the sealant is still wet to the touch.

  4. Apply the sealant GM P/N United States 12346141, GM P/N Canada 10953433, or equivalent in two sealant points (1) on the engine block where the front cover meets the oil pan. The sealant (A) should be 2.0 mm (0.080 in) away from the front of the engine block.

  5. Object Number: 719124  Size: SH
  6. Install the engine front cover gasket into the front cover.
  7. Important: The following method must be used when installing the engine front cover. Failure to follow the instructions will push the sealant out, which may cause an oil leak.

  8. Install the engine front cover.
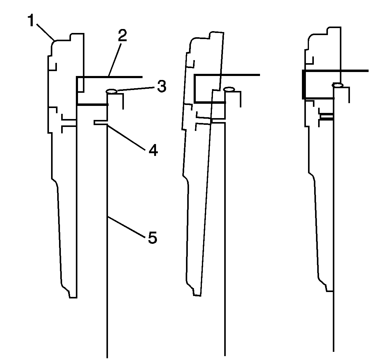
  9. 5.1. Hold the front cover (1) up to the crankshaft (2).
    5.2. Lift the front cover (1) while sliding the cover over the crankshaft (2).
    5.3. Slide the front cover towards the engine block (5) while keeping the cover raised.
    5.4. Lower the cover down over the dowel pin (4), allowing the front cover to rest on the sealant (3).

    Object Number: 677874  Size: SH

    Notice: Use the correct fastener in the correct location. Replacement fasteners must be the correct part number for that application. Fasteners requiring replacement or fasteners requiring the use of thread locking compound or sealant are identified in the service procedure. Do not use paints, lubricants, or corrosion inhibitors on fasteners or fastener joint surfaces unless specified. These coatings affect fastener torque and joint clamping force and may damage the fastener. Use the correct tightening sequence and specifications when installing fasteners in order to avoid damage to parts and systems.

  10. Install the engine front cover bolts.
  11. Tighten

        • Tighten the engine front cover bolts in sequence to 6 N·m (54 lb in) in the first pass.
        • Tighten the engine front cover bolts in sequence to 12 N·m (106 lb in) in the second pass.

    Object Number: 470803  Size: SH
  12. Inspect the camshaft position sensor O-ring for cuts, cracks, tears or damage. Replace the O-ring as needed.
  13. Apply a light film of clean engine oil to the camshaft position sensor O-ring.
  14. Install the camshaft position sensor.
  15. Notice: This bolt is a self-tapping bolt. If installing this bolt into a new component, installation of the bolt may be difficult. Ensure that the bolt is not over-torqued during the initial installation (thread cutting). Failure to limit torque can lead to bolt failure.

  16. Install the camshaft position sensor bolt.
  17. Tighten
    Tighten the camshaft position sensor bolt to 12 N·m (106 lb in).