GM Service Manual Online
For 1990-2009 cars only

Keyless Entry Antenna Replacement Model

Removal Procedure

  1. Remove the instrument panel cluster trim plate. Refer to Instrument Panel Cluster Trim Plate Replacement in Instrument Panel and Gauges.
  2. Remove the instrument panel cluster. Refer to Instrument Panel Cluster Replacement in Instrument Panel and Gauges.

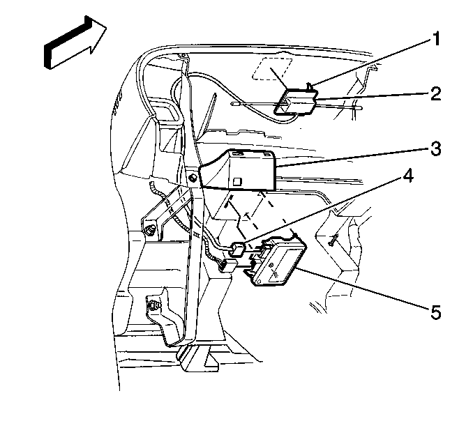
  3. Object Number: 492284  Size: SH
  4. Disconnect the remote keyless entry antenna (1) from the receiver (2).

  5. Object Number: 506272  Size: SH
  6. Remove the remote keyless entry antenna (1) from the carrier.
  7. Remove the remote keyless entry antenna from the vehicle.

Installation Procedure

  1. Install the remote keyless entry antenna to the vehicle.

  2. Object Number: 506272  Size: SH
  3. Install the remote keyless entry antenna (1) to the carrier.

  4. Object Number: 492284  Size: SH
  5. Connect the remote keyless entry antenna (1) to the receiver (2).
  6. Install the instrument panel cluster. Refer to Instrument Panel Cluster Replacement in Instrument Panel and Gauges.
  7. Install the instrument panel cluster trim plate.
  8. Reprogram the transmitter. Refer to Transmitter Programming.
  9. Verify that the system operates properly.