GM Service Manual Online
For 1990-2009 cars only

Rear Bumper Replacement Model

Removal Procedure


    Object Number: 406215  Size: SH
  1. Disconnect the license plate lamp harness connector.
  2. Remove the bumper step pad. Refer to Step Pad Replacement -- Rear Bumper.

  3. Object Number: 379246  Size: SH
  4. Remove the following nuts and bolts:
  5. • The impact bar nut (1)
    • The plate nuts (2)
    • The lower frame rail to bracket bolt (3)
    • The side frame rail to bracket bolt (4)

    Object Number: 393110  Size: SH
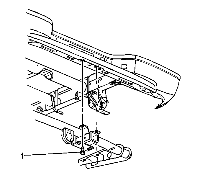
  6. Remove the rear trailer hitch to bumper bolts (1), if equipped.
  7. Remove the rear bumper from the vehicle.

Installation Procedure

  1. Position the rear bumper onto the vehicle.

  2. Object Number: 393110  Size: SH
  3. Install the rear trailer hitch to bumper bolts (1), if equipped.

  4. Object Number: 379246  Size: SH
  5. Install the following nuts and bolts.
  6. Tighten

        • Tighten the impact bar nut (1) to XX N·m (XX lb ft).
        • Tighten the plate nuts (2) to XX N·m (XX lb ft).
        • Tighten the lower frame rail to bracket bolt (3) to XX N·m (XX lb ft).
        • Tighten the side frame rail to bracket bolt (4) to XX N·m (XX lb ft).
  7. Install the bumper step pad. Refer to Step Pad Replacement -- Rear Bumper.

  8. Object Number: 406215  Size: SH
  9. Install the license plate lamp harness connector.