GM Service Manual Online
For 1990-2009 cars only

Up and Down Adjustment


    Object Number: 105291  Size: SH
  1. Open the hood.
  2. Loosen the adjustment link bolts (2) on the lower hinge (1).
  3. Adjust the hood as necessary.
  4. Notice: Use the correct fastener in the correct location. Replacement fasteners must be the correct part number for that application. Fasteners requiring replacement or fasteners requiring the use of thread locking compound or sealant are identified in the service procedure. Do not use paints, lubricants, or corrosion inhibitors on fasteners or fastener joint surfaces unless specified. These coatings affect fastener torque and joint clamping force and may damage the fastener. Use the correct tightening sequence and specifications when installing fasteners in order to avoid damage to parts and systems.

  5. Tighten the adjustment link bolts (2).
  6. Tighten
    Tighten the adjustment link bolts to 9 N·m (80 lb in).


    Object Number: 457372  Size: SH
  7. Adjust the front hood bumpers (1) so that the hood is flush with the fenders.
  8. Adjust the hood latch as necessary. Refer to [ADD LINK].

  9. Object Number: 130492  Size: SH
  10. After the hood adjustment is performed, sufficient load must remain on the front and rear hood bumpers to eliminate hood flutter. This can be achieved by lowering the hood latch an additional 1/8 inch, for front flutter and raising the rear bumper (2) for rear flutter.

Fore and Aft Adjustment


    Object Number: 457367  Size: SH
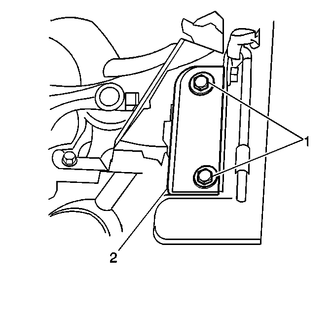
  1. Loosen the lower hood hinge bolts (1) securing the lower hood hinge (2) to the vehicle.
  2. Make necessary for and aft hood adjustments.
  3. Tighten the lower hood hinge bolts.
  4. Tighten
    Tighten the lower hood hinge bolts to 24 N·m (18 lb ft).