GM Service Manual Online
For 1990-2009 cars only

Endgate Linkage Replacement Pickup

Removal Procedure


    Object Number: 366584  Size: SH
  1. Lower the endgate.
  2. Loosen the endgate handle fasteners . Refer to [ADD LINK].
  3. Raise the endgate.

  4. Object Number: 366585  Size: SH
  5. Remove the handle bezel.
  6. Lower and support the endgate.
  7. Caution: When a lift gate hold open device is being removed or installed, provide alternate support to avoid the possibility of damage to the vehicle or personal injury.

  8. Remove the endgate latch assembly. Refer to [ADD LINK].

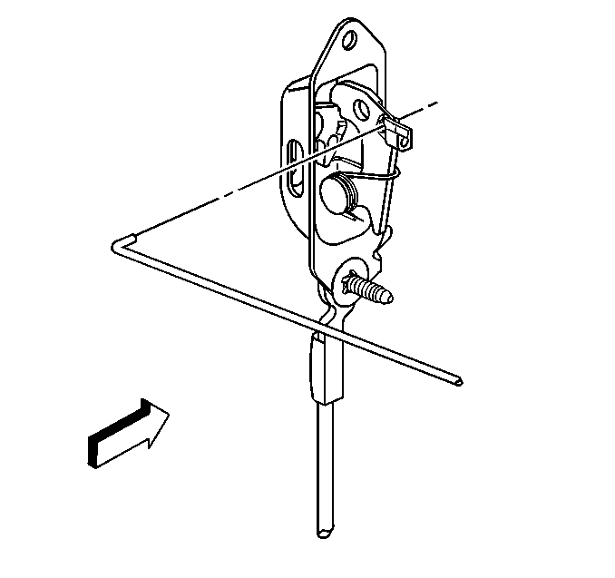
  9. Object Number: 347054  Size: SH
  10. Remove the linkage rod (1) from the endgate handle assembly.

  11. Object Number: 352941  Size: SH
  12. Disengage the linkage rod from the latch assembly.

Installation Procedure

  1. Install the linkage rod to the endgate latch assembly.
  2. Install the endgate latch assembly. Refer to [ADD LINK].
  3. Raise the endgate.

  4. Object Number: 347054  Size: SH
  5. Install the linkage rod to the endgate handle.
  6. Install the endgate handle bezel.

  7. Object Number: 366584  Size: SH
  8. Tighten the endgate handle bolts.
  9. Tighten
    Tighten the endgate handle bolts to 25 N·m (18 lb .