GM Service Manual Online
For 1990-2009 cars only

Removal Procedure

  1. Remove the release handle cover.

  2. Object Number: 283993  Size: SH
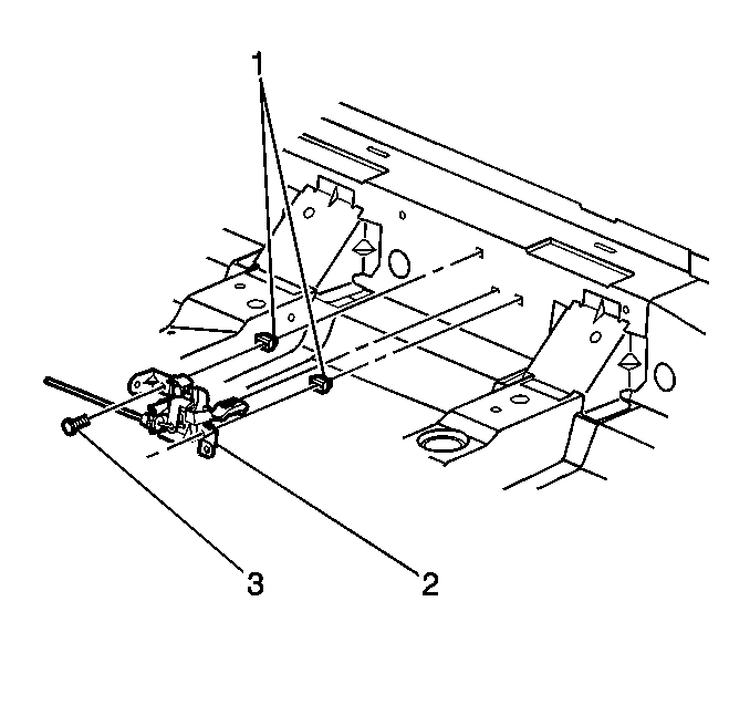
  3. Remove the remote release handle fasteners (3).
  4. Remove the remote release handle fasteners (1).

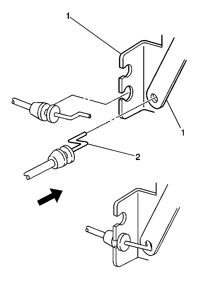
  5. Object Number: 284048  Size: MH
  6. Remove the remote release cable (2) from the remote release handle (1).
  7. Remove the remote release handle (1).

Installation Procedure


    Object Number: 284048  Size: MH
  1. Install the remote release handle (1).
  2. Install the remote release cable (2) to the remote release handle (1).

  3. Object Number: 283993  Size: SH

    Notice: Use the correct fastener in the correct location. Replacement fasteners must be the correct part number for that application. Fasteners requiring replacement or fasteners requiring the use of thread locking compound or sealant are identified in the service procedure. Do not use paints, lubricants, or corrosion inhibitors on fasteners or fastener joint surfaces unless specified. These coatings affect fastener torque and joint clamping force and may damage the fastener. Use the correct tightening sequence and specifications when installing fasteners in order to avoid damage to parts and systems.

  4. Install the remote release handle fasteners (1, 3).
  5. Tighten
    Tighten the fasteners to 1 N·m (12 lb in).

  6. Install the release handle cover.