GM Service Manual Online
For 1990-2009 cars only

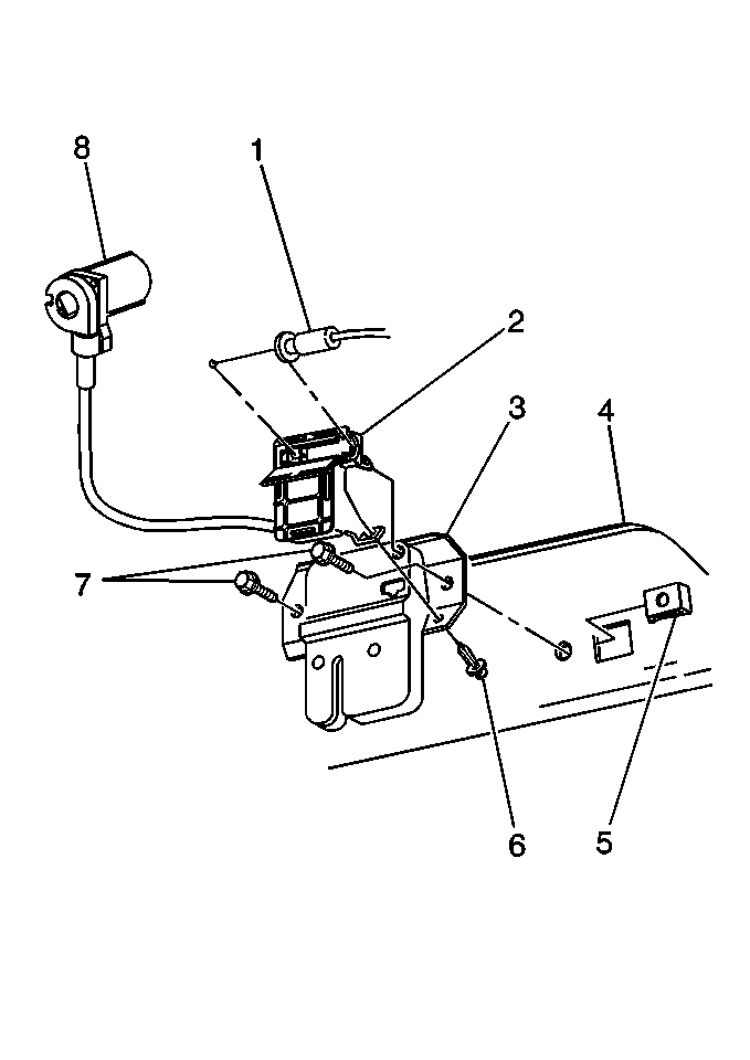
Removal Procedure

  1. Remove the handle cover from the compartment lid release.

  2. Object Number: 284048  Size: MH
  3. Remove the remote release cable (2) from the remote release handle (1).

  4. Object Number: 283996  Size: MH
  5. Unclip the cable door at the top of the rear compartment lid latch assembly (2).
  6. Remove the remote release cable (1) from the rear compartment lid latch assembly (2).

Installation Procedure


    Object Number: 284048  Size: MH
  1. Route the remote release cable (2).
  2. Install the remote release cable (2) to the remote release handle (1).
  3. Install the release handle cover.

  4. Object Number: 283996  Size: MH
  5. Install the remote release cable (1) to the rear compartment lid latch assembly  (2).
  6. Press and secure the cable door at the top of the rear compartment lid latch assembly.