GM Service Manual Online
For 1990-2009 cars only

Tools Required

    • J 41476 Front and Rear Cover Alignment Tool
    • J 41480 Front and Rear Cover Alignment

    Object Number: 64278  Size: SH

    Important: 

       • Do not use the crankshaft oil seal or the engine front cover gasket again.
       • Do not apply any type sealant to the front cover gasket, unless specified.
       • The special tools in this procedure are used to properly align the engine front cover at the oil pan surface and to center the crankshaft front oil seal.
          - All gasket surfaces should be free of oil or other foreign material during assembly.
          - The crankshaft front oil seal MUST be centered in relation to the crankshaft.
          - The oil pan sealing surface at the front cover and engine block MUST be aligned within specifications.
          - An improperly aligned front cover may cause premature front oil seal wear and/or engine assembly oil leaks.

  1. Install the front cover gasket, cover, and bolts onto the engine.
  2. Tighten the cover bolts finger tight. Do not overtighten.

  3. Object Number: 63182  Size: SH

    Notice: Use the correct fastener in the correct location. Replacement fasteners must be the correct part number for that application. Fasteners requiring replacement or fasteners requiring the use of thread locking compound or sealant are identified in the service procedure. Do not use paints, lubricants, or corrosion inhibitors on fasteners or fastener joint surfaces unless specified. These coatings affect fastener torque and joint clamping force and may damage the fastener. Use the correct tightening sequence and specifications when installing fasteners in order to avoid damage to parts and systems.

    Important: Start the tool-to-front cover bolts. Do not tighten the bolts at this time.

  4. Install the J 41480 .
  5. Tighten
    Tighten the tool-to-engine block bolts to 25 N·m (18 lb ft).


    Object Number: 63185  Size: SH

    Important: Align the tapered legs of the tool with the machined alignment surfaces on the front cover.

  6. Install the J 41476 .
  7. Install the crankshaft balancer bolt.
  8. Tighten

    1. Tighten the crankshaft balancer bolt by hand until snug. Do not overtighten.
    2. Tighten the J 41480 .
    3. Tighten the engine front cover bolts to 25 N·m (18 lb ft).
  9. Remove the tools.

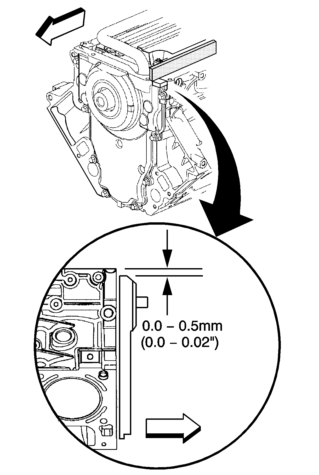
  10. Object Number: 63242  Size: MH
  11. Measure the oil pan surface flatness, front cover-to-engine block.
  12. 7.1. Place a straight edge across the engine block and front cover oil pan sealing surfaces.

    Avoid contact with the portion of the gasket that protrudes into the oil pan surface.

    7.2. Insert a feeler gage between the front cover and the straight edge tool. The cover must be flush with the oil pan surface or no more than 0.5 mm (0.02 in) below flush.
  13. If the front cover-to-engine block oil pan surface alignment is not within specifications, repeat the cover alignment procedure.
  14. If the correct front cover-to-engine block alignment cannot be obtained, replace the front cover.