GM Service Manual Online
For 1990-2009 cars only

    Object Number: 500682  Size: SH

    Caution: Wear safety glasses in order to avoid eye damage.

  1. Clean the upper intake manifold in cleaning solvent.
  2. Dry the upper intake manifold with compressed air.

  3. Object Number: 500684  Size: SH
  4. Clean the lower intake manifold in cleaning solvent.
  5. Dry the lower intake manifold with compressed air.

  6. Object Number: 500685  Size: SH
  7. Inspect the upper intake manifold for the following:
  8. • Cracks or other damage to the exterior (1)
    • Cracking or damage in the gasket grooves (2) and (3)
    • Damage to the throttle body mounting surface (4)
    • Loose or damaged bolt hole thread inserts (5)

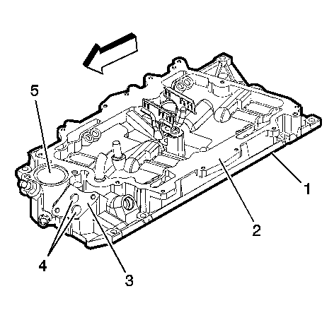
    Object Number: 500686  Size: SH
  9. Inspect the lower intake manifold for the following:
  10. • Damage to the gasket sealing surfaces (1), (2) and (3)
    • Restricted exhaust gas recirculation (EGR) system passages  (4)
    • Restricted cooling system passages (5)
    • Cracks or damage
    • Damage to the threaded bolt holes