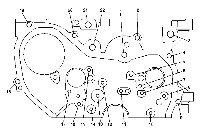
| Table 1: | Engine Block - Front View |
| Table 2: | Engine Block - Back View |
| Table 3: | Engine Block - Left Side View |
| Table 4: | Engine Block - Bottom View |
| Table 5: | Engine Block - Right Side View |
| Table 6: | Engine Block - Top View |
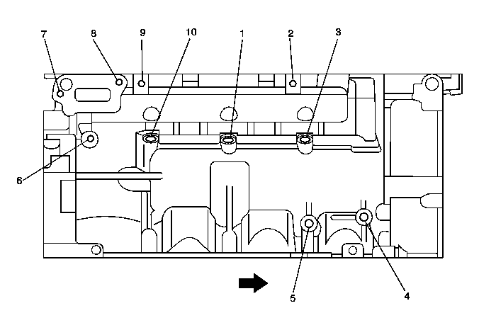
| Table 7: | Lower Crankcase - Front View |
| Table 8: | Lower Crankcase - Back View |
| Table 9: | Lower Crankcase - Bottom View |
| Table 10: | Lower Crankcase - Left View |
| Table 11: | Lower Crankcase - Right View |
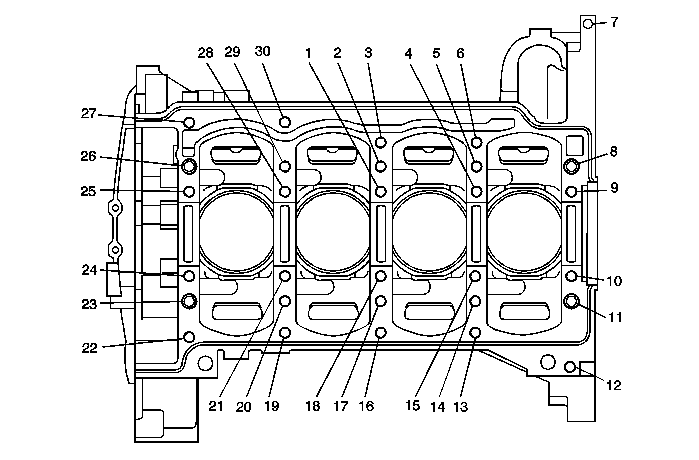
| Table 12: | Cylinder Head - Top View |
| Table 13: | Cylinder Head - Intake Manifold Deck View |
| Table 14: | Cylinder Head - Exhaust Manifold Deck View |
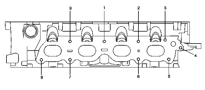
| Table 15: | Cylinder Head - Front View |
| Table 16: | Cylinder Head - Back View |
| Table 17: | Cylinder Head - Bottom View |
Service Call Out | Thread Size | Insert | Drill | Counterbore Tool | Tap | Driver | Drill Depth (Maximum) | Tap Depth (Maximum) | Engineering Hole Number | ||
|---|---|---|---|---|---|---|---|---|---|---|---|
J 42385- | MM | (IN) | MM | (IN) | |||||||
1 | M10 x 1.5 | 215 | 211 | 212 | 213 | 214 | 24.5 | 0.96 | 19.5 | 0.77 | 117 |
2 | M8 x 1.25 | 210 | 206 | 207 | 208 | 209 | 23.5 | 0.93 | 18.5 | 0.73 | 109 |
3 | M12 x 1.75 | 855 | 856 | 857 | 858 | 859 | 33.5 | 1.32 | 26.5 | 1.04 | 114 |
4 | M8 x 1.25 | 210 | 206 | 207 | 208 | 209 | 23.5 | 0.93 | 18.5 | 0.73 | 110 |
5 | M6 x 1 | 205 | 201 | 202 | 203 | 204 | 20 | 0.787 | 16 | 0.63 | 129 |
6 | M6 x 1 | 205 | 201 | 202 | 203 | 204 | 20 | 0.787 | 16 | 0.63 | 130 |
7 | M6 x 1 | 205 | 201 | 202 | 203 | 204 | 20 | 0.787 | 16 | 0.63 | 125 |
8 | M6 x 1 | 205 | 201 | 202 | 203 | 204 | 20 | 0.787 | 16 | 0.63 | 126 |
9 | M8 x 1.25 | 210 | 206 | 207 | 208 | 209 | 25.5 | 1.00 | THRU | 111 | |
10 | M6 x 1 | 205 | 201 | 202 | 203 | 204 | 20 | 0.787 | 16 | 0.63 | 127 |
11 | M6 x 1 | 205 | 201 | 202 | 203 | 204 | 20 | 0.787 | 16 | 0.63 | 122 |
12 | M6 x 1 | 205 | 201 | 202 | 203 | 204 | 20 | 0.787 | 16 | 0.63 | 128 |
13 | M6 x 1 | 205 | 201 | 202 | 203 | 204 | 20 | 0.787 | 16 | 0.63 | 124 |
14 | M6 x 1 | 205 | 201 | 202 | 203 | 204 | 20 | 0.787 | 16 | 0.63 | 123 |
15 | M6 x 1 | 205 | 201 | 202 | 203 | 204 | 20 | 0.787 | 16 | 0.63 | 131 |
16 | M6 x 1 | 205 | 201 | 202 | 203 | 204 | 20 | 0.787 | 16 | 0.63 | 119 |
17 | M6 x 1 | 205 | 201 | 202 | 203 | 204 | 20 | 0.787 | 16 | 0.63 | 120 |
18 | M8 x 1.25 | 210 | 206 | 207 | 208 | 209 | 23.5 | 0.93 | 18.5 | 0.73 | 106 |
19 | M8 x 1.25 | 210 | 206 | 207 | 208 | 209 | 55 | 2.17 | THRU | 112 | |
20 | M8 x 1.25 | 210 | 206 | 207 | 208 | 209 | 23.5 | 0.93 | 18.5 | 0.73 | 108 |
21 | M12 x 1.75 | 855 | 856 | 857 | 858 | 859 | 33.5 | 1.32 | 26.5 | 1.04 | 116 |
22 | M12 x 1.75 | 855 | 856 | 857 | 858 | 859 | 33.5 | 1.32 | 26.5 | 1.04 | 115 |
Service Call Out | Thread Size | Insert | Drill | Counterbore Tool | Tap | Driver | Drill Depth (Maximum) | Tap Depth (Maximum) | Engineering Hole Number | ||
|---|---|---|---|---|---|---|---|---|---|---|---|
J 42385- | MM | (IN) | MM | (IN) | |||||||
1 | M12 x 1.75 | 855 | 856 | 857 | 858 | 859 | 39 | 1.535 | 33.5 | 1.32 | 204 |
2 | M16 x 1.5 | 860 | 861 | 862 | 863 | 864 | 21 | 0.827 | 15 | 0.59 | 214 |
3 | M10 x 1.5 | 215 | 211 | 212 | 213 | 214 | 29 | 1.161 | THRU | 206 | |
4 | M8 x 1.25 | 210 | 206 | 207 | 208 | 209 | 18 | 0.709 | THRU | 209 | |
5 | M8 x 1.25 | 854 No Flange | 206 | 207 | 208 | 209 | 18 | 0.709 | THRU | 208 | |
6 | M16 x 1.5 | 860 | 861 | 862 | 863 | 864 | 21 | 0.827 | 15 | 0.59 | 213 |
7 | M12 x 1.75 | 855 | 856 | 857 | 858 | 859 | 39 | 1.535 | 33.5 | 1.32 | 203 |
Service Call Out | Thread Size | Insert | Drill | Counterbore Tool | Tap | Driver | Drill Depth (Maximum) | Tap Depth (Maximum) | Engineering Hole Number | ||
|---|---|---|---|---|---|---|---|---|---|---|---|
J 42385- | MM | (IN) | MM | (IN) | |||||||
1 | M12 x 1.75 | 865 | 856 | 857 | 858 | 859 | 19.50 | 0.768 | 12.5 | 0.49 | 515 |
2 | M6 x 1.0 | 205 | 201 | 202 | 203 | 204 | -- | -- | -- | -- | -- |
3 | M12 x 1.75 | 865 | 856 | 857 | 858 | 859 | 19.50 | 0.768 | 12.5 | 0.49 | 514 |
4 | M10 x 1.5 | 215 | 211 | 212 | 213 | 214 | 23.50 | 0.925 | 18.5 | 0.73 | 521 |
5 | M10 x 1.5 | 215 | 211 | 212 | 213 | 214 | 23.50 | 0.925 | 18.5 | 0.73 | 519 |
6 | M6 x 1.0 | 205 | 201 | 202 | 203 | 204 | 20.50 | 0.807 | 16.0 | 0.63 | 513 |
7 | M6 x 1.0 | 205 | 201 | 202 | 203 | 204 | 20.50 | 0.807 | 16.0 | 0.63 | 512 |
8 | M6 x 1.0 | 205 | 201 | 202 | 203 | 204 | 20.50 | 0.807 | 16.0 | 0.63 | 511 |
9 | M6 x 1.0 | 205 | 201 | 202 | 203 | 204 | -- | -- | -- | -- | -- |
10 | M12 x 1.75 | 865 | 856 | 857 | 858 | 859 | 19.50 | 0.768 | 12.5 | 0.49 | 516 |
Service Call Out | Thread Size | Insert | Drill | Counterbore Tool | Tap | Driver | Drill Depth (Maximum) | Tap Depth (Maximum) | Engineering Hole Number | ||
|---|---|---|---|---|---|---|---|---|---|---|---|
J 42385- | MM | (IN) | MM | (IN) | |||||||
1 | M10 x 1.5 | 514 | 511 | N/A | 512 | 513 | 60 | 2.362 | 53.5 | 2.11 | 1415 |
2 | M10 x 1.5 | 514 | 511 | N/A | 512 | 513 | 60 | 2.362 | 53.5 | 2.11 | 1408 |
3 | M8 x 1.25 | 210 | 206 | 207 | 208 | 209 | 28 | 1.102 | 22 | 0.87 | 1425 |
4 | M10 x 1.5 | 514 | 511 | N/A | 512 | 513 | 60 | 2.362 | 53.5 | 2.11 | 1416 |
5 | M10 x 1.5 | 514 | 511 | N/A | 512 | 513 | 60 | 2.362 | 53.5 | 2.11 | 1409 |
6 | M8 x 1.25 | 210 | 206 | 207 | 208 | 209 | 28 | 1.102 | 22 | 0.87 | 1426 |
7 | M8 x 1.25 | 210 | 206 | 207 | 208 | 209 | 28 | 1.102 | 22 | 0.87 | 1432 |
8 | M10 x 1.5 | 514 | 511 | N/A | 512 | 513 | 60 | 2.362 | 53.5 | 2.11 | 1404 |
9 | M10 x 1.5 | 514 | 511 | N/A | 512 | 513 | 60 | 2.362 | 53.5 | 2.11 | 1417 |
10 | M10 x 1.5 | 514 | 511 | N/A | 512 | 513 | 60 | 2.362 | 53.5 | 2.11 | 1422 |
11 | M10 x 1.5 | 514 | 511 | N/A | 512 | 513 | 60 | 2.362 | 53.5 | 2.11 | 1406 |
12 | M8 x 1.25 | 210 | 206 | 207 | 208 | 209 | 28 | 1.102 | 22 | 0.87 | 1431 |
13 | M8 x 1.25 | 210 | 206 | 207 | 208 | 209 | 28 | 1.102 | 22 | 0.87 | 1430 |
14 | M10 x 1.5 | 514 | 511 | N/A | 512 | 513 | 60 | 2.362 | 53.5 | 2.11 | 1412 |
15 | M10 x 1.5 | 514 | 511 | N/A | 512 | 513 | 60 | 2.362 | 53.5 | 2.11 | 1421 |
16 | M8 x 1.25 | 210 | 206 | 207 | 208 | 209 | 28 | 1.102 | 22 | 0.87 | 1429 |
17 | M10 x 1.5 | 514 | 511 | N/A | 512 | 513 | 60 | 2.362 | 53.5 | 2.11 | 1411 |
18 | M10 x 1.5 | 514 | 511 | N/A | 512 | 513 | 60 | 2.362 | 53.5 | 2.11 | 1420 |
19 | M8 x 1.25 | 210 | 206 | 207 | 208 | 209 | 28 | 1.102 | 22 | 0.87 | 1428 |
20 | M10 x 1.5 | 514 | 511 | N/A | 512 | 513 | 60 | 2.362 | 53.5 | 2.11 | 1410 |
21 | M10 x 1.5 | 514 | 511 | N/A | 512 | 513 | 60 | 2.362 | 53.5 | 2.11 | 1419 |
22 | M8 x 1.25 | 210 | 206 | 207 | 208 | 209 | 28 | 1.102 | 22 | 0.87 | 1427 |
23 | M10 x 1.5 | 514 | 511 | N/A | 512 | 513 | 60 | 2.362 | 53.5 | 2.11 | 1405 |
24 | M10 x 1.5 | 514 | 511 | N/A | 512 | 513 | 60 | 2.362 | 53.5 | 2.11 | 1418 |
25 | M10 x 1.5 | 514 | 511 | N/A | 512 | 513 | 60 | 2.362 | 53.5 | 2.11 | 1413 |
26 | M10 x 1.5 | 514 | 511 | N/A | 512 | 513 | 60 | 2.362 | 53.5 | 2.11 | 1403 |
27 | M8 x 1.25 | 210 | 206 | 207 | 208 | 209 | 28 | 1.102 | 22 | 0.87 | 1423 |
28 | M10 x 1.5 | 514 | 511 | N/A | 512 | 513 | 60 | 2.362 | 53.5 | 2.11 | 1414 |
29 | M10 x 1.5 | 514 | 511 | N/A | 512 | 513 | 60 | 2.362 | 53.5 | 2.11 | 1407 |
30 | M8 x 1.25 | 210 | 206 | 207 | 208 | 209 | 28 | 1.102 | 22 | 0.87 | 1424 |
Service Call Out | Thread Size | Insert | Drill | Counterbore Tool | Tap | Driver | Drill Depth (Maximum) | Tap Depth (Maximum) | Engineering Hole Number | ||
|---|---|---|---|---|---|---|---|---|---|---|---|
J 42385- | MM | (IN) | MM | (IN) | |||||||
1 | M12 x 1.75 | 865 | 856 | 857 | 858 | 859 | 19.50 | 0.778 | 12.5 | 0.49 | 613 |
2 | M12 x 1.75 | 865 | 856 | 857 | 858 | 859 | 19.50 | 0.778 | 12.5 | 0.49 | 612 |
3 | M6 x 1.0 | 205 | 201 | 202 | 203 | 204 | 20.50 | 0.807 | 16.5 | .065 | 610 |
4 | M12 x 1.75 | 865 | 856 | 857 | 858 | 859 | 15.50 | 0.610 | 12.5 | 0.49 | 606 |
5 | M8 x 1.25 | 210 | 206 | 207 | 208 | 209 | 23.50 | 0.925 | 18.0 | 0.71 | 609 |
6 | M8 x 1.25 | 210 | 206 | 207 | 208 | 209 | 23.50 | 0.925 | 18.0 | 0.71 | 608 |
7 | M8 x 1.25 | 210 | 206 | 207 | 208 | 209 | 23.50 | 0.925 | 18.0 | 0.71 | 607 |
8 | M12 x 1.75 | 855 | 856 | 857 | 858 | 859 | 33.50 | 1.319 | 26.5 | 1.04 | 617 |
9 | M8 x 1.25 | 210 | 206 | 207 | 208 | 209 | 30.50 | 1.201 | 22.5 | 0.89 | 604 |
10 | M8 x 1.25 | 210 | 206 | 207 | 208 | 209 | 30.50 | 1.201 | 22.5 | 0.89 | 605 |
11 | M8 x 1.25 | 210 | 206 | 207 | 208 | 209 | 30.50 | 1.201 | 22.5 | 0.89 | 603 |
12 | M8 x 1.25 | 210 | 206 | 207 | 208 | 209 | 30.50 | 1.201 | 22.5 | 0.89 | 601 |
13 | M8 x 1.25 | 210 | 206 | 207 | 208 | 209 | 30.50 | 1.201 | 22.5 | 0.89 | 602 |
14 | M12 x 1.75 | 855 | 856 | 857 | 858 | 859 | 33.50 | 1.319 | 26.5 | 1.04 | 616 |
15 | M12 x 1.75 | 865 | 856 | 857 | 858 | 859 | 19.50 | 0.778 | 12.5 | 0.49 | 614 |
Service Call Out | Thread Size | Insert | Drill | Counterbore Tool | Tap | Driver | Drill Depth (Maximum) | Tap Depth (Maximum) | Engineering Hole Number | ||
|---|---|---|---|---|---|---|---|---|---|---|---|
J 42385- | MM | (IN) | MM | (IN) | |||||||
1 | M11 x 1.5 | 507 | 504 | N/A | 505 | 506 | 113.30 | 4.461 | 107.3 | 4.22 | 308 |
2 | M12 x 1.75 | 865 | 856 | 857 | 858 | 859 | 13.50 | 0.531 | 12.5 | 0.49 | 317 |
3 | M11 x 1.5 | 507 | 504 | N/A | 505 | 506 | 113.30 | 4.461 | 107.3 | 4.22 | 309 |
4 | M11 x 1.5 | 507 | 504 | N/A | 505 | 506 | 113.30 | 4.461 | 107.3 | 4.22 | 310 |
5 | M11 x 1.5 | 507 | 504 | N/A | 505 | 506 | 113.30 | 4.461 | 107.3 | 4.22 | 302 |
6 | M11 x 1.5 | 507 | 504 | N/A | 505 | 506 | 113.30 | 4.461 | 107.3 | 4.22 | 305 |
7 | M11 x 1.5 | 507 | 504 | N/A | 505 | 506 | 113.30 | 4.461 | 107.3 | 4.22 | 304 |
8 | M11 x 1.5 | 507 | 504 | N/A | 505 | 506 | 113.30 | 4.461 | 107.3 | 4.22 | 303 |
9 | M11 x 1.5 | 507 | 504 | N/A | 505 | 506 | 113.30 | 4.461 | 107.3 | 4.22 | 301 |
10 | M8 x 1.25 | 210 | 206 | 207 | 208 | 209 | 23.50 | 0.925 | 18.5 | 0.73 | 313 |
11 | M8 x 1.25 | 210 | 206 | 207 | 208 | 209 | 23.50 | 0.925 | 18.5 | 0.73 | 311 |
12 | M8 x 1.25 | 210 | 206 | 207 | 208 | 209 | 23.50 | 0.925 | 18.5 | 0.73 | 312 |
13 | M11 x 1.5 | 507 | 504 | N/A | 505 | 506 | 113.30 | 4.461 | 107.3 | 4.22 | 306 |
14 | M8 x 1.25 | 210 | 206 | 207 | 208 | 209 | 23.50 | 0.925 | 18.5 | 0.73 | 314 |
15 | M11 x 1.5 | 507 | 504 | N/A | 505 | 506 | 113.30 | 4.461 | 107.3 | 4.22 | 307 |
16 | M12 x 1.75 | 865 | 856 | 857 | 858 | 859 | 13.50 | 0.531 | 12.5 | 0.49 | 316 |
Service Call Out | Thread Size | Insert | Drill | Counterbore Tool | Tap | Driver | Drill Depth (Maximum) | Tap Depth (Maximum) | Engineering Hole Number | ||
|---|---|---|---|---|---|---|---|---|---|---|---|
J 42385- | MM | (IN) | MM | (IN) | |||||||
1 | M8 x 1.25 | 210 | 206 | 207 | 208 | 209 | 23.50 | 0.925 | 18.5 | 0.73 | 138 |
2 | M8 x 1.25 | 210 | 206 | 207 | 208 | 209 | 30.50 | 1.201 | 25.5 | 1.00 | 139 |
3 | M8 x 1.25 | 210 | 206 | 207 | 208 | 209 | 30.50 | 1.201 | 25.5 | 1.00 | 140 |
4 | M8 x 1.25 | 210 | 206 | 207 | 208 | 209 | 23.50 | 0.925 | 18.5 | 0.73 | 141 |
Service Call Out | Thread Size | Insert | Drill | Counterbore Tool | Tap | Driver | Drill Depth (Maximum) | Tap Depth (Maximum) | Engineering Hole Number | ||
|---|---|---|---|---|---|---|---|---|---|---|---|
J 42385- | MM | (IN) | MM | (IN) | |||||||
1 | M10 x 1.5 | 215 | 211 | 212 | 213 | 214 | 29.50 | 1.161 | THRU | 207 | |
Service Call Out | Thread Size | Insert | Drill | Counterbore Tool | Tap | Driver | Drill Depth (Maximum) | Tap Depth (Maximum) | Engineering Hole Number | ||
|---|---|---|---|---|---|---|---|---|---|---|---|
J 42385- | MM | (IN) | MM | (IN) | |||||||
1 | M8 x 1.25 | 210 | 206 | 207 | 208 | 209 | 23.50 | 0.925 | 18.5 | 0.73 | 415 |
2 | M8 x 1.25 | 210 | 206 | 207 | 208 | 209 | 23.50 | 0.925 | 18.5 | 0.73 | 416 |
3 | M8 x 1.25 | 210 | 206 | 207 | 208 | 209 | 23.50 | 0.925 | 18.5 | 0.73 | 417 |
4 | M8 x 1.25 | 210 | 206 | 207 | 208 | 209 | 23.50 | 0.925 | 18.5 | 0.73 | 418 |
5 | M8 x 1.25 | 210 | 206 | 207 | 208 | 209 | 23.50 | 0.925 | 18.5 | 0.73 | 419 |
6 | M8 x 1.25 | 210 | 206 | 207 | 208 | 209 | 23.50 | 0.925 | 18.5 | 0.73 | 405 |
7 | M8 x 1.25 | 210 | 206 | 207 | 208 | 209 | 23.50 | 0.925 | 18.5 | 0.73 | 406 |
8 | M8 x 1.25 | 210 | 206 | 207 | 208 | 209 | 23.50 | 0.925 | 18.5 | 0.73 | 407 |
9 | M8 x 1.25 | 210 | 206 | 207 | 208 | 209 | 23.50 | 0.925 | 18.5 | 0.73 | 408 |
10 | M8 x 1.25 | 210 | 206 | 207 | 208 | 209 | 23.50 | 0.925 | 18.5 | 0.73 | 409 |
11 | M8 x 1.25 | 210 | 206 | 207 | 208 | 209 | 23.50 | 0.925 | 18.5 | 0.73 | 410 |
12 | M8 x 1.25 | 210 | 206 | 207 | 208 | 209 | 23.50 | 0.925 | 18.5 | 0.73 | 411 |
13 | M8 x 1.25 | 210 | 206 | 207 | 208 | 209 | 23.50 | 0.925 | 18.5 | 0.73 | 412 |
14 | M8 x 1.25 | 210 | 206 | 207 | 208 | 209 | 23.50 | 0.925 | 18.5 | 0.73 | 413 |
15 | M8 x 1.25 | 210 | 206 | 207 | 208 | 209 | 23.50 | 0.925 | 18.5 | 0.73 | 414 |
Service Call Out | Thread Size | Insert | Drill | Counterbore Tool | Tap | Driver | Drill Depth (Maximum) | Tap Depth (Maximum) | Engineering Hole Number | ||
|---|---|---|---|---|---|---|---|---|---|---|---|
J 42385- | MM | (IN) | MM | (IN) | |||||||
1 | M10 x 1.5 | 215 | 211 | 212 | 213 | 214 | 28.50 | 1.122 | 22.5 | 0.89 | 518 |
2 | M10 x 1.5 | 215 | 211 | 212 | 213 | 214 | 28.50 | 1.122 | 22.5 | 0.89 | 517 |
3 | M10 x 1.5 | 215 | 211 | 212 | 213 | 214 | 28.50 | 1.122 | 22.5 | 0.89 | 520 |
Service Call Out | Thread Size | Insert | Drill | Counterbore Tool | Tap | Driver | Drill Depth (Maximum) | Tap Depth (Maximum) | Engineering Hole Number | ||
|---|---|---|---|---|---|---|---|---|---|---|---|
J 42385- | MM | (IN) | MM | (IN) | |||||||
1 | M8 x 1.25 | 210 | 211 | 212 | 213 | 214 | 30.50 | 1.201 | 22.5 | 0.886 | 615 |
Service Call Out | Thread Size | Insert | Drill | Counterbore Tool | Tap | Driver | Drill Depth (Maximum) | Tap Depth (Maximum) | Engineering Hole Number | ||
|---|---|---|---|---|---|---|---|---|---|---|---|
J 42385- | MM | (IN) | MM | (IN) | |||||||
1 | M6 x 1.0 | 205 | 852 | N/A | 203 | 204 | 24 | 0.945 | 20 | 0.787 | 2515 |
2 | M6 x 1.0 | 205 | 852 | N/A | 203 | 204 | 24 | 0.945 | 20 | 0.787 | 2514 |
3 | M6 x 1.0 | 205 | 201 | 202 | 203 | 204 | 20 | 0.787 | 16 | 0.630 | 2812 |
4 | M6 x 1.0 | 205 | 201 | 202 | 203 | 204 | 20 | 0.787 | 16 | 0.630 | 2820 |
5 | M6 x 1.0 | 205 | 201 | 202 | 203 | 204 | 20 | 0.787 | 16 | 0.630 | 2710 |
6 | M6 x 1.0 | 205 | 852 | N/A | 203 | 204 | 24 | 0.945 | 20 | 0.787 | 2513 |
7 | M6 x 1.0 | 205 | 852 | N/A | 203 | 204 | 24 | 0.945 | 20 | 0.787 | 2512 |
8 | M8 x 1.25 | 854 No Flange | 206 | 207 | 208 | 209 | THRU | THRU | 2980 | ||
9 | M6 x 1.0 | 205 | 201 | 202 | 203 | 204 | 20 | 0.787 | 16 | 0.630 | 2811 |
10 | M6 x 1.0 | 205 | 201 | 202 | 203 | 204 | 20 | 0.787 | 16 | 0.630 | 2810 |
11 | M6 x 1.0 | 205 | 852 | N/A | 203 | 204 | 24 | 0.945 | 20 | 0.787 | 2510 |
12 | M6 x 1.0 | 205 | 852 | N/A | 203 | 204 | 24 | 0.945 | 20 | 0.787 | 2511 |
13 | M6 x 1.0 | 205 | 201 | 202 | 203 | 204 | 16 | 0.630 | THRU | 2910 | |
14 | M6 x 1.0 | 205 | 201 | 202 | 203 | 204 | 16 | 0.630 | THRU | 2911 | |
15 | M6 x 1.0 | 205 | 852 | N/A | 203 | 204 | 24 | 0.945 | 20 | 0.787 | 2520 |
16 | M6 x 1.0 | 205 | 852 | N/A | 203 | 204 | 24 | 0.945 | 20 | 0.787 | 2521 |
17 | M6 x 1.0 | 205 | 201 | 202 | 203 | 204 | 20 | 0.787 | 16 | 0.630 | 2815 |
18 | M6 x 1.0 | 205 | 201 | 202 | 203 | 204 | 20 | 0.787 | 16 | 0.630 | 2816 |
19 | M6 x 1.0 | 205 | 852 | N/A | 203 | 204 | 24 | 0.945 | 20 | 0.787 | 2523 |
20 | M6 x 1.0 | 205 | 852 | N/A | 203 | 204 | 24 | 0.945 | 20 | 0.787 | 2522 |
21 | M6 x 1.0 | 205 | 201 | 202 | 203 | 204 | 20 | 0.787 | 16 | 0.630 | 2817 |
22 | M6 x 1.0 | 205 | 852 | N/A | 203 | 204 | 24 | 0.945 | 20 | 0.787 | 2525 |
23 | M6 x 1.0 | 205 | 852 | N/A | 203 | 204 | 24 | 0.945 | 20 | 0.787 | 2524 |
24 | M6 x 1.0 | 205 | 201 | 202 | 203 | 204 | 20 | 0.787 | 16 | 0.630 | 2821 |
25 | M6 x 1.0 | 205 | 852 | N/A | 203 | 204 | 24 | 0.945 | 20 | 0.787 | 2527 |
26 | M6 x 1.0 | 205 | 852 | N/A | 203 | 204 | 24 | 0.945 | 20 | 0.787 | 2526 |
27 | M6 x 1.0 | 205 | 201 | 202 | 203 | 204 | 20 | 0.787 | 16 | 0.630 | 2818 |
28 | M6 x 1.0 | 205 | 201 | 202 | 203 | 204 | 20 | 0.787 | 16 | 0.630 | 2822 |
29 | M6 x 1.0 | 205 | 852 | N/A | 203 | 204 | 24 | 0.945 | 20 | 0.787 | 2529 |
30 | M6 x 1.0 | 205 | 852 | N/A | 203 | 204 | 24 | 0.945 | 20 | 0.787 | 2528 |
31 | M6 x 1.0 | 205 | 201 | 202 | 203 | 204 | 20 | 0.787 | 16 | 0.630 | 2819 |
32 | M6 x 1.0 | 205 | 201 | 202 | 203 | 204 | 20 | 0.787 | 16 | 0.630 | 2823 |
33 | M8 x 1.25 | 210 | 206 | 207 | 208 | 209 | 25 | 0.984 | 20 | 0.787 | 2621 |
34 | M8 x 1.25 | 210 | 206 | 207 | 208 | 209 | 25 | 0.984 | 20 | 0.787 | 2622 |
35 | M8 x 1.25 | 854 No Flange | 853 | N/A | 208 | 209 | 25 | 0.984 | 20 | 0.787 | 2541 |
36 | M8 x 1.25 | 854 No Flange | 853 | N/A | 208 | 209 | 25 | 0.984 | 20 | 0.787 | 2540 |
37 | M6 x 1.0 | 210 | 206 | 207 | 208 | 209 | 20 | 0.787 | 16 | 0.630 | 2814 |
38 | M6 x 1.0 | 205 | 852 | N/A | 203 | 204 | 24 | 0.945 | 20 | 0.787 | 2519 |
39 | M6 x 1.0 | 205 | 852 | N/A | 203 | 204 | 24 | 0.945 | 20 | 0.787 | 2518 |
40 | M6 x 1.0 | 210 | 206 | 207 | 208 | 209 | 20 | 0.787 | 16 | 0.630 | 2711 |
41 | M6 x 1.0 | 210 | 206 | 207 | 208 | 209 | 20 | 0.787 | 16 | 0.630 | 2813 |
42 | M6 x 1.0 | 205 | 852 | N/A | 203 | 204 | 24 | 0.945 | 20 | 0.787 | 2517 |
43 | M6 x 1.0 | 205 | 852 | N/A | 203 | 204 | 24 | 0.945 | 20 | 0.787 | 2516 |
Service Call Out | Thread Size | Insert | Drill | Counterbore Tool | Tap | Driver | Drill Depth (Maximum) | Tap Depth (Maximum) | Engineering Hole Number | ||
|---|---|---|---|---|---|---|---|---|---|---|---|
J 42385- | MM | (IN) | MM | (IN) | |||||||
1 | M6 x 1.0 | 205 | 201 | 202 | 203 | 204 | 20 | 0.787 | 16 | 0.630 | 4117 |
2 | M6 x 1.0 | 205 | 201 | 202 | 203 | 204 | 20 | 0.787 | 16 | 0.630 | 4116 |
3 | M6 x 1.0 | 205 | 201 | 202 | 203 | 204 | 20 | 0.787 | 16 | 0.630 | 4115 |
4 | M6 x 1.0 | 205 | 201 | 202 | 203 | 204 | 20 | 0.787 | 16 | 0.630 | 4114 |
5 | M6 x 1.0 | 205 | 201 | 202 | 203 | 204 | 20 | 0.787 | 16 | 0.630 | 4113 |
6 | M6 x 1.0 | 205 | 201 | 202 | 203 | 204 | 20 | 0.787 | 16 | 0.630 | 4112 |
7 | M6 x 1.0 | 205 | 201 | 202 | 203 | 204 | 20 | 0.787 | 16 | 0.630 | 4111 |
8 | M6 x 1.0 | 205 | 201 | 202 | 203 | 204 | 20 | 0.787 | 16 | 0.630 | 4110 |
9 | M6 x 1.0 | 205 | 201 | 202 | 203 | 204 | 20 | 0.787 | 16 | 0.630 | 4118 |
Service Call Out | Thread Size | Insert | Drill | Counterbore Tool | Tap | Driver | Drill Depth (Maximum) | Tap Depth (Maximum) | Engineering Hole Number | ||
|---|---|---|---|---|---|---|---|---|---|---|---|
J 42385- | MM | (IN) | MM | (IN) | |||||||
1 | M8 x 1.25 | 210 | 206 | 207 | 208 | 209 | 25 | 0.984 | 20 | 0.78 | 3118 |
2 | M8 x 1.25 | 210 | 206 | 207 | 208 | 209 | 25 | 0.984 | 20 | 0.78 | 3119 |
3 | M8 x 1.25 | 210 | 206 | 207 | 208 | 209 | 25 | 0.984 | 20 | 0.78 | 3210 |
4 | M27 x 2.0 | N/A | N/A | N/A | N/A | N/A | THRU | 12 | 0.78 | 3810 | |
5 | M8 x 1.25 | 210 | 206 | 207 | 208 | 209 | 25 | 0.984 | 20 | 0.78 | 3110 |
6 | M8 x 1.25 | 210 | 206 | 207 | 208 | 209 | 25 | 0.984 | 20 | 0.78 | 3111 |
7 | M8 x 1.25 | 210 | 206 | 207 | 208 | 209 | 25 | 0.984 | 20 | 0.78 | 3112 |
8 | M8 x 1.25 | 210 | 206 | 207 | 208 | 209 | 25 | 0.984 | 20 | 0.78 | 3113 |
9 | M8 x 1.25 | 210 | 206 | 207 | 208 | 209 | 25 | 0.984 | 20 | 0.78 | 3114 |
10 | M8 x 1.25 | 210 | 206 | 207 | 208 | 209 | 25 | 0.984 | 20 | 0.78 | 3115 |
11 | M6 x 1.0 | 205 | 201 | 202 | 203 | 204 | 20 | 0.78 | 16 | 0.630 | 3310 |
12 | M8 x 1.25 | 210 | 206 | 207 | 208 | 209 | 25 | 0.984 | 20 | 0.78 | 3116 |
13 | M8 x 1.25 | 210 | 206 | 207 | 208 | 209 | 25 | 0.984 | 20 | 0.78 | 3610 |
14 | M8 x 1.25 | 210 | 206 | 207 | 208 | 209 | 25 | 0.984 | 20 | 0.78 | 3117 |
Service Call Out | Thread Size | Insert | Drill | Counterbore Tool | Tap | Driver | Drill Depth (Maximum) | Tap Depth (Maximum) | Engineering Hole Number | ||
|---|---|---|---|---|---|---|---|---|---|---|---|
J 42385- | MM | (IN) | MM | (IN) | |||||||
1 | M8 x 1.25 | 210 | 206 | 207 | 208 | 209 | 25 | 0.984 | 20 | 0.787 | 6310 |
2 | M6 x 1.0 | 205 | 201 | 202 | 203 | 204 | 20 | 0.787 | 16 | 0.630 | 6210 |
Service Call Out | Thread Size | Insert | Drill | Counterbore Tool | Tap | Driver | Drill Depth (Maximum) | Tap Depth (Maximum) | Engineering Hole Number | ||
|---|---|---|---|---|---|---|---|---|---|---|---|
J 42385- | MM | (IN) | MM | (IN) | |||||||
1 | M12 x 1.75 | 865 | 856 | 857 | 858 | 859 | 17 | 0.670 | 14 | 0.551 | 5011 |
2 | M12 x 1.75 | 865 | 856 | 857 | 858 | 859 | 17 | 0.670 | 14 | 0.551 | 5010 |
3 | M8 x 1.25 | 210 | 206 | 207 | 208 | 209 | 25 | 0.984 | 20 | 0.787 | 5031 |
4 | M8 x 1.25 | 210 | 206 | 207 | 208 | 209 | 25 | 0.984 | 20 | 0.787 | 5030 |
5 | M12 x 1.75 | 865 | 856 | 857 | 858 | 859 | 17 | 0.670 | 14 | 0.551 | 5310 |
6 | M12 x 1.75 | 865 | 856 | 857 | 858 | 859 | 17 | 0.670 | 14 | 0.551 | 5020 |
7 | M8 x 1.25 | 210 | 206 | 207 | 208 | 209 | 25 | 0.984 | THRU | 5111 | |
8 | M8 x 1.25 | 854 No Flange | 206 | 207 | 208 | 209 | 25 | 0.984 | THRU | 5110 | |
Note: 1, 2, 5, 6 holes are oil passages.
Service Call Out | Thread Size | Insert | Drill | Counterbore Tool | Tap | Driver | Drill Depth (Maximum) | Tap Depth (Maximum) | Engineering Hole Number | ||
|---|---|---|---|---|---|---|---|---|---|---|---|
J 42385- | MM | (IN) | MM | (IN) | |||||||
1 | M12 x 1.75 | 865 | 856 | 857 | 858 | 859 | 17 | 0.670 | 14 | 0.551 | 1510 |
2 | N/A | N/A | N/A | N/A | N/A | N/A | N/A | N/A | N/A | N/A | 1213 |
3 | N/A | N/A | N/A | N/A | N/A | N/A | N/A | N/A | N/A | N/A | 1212 |
4 | N/A | N/A | N/A | N/A | N/A | N/A | N/A | N/A | N/A | N/A | 1211 |
5 | N/A | N/A | N/A | N/A | N/A | N/A | N/A | N/A | N/A | N/A | 1210 |