GM Service Manual Online
For 1990-2009 cars only

Alcohol/Contaminants-in-Fuel Diagnosis w/o Special Tool

Water contamination in the fuel system may cause driveability conditions such as hesitation, stalling, no start, or misfires in one or more cylinders. Water may collect near a single fuel injector at the lowest point in the fuel rail, and cause a misfire in that cylinder. If the fuel system is contaminated with water, inspect the fuel system components for rust, or deterioration.

Alcohol concentrations of 10 percent or greater in fuel can be detrimental to fuel system components. Alcohol contamination may cause fuel system corrosion, deterioration of rubber components, and subsequent fuel filter restriction. Fuel contaminated with alcohol may cause driveability conditions such as hesitation, lack of power, stalling, or no start. Some types of alcohol are more detrimental to fuel system components than others.

Alcohol in Fuel Testing Procedure

The fuel sample should be drawn from the bottom of the tank so that any water present in the tank will be detected. The sample should be bright and clear. If alcohol contamination is suspected then use the following procedure to test the fuel quality.

  1. Using a 100 ml specified cylinder with 1 ml graduation marks, fill the cylinder with fuel to the 90 ml mark.
  2. Add 10 ml of water in order to bring the total fluid volume to 100 ml and install a stopper.
  3. Shake the cylinder vigorously for 10 to 15 seconds.
  4. Carefully loosen the stopper in order to release the pressure.
  5. Re-install the stopper and shake the cylinder vigorously again for 10 to 15 seconds.
  6. Put the cylinder on a level surface for approximately 5 minutes in order to allow adequate liquid separation.

If alcohol is present in the fuel, the volume of the lower layer (which would now contain both alcohol and water) will be more than 10 ml. For example, if the volume of the lower layer is increased to 15 ml, this indicates at least 5 percent alcohol in the fuel. The actual amount of alcohol may be somewhat more because this procedure does not extract all of the alcohol from the fuel.

Particulate Contaminants in Fuel Testing Procedure

The fuel sample should be drawn from the bottom of the tank so that any water present in the tank will be detected. The sample should be bright and clear. If the sample appears cloudy, or contaminated with water (as indicated by a water layer at the bottom of the sample) use the following procedure to diagnose the fuel.

  1. Using an approved fuel container, draw approximately 0.5 liter of fuel.
  2. Place the cylinder on a level surface for approximately 5 minutes in order to allow settling of the particulate contamination.

Particulate contamination will show up in various shapes and colors. Sand will typically be identified by a white or light brown crystals. Rubber will appear as black and irregular particles. If particles are found clean the entire fuel system thoroughly. Refer to Fuel System Cleaning .

Alcohol/Contaminants-in-Fuel Diagnosis w/ Special Tool

Test Description

Fuel quality can effect vehicle performance. Gasoline and gasoline blends that are contaminated or contain excessive amounts of alcohol can effect vehicle driveability, fuel economy, fuel system components and emissions. Excessive alcohol in the fuel may cause fuel system corrosion, deterioration of rubber components, and subsequent fuel filter restriction. Some types of alcohol are more detrimental to fuel system components than others. Ethanol is commonly used in gasoline, but in concentrations of no more than 10 percent. Some fuels, such as E85, contain a very high percent of ethanol. Fuel with more than 15 percent ethanol may cause driveability conditions in vehicles such as hesitation, lack of power, stalling, or no start. If excessive alcohol in the fuel is suspected, then use the following procedure to test the fuel quality.

Test Procedure

Caution: Wrap a shop towel around the fuel pressure connection in order to reduce the risk of fire and personal injury. The towel will absorb any fuel leakage that occurs during the connection of the fuel pressure gage. Place the towel in an approved container when the connection of the fuel pressure gage is complete.

  1. Turn ON the J 44175 fuel composition tester.
  2. Verify the fuel composition tester is operational by measuring the AC frequency output with a DMM. Refer to Measuring Frequency in Wiring Systems. A frequency without a fuel sample in the test cell indicates that the tester is working correctly.
  3. Install the fuel pressure gage. Refer to Fuel Pressure Gage Installation and Removal .

  4. Object Number: 735579  Size: SH

    Important: It will be necessary to bleed the fuel pressure gage a few times in order to obtain an accurate fuel sample.

  5. Close the bleed valve on the fuel pressure gage.
  6. Place the bleed hose of the fuel pressure gage into the 100 ml beaker.
  7. Command the fuel pump ON with a scan tool.
  8. Slowly open the bleed valve on the fuel pressure gage, until an adequate fuel sample is obtained.
  9. If water appears in the fuel sample, clean the fuel system and replace the fuel in the vehicle. Refer to Fuel System Cleaning .

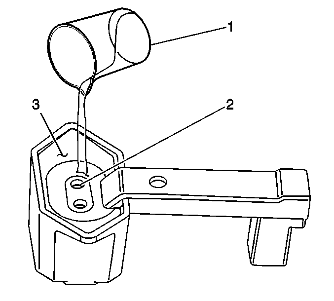
  10. Object Number: 735580  Size: SH

    Important: Do not allow any substances other than gasoline, ethanol/gasoline blends, air, or acetone into the test ports of the fuel composition tester. Contaminants in the fuel composition tester could result in misdiagnosis.

  11. Pour the fuel sample from the beaker (1) into the J 44175 fuel composition tester, until the level of the fuel is at the top of each fuel test port (2).
  12. Observe the diagnostic LEDs on the fuel composition tester.
  13. If the red fuel diagnostic LED is illuminated, a fuel contamination condition exists. Refer to Fuel System Cleaning .

  14. Measure the output frequency of the fuel composition tester.
  15. Subtract 50 from the reading on the DMM to obtain the percentage of alcohol in the fuel sample. Refer to the examples in the following table.
  16. If the fuel sample contains more than 15 percent ethanol, replace the fuel in the vehicle .

Fuel Composition Test Examples

--

Frequency (Hz)

Subtract 50

Ethanol Percent

Example A

50 Hz

-50

0

Example B

65 Hz

-50

15

Example C

129 Hz

-50

79