GM Service Manual Online
For 1990-2009 cars only
Makes
🢒
Generic
🢒
2002
🢒
Unit Repair
🢒
Transmission/Transaxle
🢒
Automatic Transmission - 4L80-E
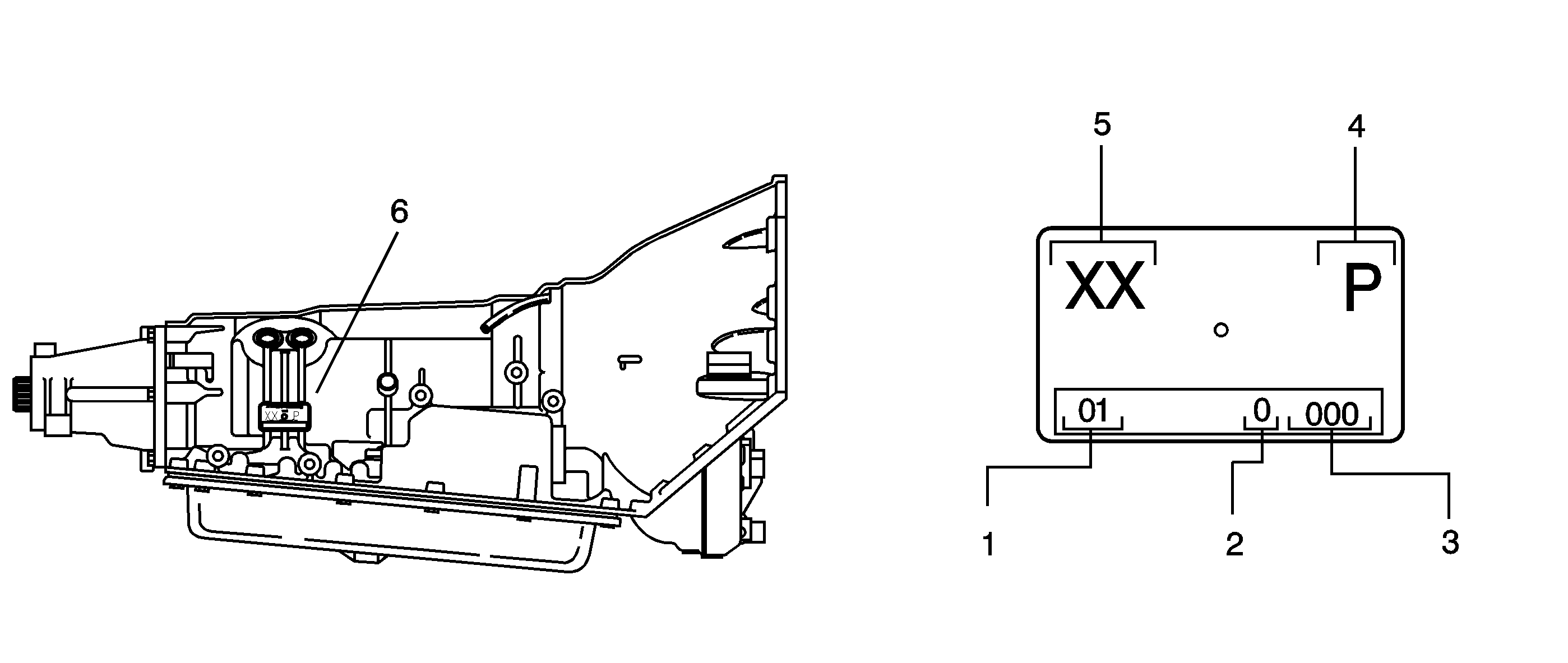
🢒 Transmission Identification Information
(1)
Calendar Year
(2)
Julian Date of the Year
(3)
Shift and Line Number
(4)
Plant
(5)
Model
(6)
Location on Transmission