GM Service Manual Online
For 1990-2009 cars only

Removal Procedure


    Object Number: 40608  Size: SH
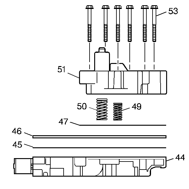
  1. Remove the 3rd and 4th clutch accumulator housing bolts (53).
  2. Remove the 3rd and 4th clutch accumulator housing (51).
  3. Remove the accumulator housing gasket (47). The accumulator housing gasket may be stuck to the spacer plate (46).
  4. Remove the 3rd clutch accumulator piston spring (50).
  5. Remove the 4th clutch accumulator piston spring  (49).
  6. Remove the control valve body spacer plate (46).
  7. Remove the control valve assembly to spacer plate gasket (45) from the spacer plate (46).

Installation Procedure

Tools Required

J 25025-5 Guide Pin


    Object Number: 40634  Size: SH
  1. Install the J 25025-5 into the control valve body bolt hole where the manual shaft detent roller and spring assembly is mounted.
  2. Install the control valve body gasket (45).
  3. Install the control valve body spacer plate (46).

  4. Object Number: 40635  Size: SH
  5. Install the third and fourth clutch accumulator housing gasket (47).
  6. Install the third clutch accumulator piston spring (50). This spring is the longer of the two springs.
  7. Install the fourth clutch accumulator piston spring (49).
  8. Install the third and fourth clutch accumulator housing assembly (51) onto the control valve body assembly (44).
  9. Install the six accumulator housing bolts (53). Start the bolts finger tight and work towards the opposite end.

  10. Object Number: 54703  Size: SH

    Notice: Use the correct fastener in the correct location. Replacement fasteners must be the correct part number for that application. Fasteners requiring replacement or fasteners requiring the use of thread locking compound or sealant are identified in the service procedure. Do not use paints, lubricants, or corrosion inhibitors on fasteners or fastener joint surfaces unless specified. These coatings affect fastener torque and joint clamping force and may damage the fastener. Use the correct tightening sequence and specifications when installing fasteners in order to avoid damage to parts and systems.

  11. Tighten the accumulator housing bolts sequentially.
  12. Tighten
    Tighten the accumulator housing bolts sequentially to 11 N·m (97 lb in).

  13. Remove the J 25025-5 .