GM Service Manual Online
For 1990-2009 cars only
Figure 1:

Case and Components -1 of 2


Object Number: 782133  Size: LF
(1)Torque Converter Assembly
(2)Torque Converter and Differential Housing Seal Assembly
(3)Front Wheel Drive Shaft Oil Seal Assembly - 2WD
(3a)Front Wheel Drive Shaft Oil O-Ring Seal - F4WD
(4)Torque Converter and Differential Housing Assembly - Model Specific
(5)Torque Converter and Differential Housing Bolt/Screw - M8 x 1.25 x 35
(6)Variable Driven Pulley Bearing Assembly
(7)Front Differential Drive Pinion Gear Shim
(8)Front Differential Drive Pinion Gear Bearing Cup
(9)Front Differential Drive Pinion Gear Assembly
(10)Automatic Transmission Case Plug
(11)Transmission Fluid Baffle
(12)Transmission Fluid Baffle Bolt/Screw - M6 x 1.0 x 17
(13)Front Differential Bearing Shim
(14)Front Differential Carrier Bearing Cup
(15)Drive Link Assembly
(16)Driven Sprocket Retaining Ring
(17)Driven Sprocket
(18)Automatic Transmission Fluid Pump O-Ring Seal
(19)Automatic Transmission Fluid Pump Bolt/Screw - M6 x 1.0 x 55
(20)Bolt/Screw - M6 x 1.0 x 70
(21)Automatic Transmission Fluid Filter Retainer
(23)Automatic Transmission Fluid Pump Assembly
(25)Automatic Transmission Fluid Pump Seal
(26)Automatic Transmission Fluid Filter Assembly
(27)Automatic Transmission Fluid Filter O-Ring Seal
(28)Automatic Transmission Fluid Filter O-Ring Seal
(29)Drive Sprocket Thrust Washer
(29)Drive Sprocket Thrust Washer
(30)Drive Sprocket
(32)Front Differential Carrier Assembly
(33)Park Pawl Shaft Hole Plug
(34)Park Pawl Actuator Guide Pin
(35)Park Pawl Reaction Pin
(36)Park Pawl
(37)Park Pawl Spring
(38)Park/Neutral Position Switch Assembly Bolt/Screw - M6 x 1.0 x 18.4
(39)Park/Neutral Position Switch Assembly
(40)Manual Shift Shaft
(41)Manual Shift Shaft Seal Assembly
(42)Park Pawl Actuator Guide
(43)Park Pawl Actuator Assembly
(44)Manual Shift Shaft Retainer
(45)Manual Shaft Detent Lever
(46)Manual Shift Shaft Nut
(47)Manual Valve Link
(48)Manual Valve Link Spring
(49)Transmission Case Locator Pin
(50)Automatic Transmission Case Assembly
(51)Transmission Fluid Fill Lower Tube Seal
(52)Transmission Fluid Fill Lower Tube
(53)Transmission Fluid Fill Lower Tube Plug
(54)Transmission Fluid Cooler Pipe Fitting Seal
(55)Automatic Transmission Fluid Pressure Test Hole Plug
(56)Transmission Fluid Baffle - Top
(57)Transmisssion Fluid Baffle - Bottom
(58)Transmission Fluid Baffle Bolt/Screw - M5 x 0.8 x 13
Figure 2:

Case and Components - 2 of 2


Object Number: 782137  Size: LF
(49)Transmission Case Locator Pin
(50)Automatic Transmission Case Assembly
(60)Control Valve Body Cover Bolt/Screw - M6 x 1.0 x 25
(61)Automatic Transmission Vent Cap
(62)Automatic Transmission Vent Cap O-Ring
(63)Automatic Transmission Vent Cap Insert
(64)Automatic Transmission Vent Cap Insert O-Ring
(67)Control Valve Body Cover
(68)Control Valve Body Cover Gasket
(69)Manual Shaft Detent Assembly Bolt/Screw - M6 x 1.0 x 30
(70)Manual Shaft Detent Assembly
(71)Control Valve Body Bolt/Screw - M6 x 1.0 x 80
(72)Control Valve Body Assembly
(73)Control Valve Body Spacer - with Gasket - Plate
(74)Automatic Transmission Input and Output Speed Sensor Assembly
(75)Bolt/Screw - M6 x 1.0 x 17
(76)Control Valve Body Locator Pin
(77)Automatic Transmission Case Cover - O-Ring - Seal
(78)Lube Oil Pipe
(79)Control Valve Body Bolt/Screw - M5 x 0.8 x 78
(80)Stator Shaft Seal
(81)Stator Shaft Assembly
(82)Reverse Clutch Piston Assembly
(83)Reverse Clutch Spring Assembly
(84)Reverse Clutch Spring Retaining Ring
(85)Reverse Clutch Hub Thrust Washer
(86)Reverse Clutch - with Input Internal Gear - Hub Assembly
(87)Reverse Clutch - Waved - Plate
(88)Reverse Clutch Plate Assembly - Spline OD
(89)Reverse Clutch Plate Assembly - Spline ID
(90)Reverse Clutch Plate Set
(91)Reverse Clutch Backing Plate
(92)Reverse Clutch Backing Plate Retaining Ring
(93)Variable Drive Pulley Assembly
(94)Variable Drive Pulley Follower Pin
(95)Variable Drive Pulley Follower
(96)Variable Drive Pulley Follower Spring
(97)Automatic Transmission Case Cover Assembly
(98)Variable Drive Pulley Opening Cover Seal
(99)Variable Drive Pulley Bearing Retaining Ring
(100)Variable Drive Pulley Bearing Retainer
(101)Variable Drive Pulley Bearing Retainer Nut - M6 x 1.0
(102)Variable Drive Pulley Opening Cover Seal
(103)Automatic Transmission Case Cover Seal
(104)Variable Drive Pulley Opening Cover
(105)Variable Pulley Opening Cover Bolt/Screw - M6 x 1.0 x 25
(106)Variable Driven Pulley Assembly
(107)Variable Drive Belt Assembly
(108)Automatic Transmission Case Cover Bolt/Screw - M8 x 1.25 x 40
(109)Variable Driven Pulley Opening Cover Seal
(110)Automatic Transmission Case Cover - O-Ring - Seal
(111)Variable Driven Pulley Bearing Retainer - Selective
(112)Variable Driven Pulley Bearing Retainer Bolt/Screw - M6 x 1.0 x 25
(113)Variable Driven Pulley Opening Cover Seal
(114)Variable Driven Pulley Opening Cover
(115)Variable Driven Pulley Opening Cover Bolt/Screw - M8 x 1.25 x 50
Figure 3:

Control Valve Body and Solenoid Assembly


Object Number: 781003  Size: LF
(200)Control Valve Body Cover Wiring Connector Hole Seal
(201)Control Solenoid Valve Assembly
(202)Manual Valve
(203)Automatic Transmission Fluid Pump Pressure Screen Assembly
(204)Control Valve Body Spacer - with Gasket - Plate Assembly
(205)Control Valve Body Ball Check Valve
(206)Control Solenoid Valve Locator Pin
(207)Control Valve Body Assembly
(208)Bore Plug Retainer
(209)Bore Plug
(210)Bore Plug Seal
(211)Line 2 Pressure Regulator Valve Spring
(212)Line 2 Pressure Regulator Valve
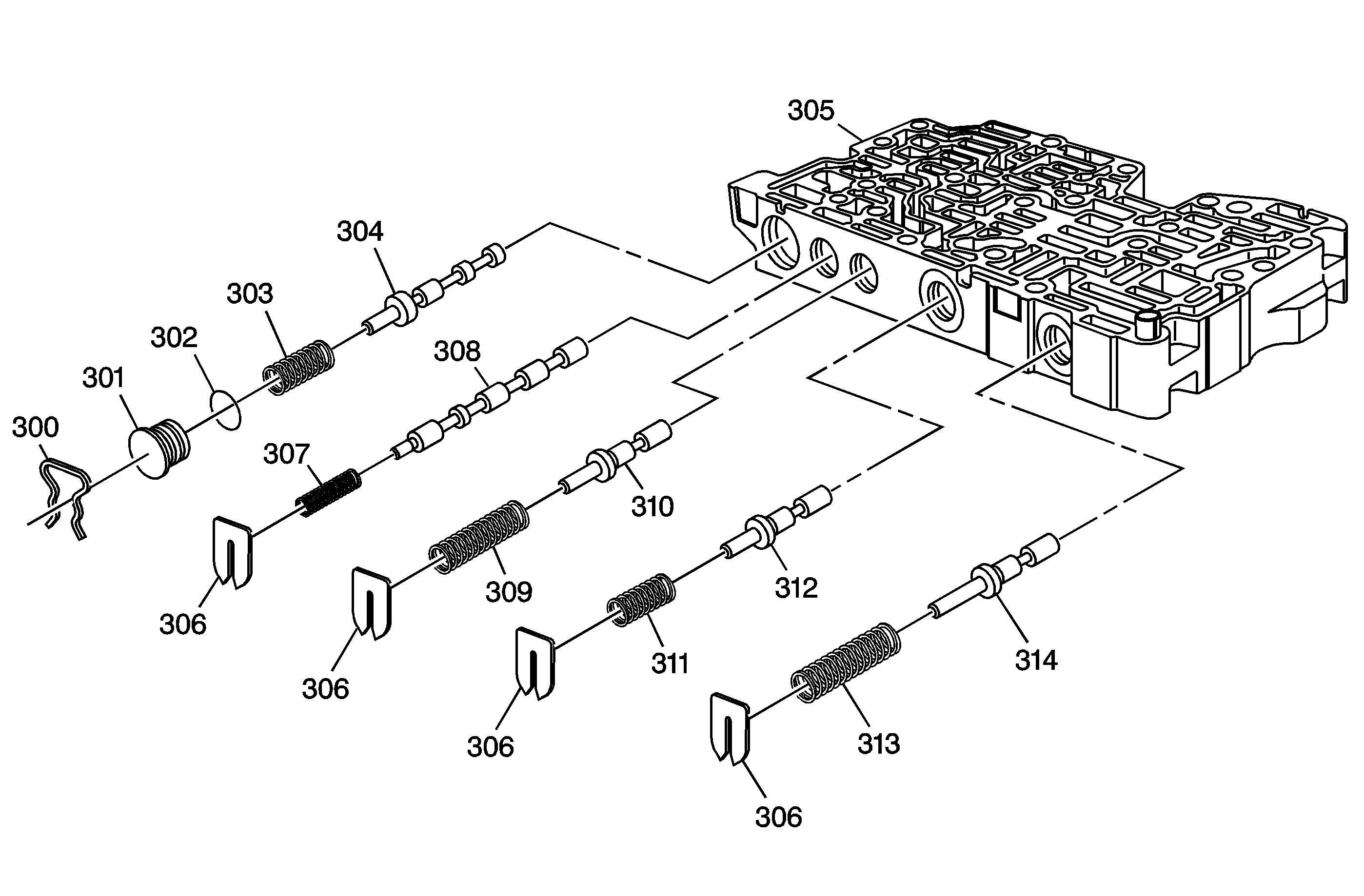
Figure 4:

Control Valve Body Disassembled View - 1 of 2


Object Number: 781004  Size: MF
(300)Bore Plug Retainer
(301)Bore Plug
(302)Bore Plug Seal
(303)Forward and Reverse Clutch Valve Spring
(304)Forward and Reverse Clutch Valve
(305)Control Valve Body
(306)Valve Spring Seat
(307)TCC Control Valve Spring
(308)TCC Control Valve
(309)Line Limit Valve Spring
(310)Line Limit Valve
(311)Actuator Feed Limit Valve Spring
(312)Actuator Feed Limit Valve
(313)Primary Limit Valve Spring
(314)Primary Limit Valve
Figure 5:

Control Valve Body Disassembled View - 2 of 2


Object Number: 781006  Size: MF
(206)Control Solenoid Valve Locator Pin
(300)Bore Plug Retainer
(301)Bore Plug
(302)Bore Plug Seal
(305)Control Valve Body
(315)Line 1 Pressure Regulator Valve Spring
(316)Line 1 Pressure Regulator Valve
(317)Variable Ratio Control Valve Lever Assembly
(318)Variable Ratio Control Valve Spring
(319)TCC Regulator Valve
(320)TCC Regulator Apply Valve Spring
(321)Clutch Boost Valve Spring
(322)Clutch Boost Valve
Figure 6:

Transmission Fluid Pump Disassembled View


Object Number: 781007  Size: LF
(400)End Cover Retaining Ring
(401)Pump End Cover
(402)Pump End Cover O-Ring Seal
(403)Pressure Plate Spring
(404)Pressure Plate
(405)Cam Ring
(406)Pump Drive Shaft Retaining Ring
(407)Pump Rotor Vane
(408)Pump Rotor
(409)Pump Thrust Plate
(410)Cam Ring Dowel Pin
(411)Pump O-Ring Seal - Inner
(412)Pump Housing
(413)Pressure Relief Assembly
(414)Pump Drive Shaft
(415)Pump Drive Shaft Seal
Figure 7:

Input Shaft and Forward Clutch Assembly


Object Number: 781008  Size: LF
(500)Variable Drive Pulley Assembly
(501)Forward Clutch Piston Assembly
(502)Forward Clutch Piston - Belleville - Spring
(503)Forward Clutch Spring Washer - Some Models
(503)Forward Clutch Spring Washer - Some Models
(504)Forward Clutch Piston Spring Retaining Ring
(505)Sun Gear
(506)Sun Gear Thrust Washer
(507)Input Shaft Bearing Assembly - Inner
(508)Input Shaft Fluid Passage Sleeve
(509)Input Shaft Assembly
(510)Input Shaft Bearing Assembly - Outer
(511)Input Shaft Fluid Seal Ring
(512)Input Shaft - O-Ring - Seal
(513)Input Shaft - Split Spiral - Fluid Seal Ring
(514)Forward Clutch - Waved - Plate
(515)Forward Clutch Plate Assembly - Spline OD
(515)Forward Clutch Plate Assembly - Spline OD
(516)Forward Clutch Plate Assembly - Spline ID
(516)Forward Clutch Plate Assembly - Spline ID
(517)Forward Clutch Backing Plate
(518)Forward Clutch Plate Set
(519)Forward Clutch Backing Plate Retaining Ring
(520)Input Internal Gear Thrust Washer
(521)Automatic Transmission Input Shaft Speed Sensor Reluctor Ring Assembly
(522)Automatic Transmission Input Shaft Speed Sensor Reluctor Ring Retaining Ring
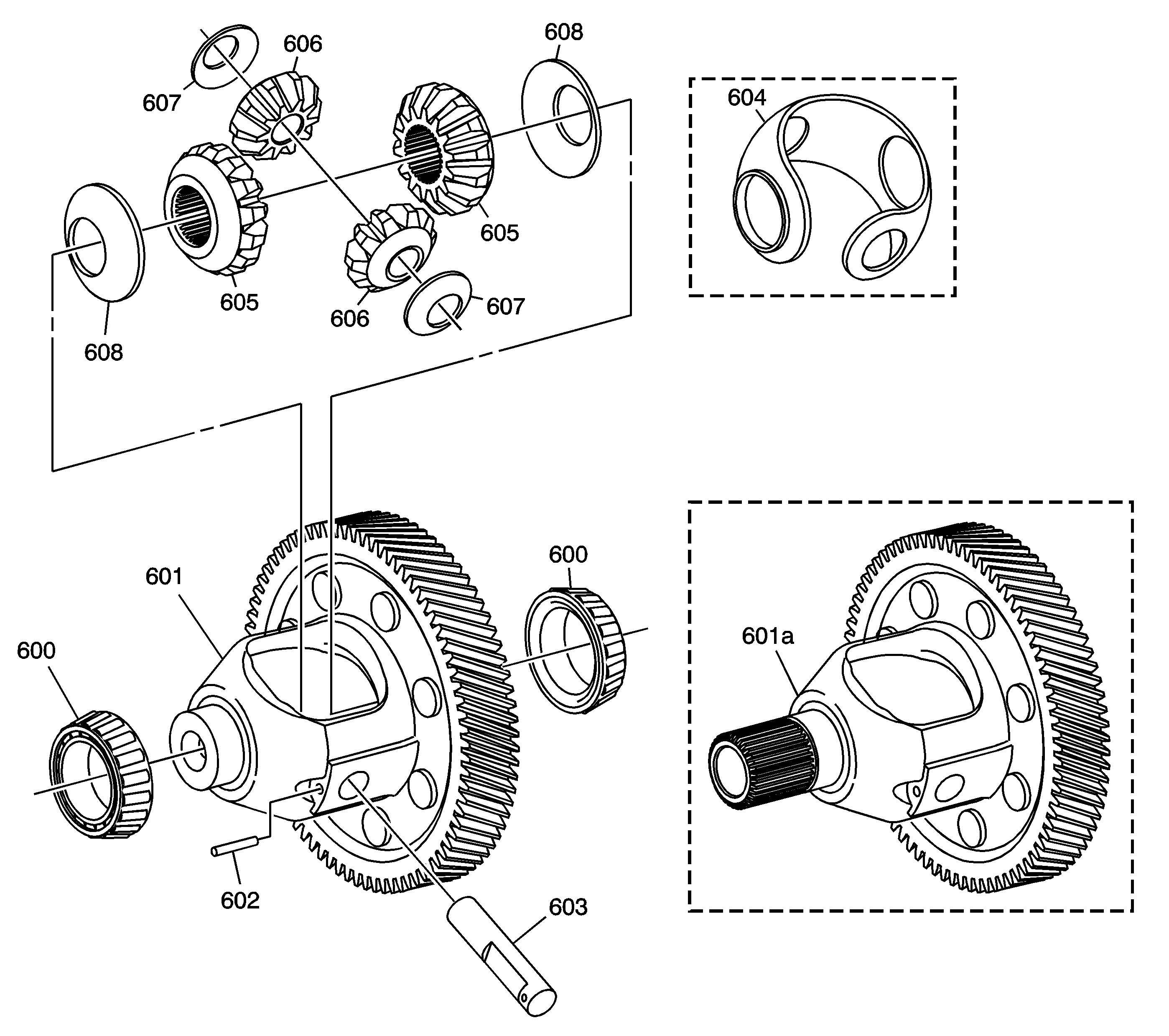
Figure 8:

Front Differential Carrier Assembly


Object Number: 781010  Size: LF
(600)Front Differential Carrier Bearing Assembly
(600)Front Differential Carrier Bearing Assembly
(601)Front Differential Carrier Assembly - 2WD
(601a)Front Differential Carrier Assembly - F4WD
(602)Front Differential Pinion Gear Shaft Pin
(603)Front Differential Pinion Shaft
(604)Front Differential Carrier Thrust Washer - Some Models
(605)Front Differential Side Gear
(605)Front Differential Side Gear
(606)Front Differential Pinion Gear
(606)Front Differential Pinion Gear
(607)Front Differential Pinion Gear Thrust Washer - Some Models
(607)Front Differential Pinion Gear Thrust Washer - Some Models
(608)Front Differential Side Gear Thrust Washer - Some Models
(608)Front Differential Side Gear Thrust Washer - Some Models
Figure 9:

Front Differential Transfer Gear Assembly


Object Number: 781014  Size: MF
(700)Front Differential Drive Pinion Gear Bearing Assembly
(701)Front Differential Drive Pinion Gear and Transfer Gear Assembly