- Inspect the pump housing
for damage. Ensure that the inside of the housing is free of any debris.
- Install a NEW outer O-ring
seal into the pump housing seal groove.
Important: Avoid twisting the square-cut seal during installation. Also
ensure that the seal is positioned so that it does not interfere with
the rectangular-shaped discharge port on the side of the pump housing.
- Install a NEW outer white square-cut seal onto the pump housing.
Push the seal flush against the housing shoulder.
Important: Using the J 36850
,
lubricate the pump drive shaft seal for ease of installation.
- Using the J 45198
,
install a NEW pump drive shaft seal into the pump housing.
Important: The inner pump O-ring seal fits into the second ID groove from
the pump end. The first ID groove from the pump end is for the end cover
retaining ring.
- Install a NEW inner O-ring seal into the pump housing seal groove.
- Apply the J 36850
to the ID of the O-ring seal.
- Install the 2 cam
ring dowel pins into the locating holes in the pump housing.
Important: The pump rotor vanes are symmetrical and may be assembled in any orientation.
- Inspect the thrust plate, pump rotor and pump rotor vanes for damage.
- Install the thrust plate
and rotor, with vanes, on the drive shaft.
Notice: Use care when mounting the drive shaft in the vise. Nicks or score marks
on the drive shaft could damage the pump.
- Mount the drive shaft and rotor in a vise.
- Using the J 45112-2
(1), size a NEW drive shaft retaining ring on the J 45112-1
(2).
Notice: Ensure that the drive shaft retaining ring is uniformly installed on
the drive shaft. A crooked or improperly installed retaining ring could damage
the pump.
- Using the J 45112-2
(1) and the J 45112-1
(2), install the drive shaft retaining ring into
the groove on the drive shaft.
Important: If an acceptable measurement is not obtained, install a NEW retaining
ring.
- Measure the OD of the installed retaining ring. The measurement should
be 12.54 mm (0.49 in) or less.
- Insert the drive shaft,
thrust plate and rotor as a unit into the pump housing. Align the two
holes in the thrust plate with the cam dowel pins.
Important: It is normal to have to overcome some resistance caused by the lip seal
on the sprocket end of the shaft.
- Push down on the shaft until the thrust plate and rotor are fully positioned
in the pump housing.
- Install the cam ring into
the pump housing, aligning the cam ring through-holes on the dowel
pins. Ensure that the cam ring inlet notches are aligned with the thrust
plate scallops.
- Install a NEW O-ring
seal into the pump end cover groove.
- Apply the J 36850
to the ID of the O-ring seal.
- Center the pressure plate, flat side down, on a flat block under an
arbor press.
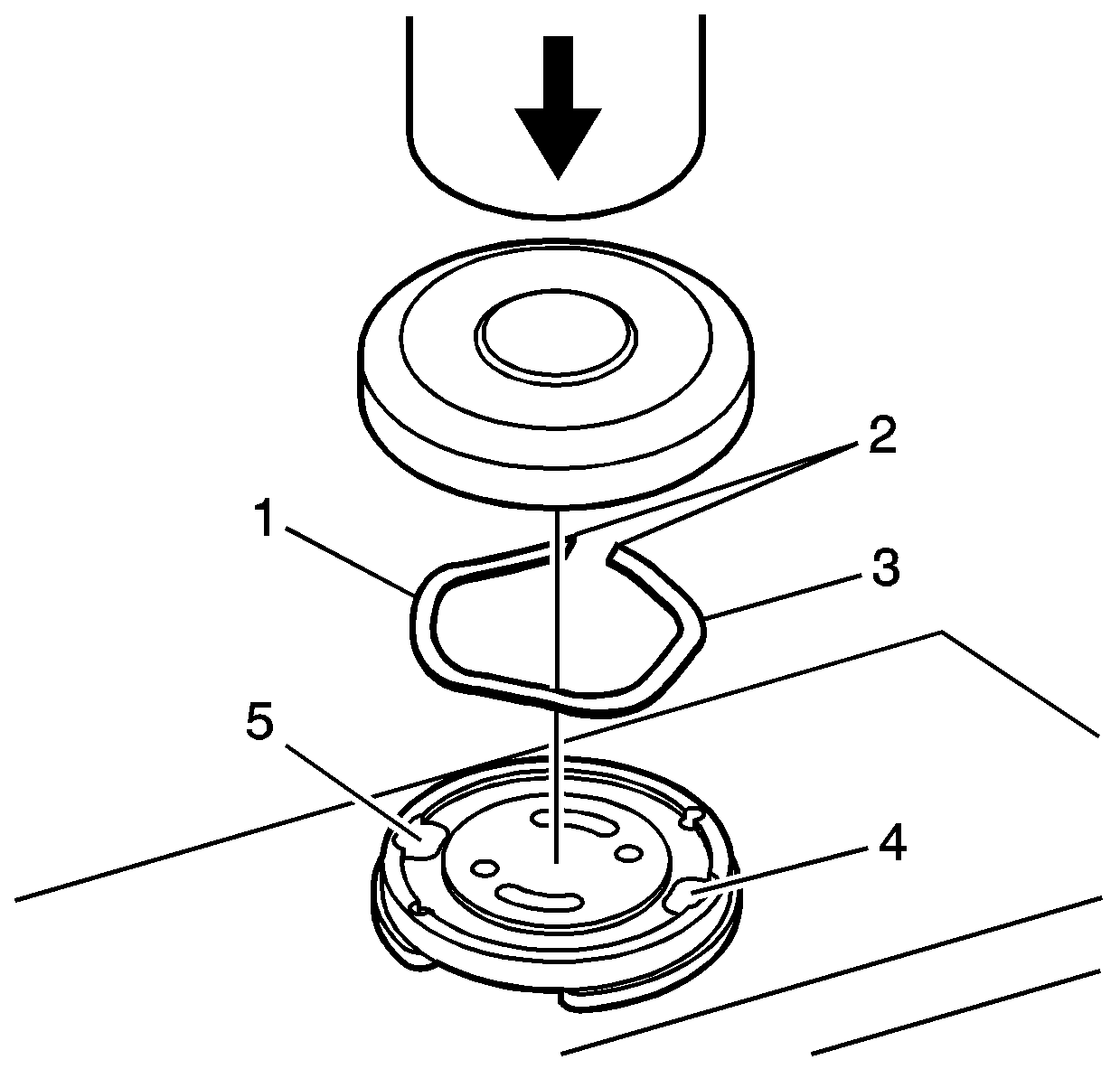
Important: The pressure plate spring must be positioned in the pressure plate so
that the free ends (2) are up and the higher areas (1 and
3) of the spring are located above the through-hole ports (4
and 5) in the pressure plate.
- Position the pressure plate spring into the groove on the top of the
pressure plate.
Important: The end cover must be pressed square to the pressure plate in order
to avoid cutting the O-ring seal.
- Using the arbor press, press the end cover on the pressure plate until
the O-ring seal is fully engaged onto the pressure plate outside
diameter.
- Inspect for any signs of a cut O-ring seal. If required,
repeat the assembly with a NEW O-ring seal.
- To aid in the assembly
of the end cover, use a permanent marker and mark the pump housing adjacent
to the cam ring dowel pins.
- Mark the end cover adjacent to the dowel pin holes located in
the pressure plate.
- Position the end cover and pressure plate assembly in the pump
housing, aligning the through-holes in the pressure plate with
the dowel pins.
- Verify the correct orientation of the end cover into the pump
housing by using the marks (1) made in Steps 23 and 24.
Notice: Do not position the pump assembly on the inlet face. Damage to the inlet
face may cause the pump assembly to become inoperative.
- Position the pump assembly on an arbor press so that the
pump drive shaft end is face-down and the pump assembly is resting
on its outer diameter rim face.
- Position the end cover retaining ring onto the end of the pump.
- Center the arbor press over the pump end cover.
- Using the arbor press, apply a light load to the pump end cover
in order to install the end cover retaining ring.
Notice: Use care when installing the end cover retaining ring. Damage to the
pump housing groove may cause the pump to become inoperable.
Important: When installing the end cover retaining ring, locate the open end of
the retaining ring opposite of the retaining ring access hole in the pump
housing.
- Using a small screwdriver, install the end cover retaining ring into
the pump housing groove.
- Release the arbor press load from the pump end cover.
- Rotate the drive shaft by hand in order to ensure that the pump
rotates freely.
Important: If an acceptable measurement is not obtained, install a NEW retaining
ring.
- Measure the inside diameter of the installed end cover retaining ring
in the following 3 places:
| • | At approximately 6 mm (0.24 in) from each end of
the retaining ring |
| • | At 90 degrees from the retaining ring end gap. |
Cover Retaining Ring Specification
The measurement for each should be 60.74 mm (2.39 in)
or more.