GM Service Manual Online
For 1990-2009 cars only

Tools Required

    • J 8092 Universal Driver Handle
    • J 22912-B Split Plate Bearing Puller
    • J 35512 Inner Pinion Bearing Installer
    • J 43076 Carrier Bearing and Cup Installer
    • J 44719 Carrier Bearing Cup Installer - F4WD
    • J 45114 Bearing Cup Remover - F4WD
    • J 45124 Removal Bridge
    • J 45189 Bearing Remover
    • J 45191 Bearing Cup Remover - 2WD

    Object Number: 781302  Size: SH

    Notice: Bearings and cups must be replaced as a set. Do not replace a bearing without also replacing the corresponding cup, or replace a cup without replacing the corresponding bearing. Failure to replace both components may damage the front differential carrier assembly.

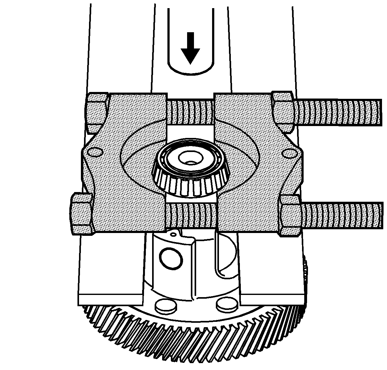
  1. Using the J 22912-B and an arbor press, remove the bearing assembly from the front differential carrier assembly - torque converter and differential housing side.

  2. Object Number: 781301  Size: SH

    Important: The front differential carrier assembly must be disassembled in order to use the J 45189 and remove the bearing assembly on the transmission case side.

  3. Disassemble the front differential carrier assembly. Refer to Front Differential Carrier Disassemble .
  4. Attach the J 45189 to the bearing assembly on the front differential carrier assembly - transmission case side.

  5. Object Number: 828623  Size: SH
  6. Using the J 45189 , a brass drift and a hammer, remove the bearing assembly from the front differential carrier assembly - transmission case side.

  7. Object Number: 781305  Size: SH
  8. Using the J 43076 and an arbor press, install the bearing assembly on the front differential carrier assembly - transmission case side.

  9. Object Number: 781307  Size: SH

    Important: Perform Step  6 for 2WD applications. Perform Step 7 for F4WD applications.

  10. Using the J 43076 and an arbor press, install the bearing assembly on the front differential carrier assembly - torque converter and differential housing side.

  11. Object Number: 781309  Size: SH
  12. Using the J 35512 and an arbor press, install the bearing assembly on the front differential carrier assembly - torque converter and differential housing side.

  13. Object Number: 781311  Size: SH
  14. Install the J 45191 into the front differential carrier bearing cup on the transmission case assembly.
  15. Using 2 wrenches, tighten the J 45191 .

  16. Object Number: 781325  Size: SH
  17. Using a wrench, the J 45191  (2) and the J 45124  (1), remove the front differential carrier bearing cup from the transmission case assembly.
  18. Important: The bearing shim is reusable.

  19. Remove the front differential carrier bearing shim from the transmission case assembly.

  20. Object Number: 781365  Size: SH
  21. Remove the 3 bolts and the transmission fluid baffle from the torque converter and differential housing assembly.

  22. Object Number: 781317  Size: SH

    Important: Use the J 45191 for 2WD applications. Use the J 45114 for F4WD applications.

  23. Install the J 45191 or the J 45114 into the front differential carrier bearing cup on the torque converter and differential housing assembly.
  24. Using the 2 wrenches, tighten the J 45191 or the J 45114 .

  25. Object Number: 781320  Size: SH
  26. Using a wrench, the J 45124 , the J 45191 or the J 45114 , remove the front differential carrier bearing cup from the torque converter and differential housing assembly.
  27. Important: The bearing shim is reusable.

  28. Remove the front differential carrier bearing shim from the torque converter and differential housing assembly.

  29. Object Number: 781315  Size: SH
  30. Install the front differential carrier bearing shim into the transmission case assembly.

  31. Object Number: 781326  Size: SH
  32. Using the J 8092  (1), the J 43076  (2) and a hammer, install the front differential carrier bearing cup into the transmission case assembly.

  33. Object Number: 781323  Size: SH
  34. Install the front differential carrier bearing shim into the torque converter and differential housing assembly.

  35. Object Number: 781331  Size: SH

    Important: Use the J 43076 for 2WD applications. Use the J 44719 for F4WD applications.

  36. Using the J 8092  (1), the J 43076  (2) or the J 44719  (2) and a hammer, install the front differential carrier bearing cup into the torque converter and differential housing assembly.

  37. Object Number: 781365  Size: SH

    Notice: Use the correct fastener in the correct location. Replacement fasteners must be the correct part number for that application. Fasteners requiring replacement or fasteners requiring the use of thread locking compound or sealant are identified in the service procedure. Do not use paints, lubricants, or corrosion inhibitors on fasteners or fastener joint surfaces unless specified. These coatings affect fastener torque and joint clamping force and may damage the fastener. Use the correct tightening sequence and specifications when installing fasteners in order to avoid damage to parts and systems.

  38. Install the transmission fluid baffle and the 3 bolts on the torque converter and differential housing assembly.
  39. Tighten
    Tighten the fluid baffle bolts to 11 N·m (8 lb ft).