GM Service Manual Online
For 1990-2009 cars only

Tools Required

    • J 6133-A Bearing Race Installer
    • J 22912-B Split Plate Bearing Puller
    • J 23456 Booster and Clutch Pack Compressor
    • J 36850 Assembly Lubricant
    • J 43060 Input Shaft (Inner) Bearing Installer
    • J 43063-1 Input Shaft Seal Protector
    • J 43063-2 Input Shaft Seal Pusher
    • J 43063-3 Input Shaft Seal Sizer
    • J 43074 Forward Clutch Piston Spring Compressor
    • J 43083 Input Shaft Holding Base
    • J 43084 Spiral Ring Installer
    • J 44939 Fluid Passage Sleeve Installer
    • J 44998 Input Shaft - Inner - Bearing Remover

    Object Number: 781055  Size: SH
  1. Inspect the forward clutch piston assembly for cuts, nicks or damage.

  2. Object Number: 780956  Size: SH

    Important: The forward clutch piston assembly may be carefully pressed into the drive pulley assembly by hand.

  3. Install the forward clutch piston assembly into the drive pulley assembly.
  4. Install the forward clutch spring washer - some models.
  5. Install the forward clutch piston spring.

  6. Object Number: 780969  Size: SH
  7. Using the J 23456  (1) and the J 43074  (2), compress the forward clutch piston spring.
  8. Install the forward clutch spring washer.
  9. Important: Ensure that the retaining ring is properly seated in the snap ring groove of the variable drive pulley assembly.

  10. Install the retaining ring for the forward clutch piston spring.
  11. Remove the J 23456 and the J 43074 .

  12. Object Number: 781056  Size: SH
  13. Inspect the input shaft carrier assembly for the following conditions:
  14. • Damaged or worn journals on the input shaft
    • Damaged or worn splines on the input shaft
    • Damaged or worn pinion gear teeth
    • Damaged or worn thrust washers
    • Proper pinion end play, refer to Input Shaft Carrier Pinion End Play Measurement

    Object Number: 781060  Size: SH
  15. Inspect the input shaft - inner - bearing assembly for damage or wear.

  16. Object Number: 781061  Size: SH

    Important: Perform steps 10 through 12 only if replacing the input shaft - inner - bearing assembly.

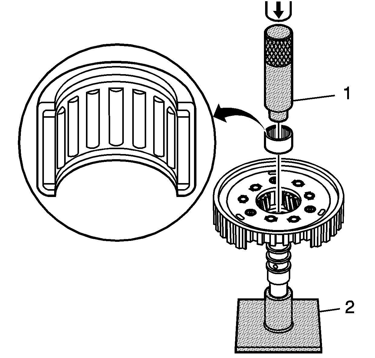
  17. With the input shaft installed into the J 43083  (2), tighten the J 44998  (1), into the input shaft - inner - bearing assembly.

  18. Object Number: 781377  Size: SH
  19. Using the J 43074  (1) and the J 44998  (2), remove the input shaft - inner - bearing assembly.

  20. Object Number: 781062  Size: SH

    Important: When installing the NEW input shaft - inner - bearing assembly, press the flat end of the bearing shell. The flat end of the bearing shell is slightly thicker than the other end.

  21. Using the J 43083  (2), J 43060  (1) and an arbor press, install a NEW input shaft - inner - bearing assembly.

  22. Object Number: 781063  Size: SH
  23. Inspect the input shaft - outer - bearing assembly for damage or wear.

  24. Object Number: 781064  Size: SH

    Important: Perform steps 14 and 15 only if replacing the input shaft - outer - bearing assembly.

  25. Using the J 22912-B and an arbor press, remove the input shaft - outer - bearing assembly.

  26. Object Number: 781065  Size: SH

    Important: The input shaft - outer - bearing must rotate freely after installation.

  27. Using the J 6133-A and an arbor press, install a NEW input shaft - outer - bearing assembly.

  28. Object Number: 781083  Size: SH
  29. Using the J 43083  (2), J 44939  (1) and a hammer, install a NEW fluid passage sleeve.

  30. Object Number: 780972  Size: SH

    Important: When installing the 3 teflon fluid seal rings onto the input shaft, begin with the seal closest to the input carrier assembly.

  31. Slide the J 43063-1  (2) over the input shaft and position the J 43063-1 at the appropriate seal groove. Coat the J 43063-1 with transmission fluid.
  32. Guide a NEW seal onto the J 43063-1 .
  33. Using the J 43063-2  (1), slide the seal into the seal groove.

  34. Object Number: 780974  Size: SH

    Notice: Size only 1 seal at a time. Sizing more than 1 seal at the same time will result in damage to the seals.

    Important: Allow each seal to shrink momentarily before using the J 43063-3 . It may be necessary to manipulate the seal with your fingers in order to decrease the outside diameter of the seal.

    Important: Ensure the J 43063-3 bottoms out on the input shaft.

  35. Using the J 43063-3 , size the fluid seal ring.
  36. Leave the J 43063-3 in place for at least 5 minutes in order to properly size the fluid seal ring.
  37. Repeat steps 17 through 21 for each seal.

  38. Object Number: 780978  Size: SH
  39. Using the J 43084 , install a NEW split spiral fluid seal ring on the input shaft.

  40. Object Number: 780976  Size: SH

    Important: Ensure that the input shaft O-ring seal (512) is positioned below the fluid seal ring - split spiral ring (513).

  41. Install a NEW input shaft O-ring seal. Apply J 36850 to the seal.

  42. Object Number: 780955  Size: SH
  43. Install the sun gear thrust washer on the drive pulley assembly.

  44. Object Number: 780953  Size: SH
  45. Carefully install the input shaft assembly on the drive pulley assembly. Align the input carrier pinion gears over the sun gear.

  46. Object Number: 781237  Size: SH
  47. Install the forward clutch waved plate.
  48. Important: The forward clutch plates are designed to fit only one way in the forward clutch assembly. Match the alignment notches on the clutch plates with the corresponding notches on the forward clutch assembly and the input shaft assembly.

    Important: Install the forward clutch plates with the friction material facing up, towards the backing plate.

  49. Install the forward clutch plates, two each, starting with a plate with the splines on the outer, external, diameter.

  50. Object Number: 781238  Size: SH
  51. Measure the distance between the top outer edge of the retaining ring groove and the top friction plate.
  52. Record the measurement.

    Important: The backing plate identification letter is stamped on the backing plate.

  53. Refer to the Forward Clutch Backing Plate Specifications table in Specifications in order to select the proper packing plate.

  54. Object Number: 781241  Size: SH
  55. Install the forward clutch backing plate.
  56. Install the retaining ring for the forward clutch backing plate.

  57. Object Number: 780944  Size: SH
  58. Install the internal gear thrust washer, tabs down.
  59. Install the speed sensor reluctor ring.
  60. Install the retaining ring for the speed sensor reluctor ring.