GM Service Manual Online
For 1990-2009 cars only

    Object Number: 781105  Size: SH

    Important: Dirty solvent can deposit sediment that could damage the transmission.

  1. Using clean solvent, thoroughly clean the control valve body assembly, valves, springs, and all other components.
  2. Using compressed air, dry all components.
  3. Inspect the valve body casting for the following conditions:
  4. • Porosity
    • Cracks
    • Damaged machined surfaces
    • Chips or debris
    • Interconnected passages
    • Damaged sealing surfaces
  5. During assembly, inspect the control valve body components for the following:
  6. • Worn or damaged valves
    • Broken, missing or damaged springs
    • Damaged bore plugs, spring seats or retainers

    Object Number: 781035  Size: SH
  7. Inspect the control solenoid valve locator pin in the control valve body assembly for damage. Replace the pin if necessary.
  8. Install the clutch boost valve into the control valve body assembly.
  9. Install the clutch boost valve spring.
  10. Install the control solenoid valve locator pin.

  11. Object Number: 781033  Size: SH
  12. Install the spring for the TCC regulator apply valve.
  13. Install the TCC regulator valve.
  14. Install a NEW bore plug - O-ring - seal on the bore plug for the TCC regulator valve.
  15. Install the bore plug for the TCC regulator valve.
  16. Install the bore plug retainer for the TCC regulator valve.

  17. Object Number: 781031  Size: SH
  18. Install the spring for the variable ratio control valve.
  19. Install the variable ratio control valve lever assembly.

  20. Object Number: 781029  Size: SH
  21. Install the line 1 pressure regulator valve.
  22. Install the line 1 pressure regulator valve spring.
  23. Install a NEW bore plug - O-ring - seal on the bore plug for the line 1 pressure regulator valve.
  24. Install the bore plug for the line 1 pressure regulator valve.
  25. Install the bore plug retainer for the line 1 pressure regulator valve.

  26. Object Number: 781026  Size: SH
  27. Install the forward and reverse clutch valve.
  28. Install the spring for the forward and reverse clutch valve.
  29. Install a NEW bore plug - O-ring - seal on the bore plug for the forward and reverse clutch valve.
  30. Install the bore plug for the forward and reverse clutch valve.
  31. Install the bore plug retainer for the forward and reverse clutch valve.

  32. Object Number: 781024  Size: SH
  33. Install the TCC control valve.
  34. Install the TCC control valve spring.
  35. Install the spring seat for the TCC control valve.

  36. Object Number: 781022  Size: SH
  37. Install the line limit valve.
  38. Install the line limit valve spring.
  39. Install the spring seat for the line limit valve.

  40. Object Number: 781019  Size: SH
  41. Install the actuator feed limit valve.
  42. Install the spring for the actuator feed limit valve.
  43. Install the spring seat for the actuator feed limit valve.

  44. Object Number: 781016  Size: SH
  45. Install the primary limit valve.
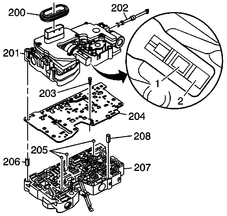
  46. Install the primary limit valve spring.
  47. Install the spring seat for the primary limit valve.

  48. Object Number: 781360  Size: SH
  49. Install the line 2 pressure regulator valve.
  50. Install the line 2 pressure regulator valve spring.
  51. Install a NEW bore plug - O-ring - seal on the bore plug for the line 2 pressure regulator valve.
  52. Install the bore plug for the line 2 pressure regulator valve.
  53. Install the bore plug retainer for the line 2 pressure regulator valve.

  54. Object Number: 781107  Size: SH
  55. Install the 3 ball check valves into the valve body assembly.

  56. Object Number: 781103  Size: SH
  57. Install a NEW fluid pump pressure screen assembly (203) on the spacer plate assembly.
  58. Install a NEW spacer plate assembly (204).
  59. Important: Note the orientation of the variable ratio control valve lever assembly into the ratio control motor.

       • 1 - correct location
       • 2 - incorrect location

  60. Install the control solenoid valve assembly (201) on the valve body assembly (207).
  61. Install the wiring connector hole seal (200) for the control valve body cover.
  62. Install the manual valve (202) in the control solenoid valve assembly.