GM Service Manual Online
For 1990-2009 cars only
Figure 1:

Bearing, Race and Thrust Washer Locations


Object Number: 795722  Size: LF
(88)Front Differential Side Gear Shim
(90)Front Differential Bearing Race
(226)Coast Clutch Hub Thrust Washer
(236)Output Gear Bearing Assembly (2)
(254)Front Differential Transfer Drive Gear Bearing Assembly (2)
(263)Front Differential Transfer Drive Gear Thrust Bearing Assembly
(264)Front Differential Transfer Drive Gear Thrust Bearing Washer
(501)Coast Clutch Hub Thrust Washer
(506)Second Clutch Sprag Outer Race Thrust Washer
(519)Front Internal Gear Thrust Bearing Assembly
(525)Front Internal Gear Thrust Washer
(529)Front Internal Gear Thrust Bearing Assembly
(530)Front Internal Gear Thrust Washer Race
(535)Rear Internal Gear Thrust Bearing Assembly
(537)Rear Sun Gear Thrust Bearing Race
(538)Rear Sun Gear Thrust Bearing Assembly
(540)Input Shaft Thrust Bearing Assembly
(543)Front Carrier Thrust Bearing Race
(545)Front Sun Gear Thrust Bearing Assembly
(546)Front Sun Gear Thrust Bearing Race
(568)Forward and Direct Clutch Housing Thrust Bearing Race
(569)Forward Clutch Housing Thrust Bearing Race
(590)1-2 Reverse Carrier Thrust Washer (2)
(592)1-2 Reverse Internal Gear Thrust Washer
(593)1-2 Reverse Internal Gear Front Thrust Bearing Assembly
(595)1-2 Reverse Internal Gear Rear Thrust Bearing Assembly
(623)Front Differential Transfer Drive Gear Assembly Rear Bearing Assembly
(625)Input Shaft Support Bearing
(628)Forward/Direct Clutch Housing Thrust Bearing Race
(630)Front Differential Side Gear Thrust Washer (2) (Selective)
(632)Front Differential Pinion Shaft Thrust Washer (2)
(637)Front Differential Tapered Outer Roller Bearing Race (86 mm I.D.)
(641)Front Differential Tapered Outer Roller Bearing Race (90 mm I.D.)
(816)Front Differential Transfer Drive Gear Assembly Front Bearing Assembly
(817)Front Differential Assembly Bearing Race Shim
Figure 2:

Seal Locations


Object Number: 795723  Size: LF
(80)Front Wheel Drive Shaft Oil Seal
(86)Automatic Transmission Case Fluid Passage Seal (7)
(200)Automatic Transmission Fluid Pump Seal Assembly
(206)Automatic Transmission Fluid Pump O-ring Seal
(209)Second Clutch Piston Outer Seal
(211)Second Clutch Piston Sleeve Outer Seal
(213)Second Clutch Piston Sleeve Inner Seal
(221)Second Coast Clutch Piston Inner Seal
(223)Second Coast Clutch Piston Outer Seal
(262)4-5 Clutch Housing Fluid Seal Ring (2)
(510)Low and Reverse Clutch Piston Inner Seal
(512)Low and Reverse Clutch Piston Outer Seal
(561)Direct Clutch Piston Inner Seal
(563)Direct Clutch Piston Outer Seal
(564)Forward Clutch Piston Inner Seal
(566)Forward Clutch Piston Outer Seal
(570)Input Shaft O-ring Seal
(581)4-5 Clutch Piston Inner Seal
(583)4-5 Clutch Piston Outer Seal
(602)1-2 Reverse Clutch Piston Inner Seal
(604)1-2 Reverse Clutch Piston Outer Seal
(607)Forward Clutch Housing Fluid Seal Ring (3)
(624)Front Differential Transfer Drive Gear Assembly Lube Seal Ring - Rear
(800)Front Differential Carrier Seal Assembly
(802)Front Differential Transfer Drive Gear Front Lube O-ring Seal
Figure 3:

Possible Fluid Leaks


Object Number: 795724  Size: LF
(1)Automatic Transmission Fluid Pressure Test Hole Plugs
(1)Automatic Transmission Fluid Pressure Test Hole Plugs
(2)Front Wheel Drive Oil Shaft Seal
(3)Front Differential Carrier Seal Assembly
(4)Automatic Transmission Fluid Pump O-ring Seal
(5)Automatic Transmission Fluid Pump Body Seal Assembly
(6)Torque Converter Assembly
(7)Automatic Transmission Output Speed Sensor O-ring Seal
(8)3rd Gear Band Anchor Bolt/Screw
(9)Automatic Transmission Input Speed Sensor O-ring Seal
(10)Lube Fill Plug
(11)Automatic Transmission Wiring Harness Assembly
(12)Manual Shift Shaft Seal Assembly
(13)Automatic Transmission Vent Assembly
(14)Control Valve Body Cover
(15)Transmission Fluid Cooler Pipe Fitting Seal
(16)Automatic Transmission Case, Automatic Transmission Case Cover Assembly or Torque Converter Housing Assembly - Porosity
(17)Automatic Transmission Case Cover Assembly to Automatic Transmission Case
(18)Automatic Transmission Case Plug O-ring Seal
(19)Torque Converter Housing Assembly to Automatic Transmission Case
(20)Automatic Transmission Case Plug O-ring Seal
(21)3rd Gear Band Servo Piston and Cover O-ring Seal
(22)Transmission Fluid Drain Plug
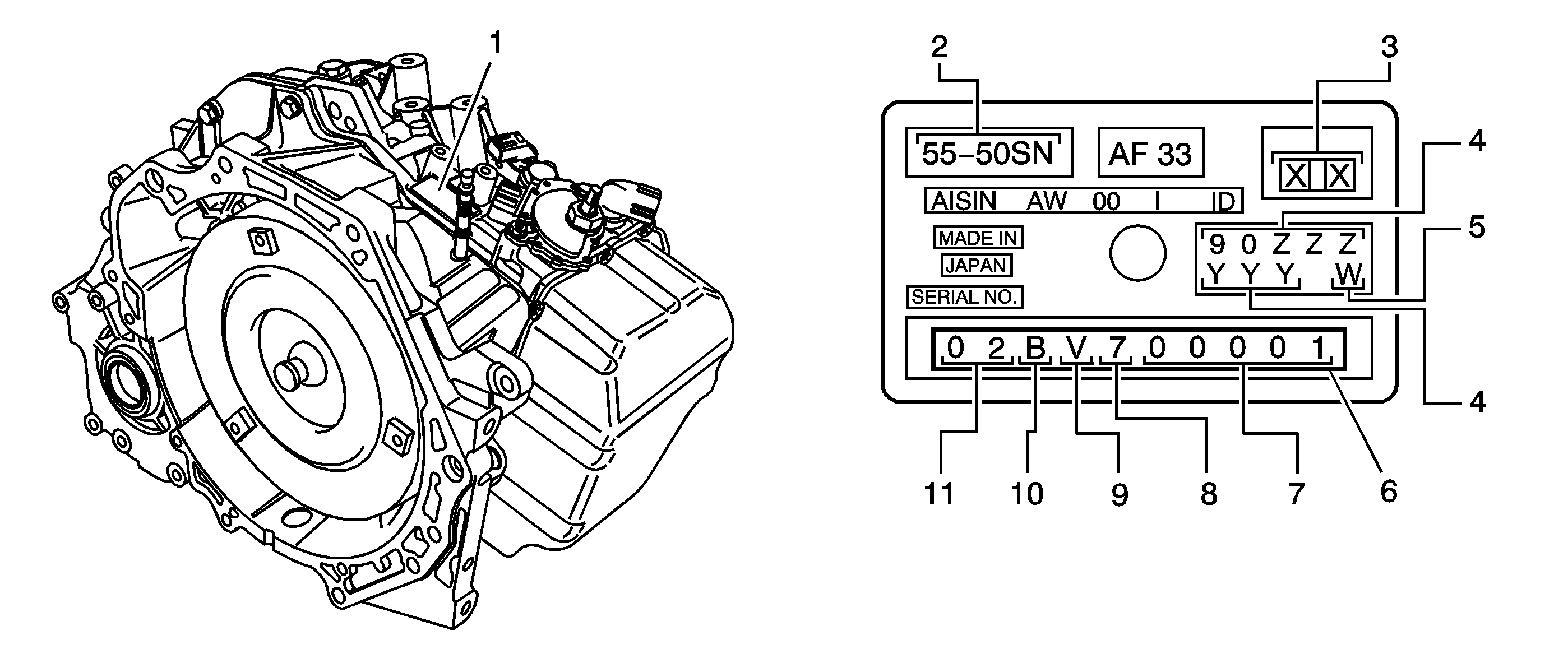
Figure 4:

Transmission I.D. Plate


Object Number: 795725  Size: SF
(1)Transmission I.D. Location
(2)Model Number
(3)GM I.D. Code
(4)GM Part Number
(4)GM Part Number
(5)Calibration Code
(6)AW Production Unit Number
(7)Serial Number During the Month of Manufacture
(8)Assembly Line Code
(9)Model of Transaxle, V = 55-50SN
(10)Month of Manufacture, A = Jan, B = Feb, etc...
(11)Year of Manufacture, 02 = 2002