GM Service Manual Online
For 1990-2009 cars only

Tools Required

    • J 23327 Clutch Spring Compressor
    • J 23456 Booster and Clutch Pack Compressor
    • J 45184 Differential Bearing Race Installer

    Object Number: 749631  Size: SH

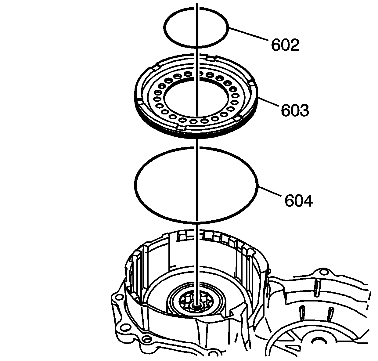
    Important: Do not damage the 1-2 reverse clutch piston seals (602, 603).

  1. Apply automatic transmission fluid to the new 1-2 reverse clutch piston seals (602, 603).
  2. Install the new 1-2 reverse clutch piston inner seal (602) and the 1-2 reverse clutch piston outer seal (604) onto the 1-2 reverse clutch piston (603).
  3. Apply automatic transmission fluid to the inner surface of the transmission case cover.
  4. Hand press the 1-2 reverse clutch piston (603) into the transmission case cover, making sure not to damage the seals.

  5. Object Number: 749622  Size: SH

    Important: Do not bend the 1-2 reverse clutch piston return spring assembly (601).

  6. Place the 1-2 reverse clutch piston return spring assembly (601) on the 1-2 reverse clutch piston (603), indexing the springs into the holes in the 1-2 reverse clutch piston assembly.

  7. Object Number: 749620  Size: SH
  8. Place J 45184  (1) on the center of J 23456  (2).
  9. Place the transmission case cover (19) with the 1-2 reverse clutch piston assembly onto J 45184  (1).
  10. Using J 23327-1 (3), which is the bridge part of J 23327 , compress the 1-2 reverse clutch piston return spring assembly (601).
  11. Install the 1-2 reverse clutch piston return spring retaining ring (600) using snap ring pliers.
  12. Remove the pressure from J 23456  (2).
  13. Remove all tools.

  14. Object Number: 749598  Size: SH

    Important: Check the position and direction of the 1-2 reverse clutch apply plate (618) before installation.

  15. Install the 1-2 reverse clutch apply plate (618).
  16. Important: 

       • Make sure you have the correct number of clutch plates.
       • Make sure the clutch plates are in the correct order.

  17. Install the 6 steel plates (619) and the 6 fiber plates (620).
  18. Install the 1-2 reverse clutch backing plate (621).
  19. Important: Check the position of the 1-2 reverse clutch backing plate retaining ring (622) before installation.

  20. Install the 1-2 reverse clutch backing plate retaining ring (622) into the groove indicated.