GM Service Manual Online
For 1990-2009 cars only

Tools Required

    • J 23327 Clutch Spring Compressor
    • J 25024-A Servo Piston/Clutch Spring Compressor
    • J 28585 Snap Ring Remover
    • J 45185 Bore Gage Set
    • J 45186 Forward and Direct Clutch Spring Compressor

    Object Number: 749748  Size: SH

    Important: Soak the new clutch discs in automatic transmission fluid for at least 2 hours before installation.

  1. Inspect the sliding surface of the disc and the plate for being worn or burnt. If the disc or the plate is worn or burnt, replace it.
  2. Shake the piston to be sure the ball check valve is free.
  3. Caution: Wear safety glasses when using compressed air in order to prevent eye injury.

  4. Apply compressed air in order to inspect the valve for leaks.

  5. Object Number: 749749  Size: SH
  6. Using J 45185 , measure the inner diameter of the 4-5 clutch drum bushing at different locations and take an average of all measurements. If the average measurement is not within specifications, replace the 4-5 clutch drum assembly. Refer to 4-5 Clutch Housing Bushing, ID in Transmission Clearance Specifications .

  7. Object Number: 875040  Size: SH

    Important: Do not damage the piston seals.

  8. Apply automatic transmission fluid to the new piston seals.
  9. Install a new piston inner seal (581) and a new piston outer seal (583) on to the 4-5 clutch piston (582).
  10. Apply automatic transmission fluid to the inner and outer seal surfaces of the 4-5 clutch drum assembly (584).
  11. Install the 4-5 clutch piston assembly (582) into the 4-5 clutch drum assembly (584).

  12. Object Number: 749836  Size: SH

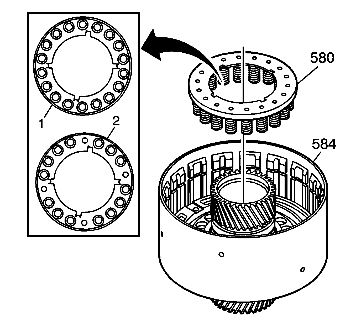
    Important: The transmission or the service parts may be either a 1st design or 2nd design 4-5 clutch piston return spring assembly (580). The 1st design (1) will have 18 springs and the 2nd design (2) will have 14 springs. The parts are completely interchangeable.

  13. Install the 4-5 clutch piston return spring assembly (580) on to the 4-5 clutch piston assembly, indexing the springs to the holes in the 4-5 clutch piston assembly.

  14. Object Number: 749835  Size: SH

    Important: Make sure that the end gap of the retaining ring is not aligned with the spring retainer claw.

  15. Using J 21420-2 (4), which is part of J 23327 , place under the 4-5 clutch drum assembly. Place the J 45186  (1) on the 4-5 clutch piston return spring assembly and compress the springs using J 25024-A  (3).
  16. Using J 28585  (2) install the 4-5 clutch piston return spring retaining ring (579) into the groove on the hub.

  17. Object Number: 773176  Size: SH

    Important: Make sure that you have the correct number of plates, and that they are in the correct order.

  18. Install the 4 fiber plates (577) and the 4 steel plates (578) into the 4-5 clutch drum assembly (584).
  19. Install the 4-5 clutch backing plate (576) into the 4-5 clutch drum assembly (584).

  20. Object Number: 749833  Size: SH
  21. Using J 28585 install the 4-5 clutch backing plate retaining ring (575) into the groove of the 4-5 clutch drum assembly (584). Make sure that the end gap of the retaining ring is not aligned with one of the cutouts in the drum.