GM Service Manual Online
For 1990-2009 cars only

Tools Required

J 45053 Universal Clamp Press


    Object Number: 749815  Size: SH

    Important: Do not drop the second coast clutch and second clutch hub and second clutch sprag assembly (11).

  1. Install the second coast clutch and second clutch hub and second clutch sprag assembly (11) into the fluid pump assembly.

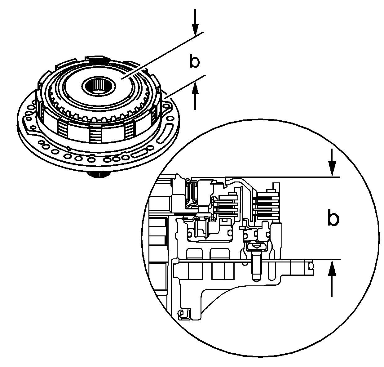
  2. Object Number: 749816  Size: SH
  3. Measure dimension B.
  4. Installation Height
    Dimension B should be 51.09-51.71 mm (2.011-2.035 in).


    Object Number: 749825  Size: SH
  5. Rotate the transmission assembly as shown.
  6. Using J 45053 , install the fluid pump assembly onto the input shaft. Align the bolt holes of the fluid pump body with the holes in the transmission case making sure that the second coast clutch and second clutch hub and second clutch sprag assembly remains correctly installed into the fluid pump assembly.
  7. Lightly press the fluid pump body into the transmission case assembly in order to seat the fluid pump assembly in place.

  8. Object Number: 749357  Size: SH
  9. Install the 8 - M8 x 1.25 x 28 mm fluid pump to case bolts (5) and hand tighten.

  10. Object Number: 773186  Size: SH
  11. Rotate the transmission assembly so that the fluid pump assembly is facing up.
  12. Notice: Use the correct fastener in the correct location. Replacement fasteners must be the correct part number for that application. Fasteners requiring replacement or fasteners requiring the use of thread locking compound or sealant are identified in the service procedure. Do not use paints, lubricants, or corrosion inhibitors on fasteners or fastener joint surfaces unless specified. These coatings affect fastener torque and joint clamping force and may damage the fastener. Use the correct tightening sequence and specifications when installing fasteners in order to avoid damage to parts and systems.

  13. Tighten the fluid pump to case bolts in the correct sequence.
  14. Tighten
    Tighten the fluid pump to case bolts to 19.6-29.4 N·m (14.5-21.68 lb ft).