GM Service Manual Online
For 1990-2009 cars only

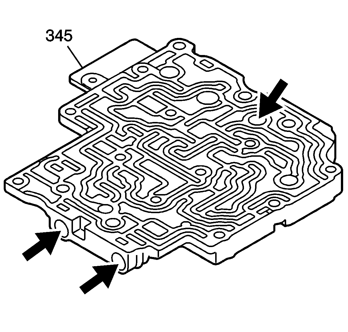
    Object Number: 767440  Size: SH
  1. Inspect the front control valve body (345) casting for the following conditions:
  2. • Porosity
    • Cracks
    • Damaged machine surface
    • Chips or debris
    • Damage to valve bores
  3. Inspect all valves, springs, bushings, and clean all components in clean solvent.

  4. Object Number: 767439  Size: SH
  5. Install the solenoid modulator valve (346).
  6. Install the solenoid modulator valve spring (347).
  7. Install the solenoid modulator valve bore plug (348).
  8. Install the sleeve/bore plug retainer (349).

  9. Object Number: 767438  Size: SH
  10. Install the second coast clutch (B1) control valve spring (358).
  11. Install the second coast clutch (B1) control valve (359).
  12. Install the solenoid modulator valve bore plug (348).
  13. Install the sleeve/bore plug retainer (349).

  14. Object Number: 767437  Size: SH
  15. Install the neutral relay valve (356).
  16. Install the neutral relay valve spring (357).
  17. Install the solenoid modulator valve bore plug (348).
  18. Install the sleeve/bore plug retainer (349).

  19. Object Number: 767436  Size: SH
  20. Install the forward clutch (C1) control valve (354).
  21. Install the solenoid modulator valve bore plug (348).
  22. Install the sleeve/bore plug retainer (349).

  23. Object Number: 749760  Size: SH
  24. Install the pressure relief valve spring (350).
  25. Install the pressure relief valve (351).
  26. Install the fluid strainer (352).
  27. Install the ball check valve (355).
  28. Install the 2 check valve compression springs (361).
  29. Install the 2 check valves (360).