GM Service Manual Online
For 1990-2009 cars only

    Object Number: 767405  Size: SH
  1. Inspect the middle control valve body (370) casting for the following conditions:
  2. • Porosity
    • Cracks
    • Damaged machine surface
    • Chips or debris
    • Damage to valve bores
  3. Inspect all valves, springs, bushings, and clean all components in clean solvent.

  4. Object Number: 767404  Size: SH
  5. Install the reverse shift ball check valve bushing - inner (373).
  6. Install the reverse shift ball check valve (374).
  7. Install the reverse shift ball check valve bushing - outer (375).
  8. Install the sleeve/bore plug retainer (362).

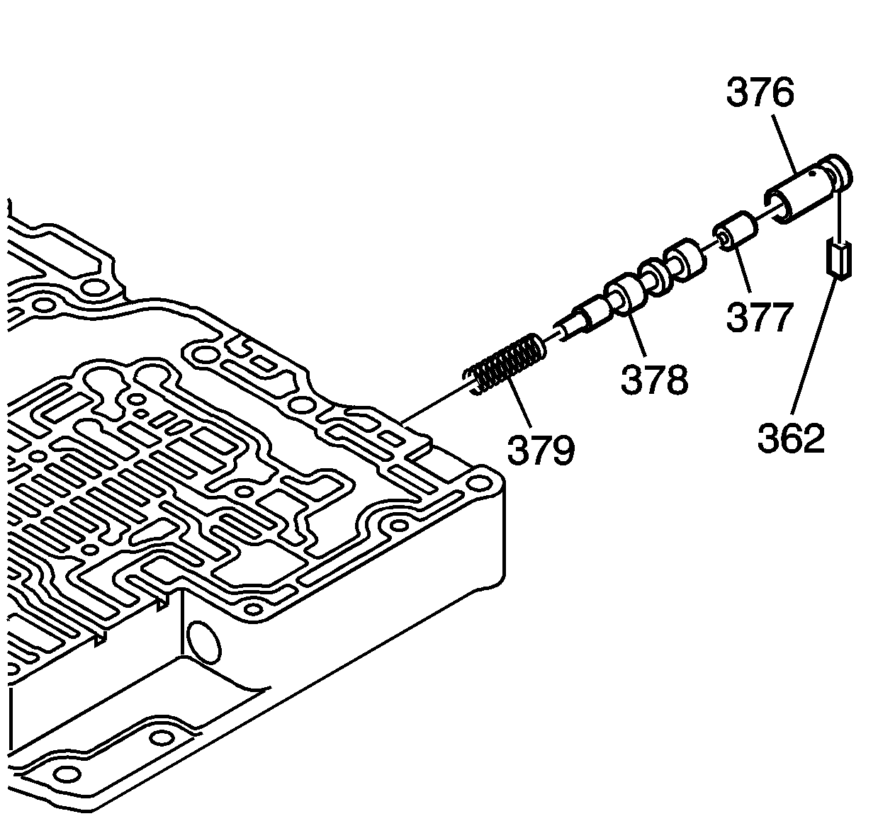
  9. Object Number: 767402  Size: SH
  10. Install the solenoid relay valve spring (379).
  11. Install the solenoid relay valve (378).
  12. Install the solenoid relay valve plunger (377).
  13. Install the solenoid relay valve sleeve (376).
  14. Install the sleeve/bore plug retainer (362).

  15. Object Number: 767401  Size: SH
  16. Install the 3rd gear band (B4) release valve spring (384).
  17. Install the 3rd gear band (B4) release valve (385).
  18. Install the U2 shift valve bore plug (394).
  19. Install the sleeve/bore plug retainer (362).

  20. Object Number: 767399  Size: SH
  21. Install the U1 shift valve (386).
  22. Install the U1 shift valve spring (387).
  23. Install the U2 shift valve bore plug (394).
  24. Install the sleeve/bore plug retainer (362).

  25. Object Number: 767397  Size: SH
  26. Install the M1 shift valve (389).
  27. Install the M1 shift valve spring (390).
  28. Install the M1 shift valve bore plug (391).
  29. Install the sleeve/bore plug retainer (362).

  30. Object Number: 767394  Size: SH
  31. Install the U2 shift valve (392).
  32. Install the U2 shift valve spring (393).
  33. Install the U2 shift valve bore plug (394).
  34. Install the sleeve/bore plug retainer (362).

  35. Object Number: 767390  Size: SH
  36. Install the primary regulator valve (395).
  37. Install the primary regulator valve spring (396).
  38. Install the primary regulator valve plunger (397).
  39. Install the primary regulator valve sleeve (398).
  40. Install the sleeve/bore plug retainer (362).

  41. Object Number: 749786  Size: SH
  42. Install the 5 accumulator check valve assemblies (353).
  43. Install the cooler by-pass valve spring (380).
  44. Install the cooler by-pass valve (381).
  45. Install the TCC check valve spring (383).
  46. Install the TCC check valve (382).