GM Service Manual Online
For 1990-2009 cars only

    Object Number: 749382  Size: SH
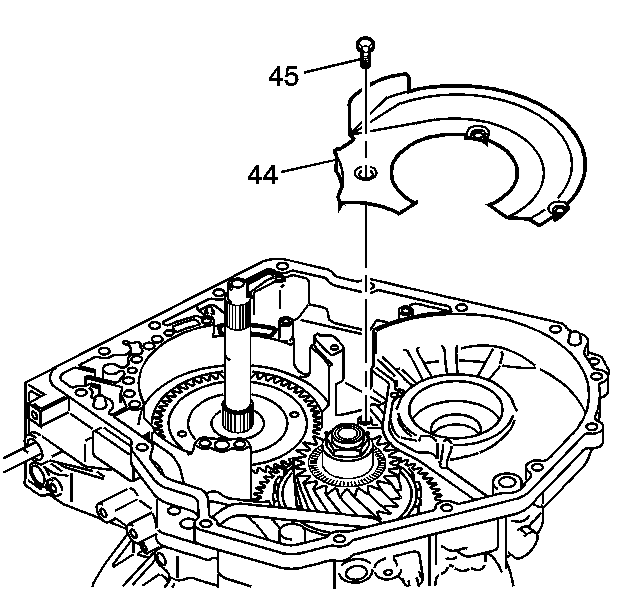
  1. Remove the 3 transmission fluid baffle bolts/screws (45).
  2. Remove the automatic transmission fluid baffle (44).
  3. Inspect the automatic transmission fluid baffle and the bolts/screws.

  4. Object Number: 749381  Size: SH
  5. Remove the 2 automatic transmission case fluid passage cover bolts/screws (41).
  6. Remove the automatic transmission case fluid passage cover (40).