GM Service Manual Online
For 1990-2009 cars only

    Object Number: 749388  Size: SH
  1. Lift the manual shift detent spring (711) off of the manual shift detent lever assembly (710) to disengage the park pawl actuator rod (709) from the manual shift detent lever assembly (710).

  2. Object Number: 749453  Size: SH
  3. Remove the manual shift detent lever assembly (710) from the transmission case assembly.

  4. Object Number: 749454  Size: SH
  5. Remove the park pawl actuator rod (709) from the transmission case assembly.

  6. Object Number: 749455  Size: SH
  7. Remove the manual shift detent lever spring bolt/screw (712) and the park pawl actuator bracket bolt/screw (715).

  8. Object Number: 749456  Size: SH
  9. Remove the manual shift detent spring assembly (711) from the transmission case assembly.

  10. Object Number: 749457  Size: SH
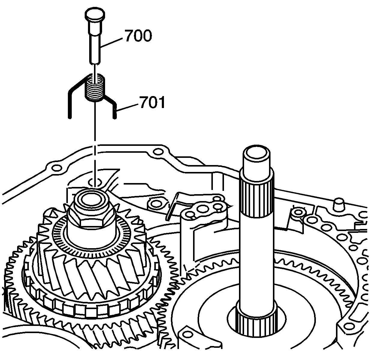
  11. Remove the park pawl shaft (700).
  12. Remove the park pawl spring (701).

  13. Object Number: 749458  Size: SH
  14. Remove the park pawl actuator bracket (708) and park pawl (702).

  15. Object Number: 749461  Size: SH
  16. Remove the park pawl spring pin (703).

  17. Object Number: 749462  Size: SH
  18. Remove the park pawl bolt/screw (706).
  19. Remove the park pawl pin spring guide sleeve (705).
  20. Remove the park pawl pin spring (704).