GM Service Manual Online
For 1990-2009 cars only
Table 1: Accelerator Pedal Position (APP) Sensor
Table 2: Camshaft Position (CMP) Sensor
Table 3: Crankshaft Position (CKP) Sensor
Table 4: Evaporative Emission (EVAP) Canister Purge Solenoid
Table 5: Evaporative Emission (EVAP) Canister Vent Solenoid
Table 6: Fuel Injector 1
Table 7: Fuel Injector 2
Table 8: Fuel Injector 3
Table 9: Fuel Injector 4
Table 10: Fuel Injector 5
Table 11: Fuel Injector 6
Table 12: Fuel Injector 7
Table 13: Fuel Injector 8
Table 14: Fuel Pump and Sender Assembly
Table 15: Fuel Tank Pressure (FTP) Sensor
Table 16: Heated Oxygen Sensor (HO2S) Bank 1 Sensor 1
Table 17: Heated Oxygen Sensor (HO2S) Bank 1 Sensor 2
Table 18: Heated Oxygen Sensor (HO2S) Bank 2 Sensor 1
Table 19: Heated Oxygen Sensor (HO2S) Bank 2 Sensor 2
Table 20: Ignition Coil #1
Table 21: Ignition Coil #2
Table 22: Ignition Coil #3
Table 23: Ignition Coil #4
Table 24: Ignition Coil #5
Table 25: Ignition Coil #6
Table 26: Ignition Coil #7
Table 27: Ignition Coil #8
Table 28: Intake Air Temperature (IAT)/Mass Air Flow (MAF) Sensor
Table 29: Knock Sensor-Front
Table 30: Knock Sensor-Rear
Table 31: Knock Sensor Jumper (C115)
Table 32: Manifold Absolute Pressure (MAP) Sensor
Table 33: Throttle Actuator Control (TAC) Assembly
Table 34: Throttle Actuator Control (TAC) Module-C1
Table 35: Throttle Actuator Control (TAC) Module-C2
Table 36: Vehicle Speed Sensor (VSS)

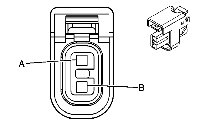
Accelerator Pedal Position (APP) Sensor


Object Number: 366097  Size: CH

Connector Part Information

    • 15318071
    • 10-Way F Metri-Pack 150 Series (GRY)

Pin

Wire Color

Circuit No.

Function

A

--

--

Not Used

B

PPL

1272

5 Volt Reference

C

LT BLU

1162

APP Sensor 2 Signal

D

TAN

1274

Low Reference

E

BRN

1271

Low Reference

F

DK BLU

1161

APP Sensor 1 Signal

G

WHT/BLK

1164

5 Volt Reference

H-K

--

--

Not Used

Camshaft Position (CMP) Sensor


Object Number: 516611  Size: CH

Connector Part Information

    • 12059595
    • 3-Way F Metri-Pack 150 Series Sealed (BLK)

Pin

Wire Color

Circuit No.

Function

A

BRN/WHT

633

CMP Sensor Signal

B

PNK/BLK

632

Low Reference

C

RED

631

12 Volt Reference

Crankshaft Position (CKP) Sensor


Object Number: 366117  Size: CH

Connector Part Information

    • 15324165
    • 3-Way F Metri-Pack 150 Series (NAT)

Pin

Wire Color

Circuit No.

Function

A

DK BLU/WHT

1869

CKP Sensor Signal

B

YEL/BLK

1868

Low Reference

C

LT GRN

1867

12 Volt Reference

Evaporative Emission (EVAP) Canister Purge Solenoid


Object Number: 684795  Size: CH

Connector Part Information

    • 12124037
    • 2-Way F Metri-Pack 150 Series Sealed (BLK)

Pin

Wire Color

Circuit No.

Function

A

PNK

439

Ignition 1 Voltage

B

DK GRN/

WHT

428

EVAP Canister Purge Solenoid Control

Evaporative Emission (EVAP) Canister Vent Solenoid


Object Number: 684795  Size: CH

Connector Part Information

    • 12052643
    • 2-Way F Metri-Pack 150 Series Sealed (RED)

Pin

Wire Color

Circuit No.

Function

A

WHT

1310

EVAP Canister Vent Solenoid Control

B

ORN

2640

Ignition 1 Voltage

Fuel Injector 1


Object Number: 366123  Size: CH

Connector Part Information

    • 15326181
    • 2-Way F (GRY)

Pin

Wire Color

Circuit No.

Function

A

PNK

1039

Ignition 1 Voltage

B

BLK

1744

Fuel Injector 1 Control

Fuel Injector 2


Object Number: 366123  Size: CH

Connector Part Information

    • 15326181
    • 2-Way F (GRY)

Pin

Wire Color

Circuit No.

Function

A

PNK

1239

Ignition 1 Voltage

B

LT GRN/BLK

1745

Fuel Injector 2 Control

Fuel Injector 3


Object Number: 366123  Size: CH

Connector Part Information

    • 15326181
    • 2-Way F (GRY)

Pin

Wire Color

Circuit No.

Function

A

PNK

1039

Ignition 1 Voltage

B

PNK/BLK

1746

Fuel Injector 3 Control

Fuel Injector 4


Object Number: 366123  Size: CH

Connector Part Information

    • 15326181
    • 2-Way F (GRY)

Pin

Wire Color

Circuit No.

Function

A

PNK

1239

Ignition 1 Voltage

B

LT BLU/BLK

844

Fuel Injector 4 Control

Fuel Injector 5


Object Number: 366123  Size: CH

Connector Part Information

    • 15326181
    • 2-Way F (GRY)

Pin

Wire Color

Circuit No.

Function

A

PNK

1039

Ignition 1 Voltage

B

BLK/WHT

845

Fuel Injector 5 Control

Fuel Injector 6


Object Number: 366123  Size: CH

Connector Part Information

    • 15326181
    • 2-Way F (GRY)

Pin

Wire Color

Circuit No.

Function

A

PNK

1239

Ignition 1 Voltage

B

YEL/BLK

846

Fuel Injector 6 Control

Fuel Injector 7


Object Number: 366123  Size: CH

Connector Part Information

    • 15326181
    • 2-Way F (GRY)

Pin

Wire Color

Circuit No.

Function

A

PNK

1039

Ignition 1 Voltage

B

RED/BLK

877

Fuel Injector 7 Control

Fuel Injector 8


Object Number: 366123  Size: CH

Connector Part Information

    • 15326181
    • 2-Way F (GRY)

Pin

Wire Color

Circuit No.

Function

A

PNK

1239

Ignition 1 Voltage

B

DK BLU/WHT

878

Fuel Injector 8 Control

Fuel Pump and Sender Assembly


Object Number: 684908  Size: CH

Connector Part Information

    • 15326631
    • 4-Way F GT 280 Sealed 5.8 (BLK)

Pin

Wire Color

Circuit No.

Function

A

BLK

2150

Ground

B

PPL

1589

Fuel Level Sensor Signal

C

BLK

470

Low Reference

D

GRY

120

Fuel Pump Supply Voltage

Fuel Tank Pressure (FTP) Sensor


Object Number: 516611  Size: CH

Connector Part Information

    • 12059595
    • 3-Way F Metri-Pack 150 Series Sealed (BLK)

Pin

Wire Color

Circuit No.

Function

A

BLK

470

Low Reference

B

DK GRN

890

Fuel Tank Pressure Sensor Signal

C

GRY

474

5 Volt Reference

Heated Oxygen Sensor (HO2S) Bank 1 Sensor 1


Object Number: 831392  Size: CH

Connector Part Information

    • 12092839
    • 4-Way M Metri- Pack 150 Series (BLK)

Pin

Wire Color

Circuit No.

Function

A

TAN

1664

HO2S Low Signal - Bank 1 Sensor 1

B

PPL/WHT

1665

HO2S High Signal - Bank 1 Sensor 1

D

PNK

539

Ignition 1 Voltage

E

BLK/WHT

3113

HO2S Heater Low Control - Bank 1 Sensor 1

Heated Oxygen Sensor (HO2S) Bank 1 Sensor 2


Object Number: 806613  Size: CH

Connector Part Information

    • 15326423
    • 4-Way M Metri-Pack 150 Sealed (GRY)

Pin

Wire Color

Circuit No.

Function

A

TAN/WHT

1669

HO2S Low Signal - Bank 1 Sensor 2

B

PPL/WHT

1668

HO2S High Signal - Bank 1 Sensor 2

C

BRN

2391

HO2S Heater Low Control - Bank 1 Sensor 2

D

PNK

1539

Ignition 1 Voltage

Heated Oxygen Sensor (HO2S) Bank 2 Sensor 1


Object Number: 831392  Size: CH

Connector Part Information

    • 12092839
    • 4-Way M Metri- Pack 150 Series (GRY)

Pin

Wire Color

Circuit No.

Function

A

TAN

1667

HO2S Low Signal - Bank 2 Sensor 1

B

PPL

1666

HO2S High Signal - Bank 2 Sensor 1

D

PNK

539

Ignition 1 Voltage

E

LT GRN

3212

HO2S Heater Low Control - Bank 2 Sensor 1

Heated Oxygen Sensor (HO2S) Bank 2 Sensor 2


Object Number: 806613  Size: CH

Connector Part Information

    • 15326423
    • 4-Way M Metri-Pack 150 Sealed (BLK)

Pin

Wire Color

Circuit No.

Function

A

TAN

1671

HO2S Low Signal - Bank 2 Sensor 2

B

PPL

1670

HO2S High Signal - Bank 2 Sensor 2

C

RED/WHT

3223

HO2S Heater Low Control - Bank 2 Sensor 2

D

PNK

1539

Ignition 1 Voltage

Ignition Coil #1


Object Number: 280765  Size: CH

Connector Part Information

    • 12162724
    • 4-Way F Metri-Pack 150 Sealed (MD GRY)

Pin

Wire Color

Circuit No.

Function

A

BLK

550

Ground

B

BRN

2129

Low Reference

C

PPL

2121

IC 1 Control

D

PNK

1039

Ignition 1 Voltage

Ignition Coil #2


Object Number: 280765  Size: CH

Connector Part Information

    • 12162724
    • 4-Way F Metri-Pack 150 Sealed (MD GRY)

Pin

Wire Color

Circuit No.

Function

A

BLK

550

Ground

B

BRN

2130

Low Reference

C

RED

2122

IC 2 Control

D

PNK

1239

Ignition 1 Voltage

Ignition Coil #3


Object Number: 280765  Size: CH

Connector Part Information

    • 12162724
    • 4-Way F Metri-Pack 150 Sealed (MD GRY)

Pin

Wire Color

Circuit No.

Function

A

BLK

550

Ground

B

BRN

2129

Low Reference

C

LT BLU

2123

IC 3 Control

D

PNK

1039

Ignition 1 Voltage

Ignition Coil #4


Object Number: 280765  Size: CH

Connector Part Information

    • 12162724
    • 4-Way F Metri-Pack 150 Sealed (MD GRY)

Pin

Wire Color

Circuit No.

Function

A

BLK

550

Ground

B

BRN

2130

Low Reference

C

DK GRN

2124

IC 4 Control

D

PNK

1239

Ignition 1 Voltage

Ignition Coil #5


Object Number: 280765  Size: CH

Connector Part Information

    • 12162724
    • 4-Way F Metri-Pack 150 Sealed (MD GRY)

Pin

Wire Color

Circuit No.

Function

A

BLK

550

Ground

B

BRN

2129

Low Reference

C

DK GRN

2125

IC 5 Control

D

PNK

1039

Ignition 1 Voltage

Ignition Coil #6


Object Number: 280765  Size: CH

Connector Part Information

    • 12162724
    • 4-Way F Metri-Pack 150 Sealed (MD GRY)

Pin

Wire Color

Circuit No.

Function

A

BLK

550

Ground

B

BRN

2130

Low Reference

C

LT BLU

2126

IC 6 Control

D

PNK

1239

Ignition 1 Voltage

Ignition Coil #7


Object Number: 280765  Size: CH

Connector Part Information

    • 12162724
    • 4-Way F Metri-Pack 150 Sealed (MD GRY)

Pin

Wire Color

Circuit No.

Function

A

BLK

550

Ground

B

BRN

2129

Low Reference

C

RED

2127

IC 7 Control

D

PNK

1039

Ignition 1 Voltage

Ignition Coil #8


Object Number: 280765  Size: CH

Connector Part Information

    • 12162724
    • 4-Way F Metri-Pack 150 Sealed (MD GRY)

Pin

Wire Color

Circuit No.

Function

A

BLK

550

Ground

B

BRN

2130

Low Reference

C

PPL

2128

IC 8 Control

D

PNK

1239

Ignition 1 Voltage

Intake Air Temperature (IAT)/Mass Air Flow (MAF) Sensor


Object Number: 366067  Size: CH

Connector Part Information

    • 15305555
    • 5-Way F Metri-Pack 150 Series (BLK)

Pin

Wire Color

Circuit No.

Function

A

BLK

552

Low Reference

B

TAN

472

IAT Sensor Signal

C

BLK/WHT

451

Ground

D

PNK

439

Ignition 1 Voltage

E

YEL

492

MAF Sensor Signal

Knock Sensor-Front


Object Number: 35416  Size: CH

Connector Part Information

    • 12103023
    • 1-Way TRW (MD GRY)

Pin

Wire Color

Circuit No.

Function

A

DK BLU

496

Knock Sensor 1 Signal

Knock Sensor-Rear


Object Number: 35416  Size: CH

Connector Part Information

    • 12103023
    • 1-Way TRW (MD GRY)

Pin

Wire Color

Circuit No.

Function

A

LT BLU

1876

Knock Sensor 2 Signal

Knock Sensor Jumper (C115)


Object Number: 635009  Size: CH

Connector Part Information

    • 12052647
    • 2-Way F Metri-Pack 150 Series (BLK)

Pin

Wire Color

Circuit No.

Function

A

DK BLU

496

Knock Sensor 1 Signal

B

LT BLU

1876

Knock Sensor 2 Signal

Manifold Absolute Pressure (MAP) Sensor


Object Number: 684840  Size: CH

Connector Part Information

    • 12129946
    • 3-Way F Metri-Pack 150 Series Sealed (MD GRY)

Pin

Wire Color

Circuit No.

Function

A

ORN/BLK

469

Low Reference

B

LT GRN

432

MAP Sensor Signal

C

GRY

597

5 Volt Reference

Throttle Actuator Control (TAC) Assembly


Object Number: 831368  Size: CH

Connector Part Information

    • 15326836
    • 8-Way F GT 150 SLD (BLK)

Pin

Wire Color

Circuit No.

Function

A

YEL

581

TAC Motor Control - 1

B

ORN/BLK

1057

Low Reference

C

BRN

582

TAC Motor Control - 2

D

BLK

452

Low Reference

E

LT BLU/

BLK

1688

5 Volt Reference

F

PPL

486

TP Sensor 2 Signal

G

DK GRN

485

TP Sensor 1 Signal

H

GRY

416

5 Volt Reference

Throttle Actuator Control (TAC) Module-C1


Object Number: 261930  Size: CH

Connector Part Information

    • 12191065
    • 16-Way F Micro-Pack 100 Series (MD GRY)

Pin

Wire Color

Circuit No.

Function

1

DK GRN

485

TP Sensor 1 Signal

2

GRY

416

5 Volt Reference

3

BLK

452

Low Reference

4

DK BLU

84

Cruise Control Set/Coast Switch Signal

5

GRY/BLK

87

Cruise Control Resume/Accel Switch Signal

6

LT BLU

1320

Stop Lamp Supply Voltage

7

PNK

1339

Ignition 1 Voltage

8

BRN

582

TAC Motor Control - 2

9

LT BLU/

BLK

1688

5 Volt Reference

10

ORN/BLK

1057

Low Reference

11

PPL

486

TP Sensor 2 Signal

12

ORN/BLK

1061

UART Serial Data-Secondary

13

DK BLU/

WHT

774

UART Serial Data-Tertiary

14

GRY

397

Cruise Control On Switch Signal

15

BLK

550

Ground

16

YEL

581

TAC Motor Control - 1

Throttle Actuator Control (TAC) Module-C2


Object Number: 666638  Size: CH

Connector Part Information

    • 12177081
    • 10-Way F 150 Series Sealed (BLK)

Pin

Wire Color

Circuit No.

Function

A

--

--

Not Used

B

PPL

1272

5 Volt Reference

C

LT BLU

1162

APP Sensor 2 Signal

D

TAN

1274

Low Reference

E

--

--

Not Used

F

DK BLU

1161

APP Sensor 1 Signal

G

WHT/BLK

1164

5 Volt Reference

H

--

--

Not Used

J

BRN

1271

Low Reference

K

--

--

Not Used

Vehicle Speed Sensor (VSS)


Object Number: 666646  Size: CH

Connector Part Information

    • 15336024
    • 2-Way F GT 150 Sealed (BLK)

Pin

Wire Color

Circuit No.

Function

1

PPL/WHT

821

VSS High Signal

2

LT GRN/BLK

822

VSS Low Signal