GM Service Manual Online
For 1990-2009 cars only
Makes
🢒
Generic
🢒
2003
🢒
Unit Repair
🢒
Engine
🢒
Engine Controls - 4.8L, 5.3L, and 6.0L
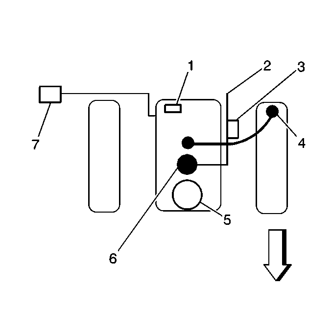
🢒 Emission Hose Routing Diagram
Vacuum Hose Routing
(1)
Manifold Absolute Pressure (MAP) Sensor
(2)
EVAP Canister Purge Hose
(3)
EVAP Service Port
(4)
Positive Crankcase Ventilation (PCV) Valve
(5)
Throttle Body
(6)
EVAP Canister Purge Valve
(7)
AIR Module, if equipped