|
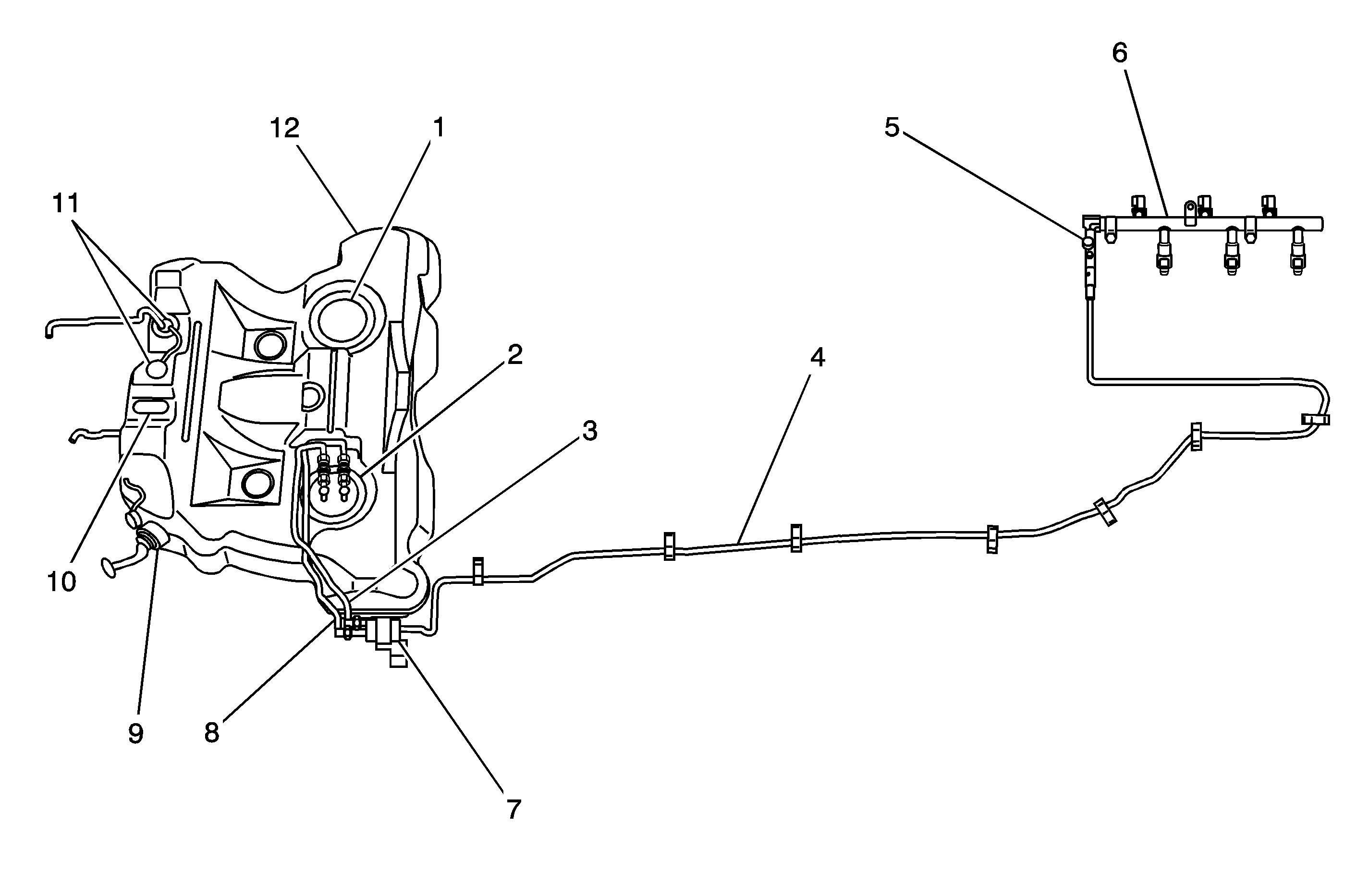
| (1) | Secondary
Fuel Sender Assembly - Left |
| (2) | Primary Fuel
Sender Assembly - Right |
| (3) | Fuel Feed Hose |
| (4) | Fuel Feed
Pipe |
| (5) | Fuel Pressure
Test Connection |
| (6) | Fuel Rail
and Injectors |
| (7) | Fuel Filter |
| (8) | Fuel Return
Hose |
| (9) | Fuel Filler
Tube |
| (10) | Fuel Tank Pressure
(FTP) Sensor |
| (11) | Fill Limit
Vent Valve (FLVV) |
| (12) | Fuel Tank |