GM Service Manual Online
For 1990-2009 cars only

Tools Required

    • J 44809 Output Shaft Seal Installer
    • J 44851 Pinion Seal Installer
    • J 44852 Front Clutch Pack Seal Installer
    • J 44853 Rear Clutch Pack Seal Installer
    • J 44868 Housing Spreader

    Object Number: 792850  Size: SH

    Notice: Do not use excessive amounts of sealer. Excess sealer could plug the vent passage, the oil pump, and/or the oil pump screen causing internal damage.

    Important: 

       • Ensure that the sealing surface is still clean and oil free.
       • DO NOT apply sealer to the vent walls (2).

  1. Apply sealer GM P/N United States 12346240, GM P/N Canada 10953493 to the rear housing sealing surface (1). Apply a constant bead of sealer 2.5 mm (0.098 in) wide and thick.

  2. Object Number: 792844  Size: SH
  3. Install the dial indicator on the cover at the top of the bearing bore. Preload indicator and zero it out.
  4. Install the J 44868 on the cover.
  5. Important: DO NOT spread the cover more than 0.30-0.40 mm (0.012-0.016 in).

  6. Spread the cover while measuring the movement.
  7. After the spread is reached remove the dial indicator.

  8. Object Number: 792846  Size: SH
  9. Install the cover.
  10. Notice: Use the correct fastener in the correct location. Replacement fasteners must be the correct part number for that application. Fasteners requiring replacement or fasteners requiring the use of thread locking compound or sealant are identified in the service procedure. Do not use paints, lubricants, or corrosion inhibitors on fasteners or fastener joint surfaces unless specified. These coatings affect fastener torque and joint clamping force and may damage the fastener. Use the correct tightening sequence and specifications when installing fasteners in order to avoid damage to parts and systems.

  11. Install the 4 M8 cover bolts.
  12. Tighten
    Tighten the M8 cover bolts in a criss-cross pattern to 26 N·m (19 lb ft).

    Important: Allow the RTV sealer to cure for 12 hours before oil fill.

  13. Remove the J 44868 .

  14. Object Number: 792780  Size: SH
  15. Install 4 M10 cover bolts.
  16. Tighten
    Tighten the M10 cover bolts in a criss-cross pattern to 46 N·m (34 lb ft).


    Object Number: 693608  Size: SH
  17. Using the J 44853 , install the clutch drum rear oil seal (1) to the differential housing.

  18. Object Number: 748621  Size: SH
  19. Install the bearing (1) and the snap ring (2) to the clutch cover.

  20. Object Number: 748618  Size: SH
  21. Using the J 44852 , install the front clutch drum oil seal.

  22. Object Number: 693566  Size: SH
  23. Install the clutch drum (2) into the clutch cover (1).

  24. Object Number: 693601  Size: SH

    Important: The inner race of the bearing must be supported during the clutch drum installation procedure.

  25. Position the clutch cover into a press in order to install the clutch drum.

  26. Object Number: 734863  Size: SH
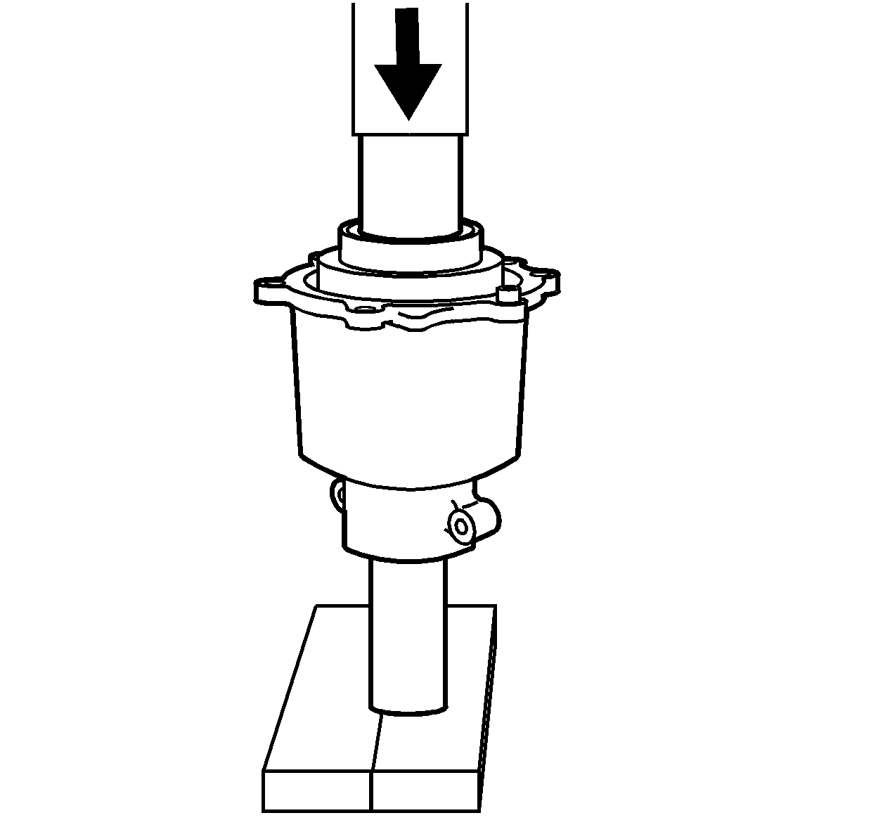
  27. Using the J 44851  (1), install the seal (2) into the housing (3).

  28. Object Number: 735400  Size: SH
  29. Install the filter assembly.
  30. Install the dowel pins.

  31. Object Number: 792851  Size: SH
  32. Apply sealant GM P/N United States 12346240, GM P/N Canada 10953493 to the sealing surface of the differential housing. Apply a constant bead of sealer 2.5 mm (0.098 in) wide and thick.

  33. Object Number: 693560  Size: SH

    Important: 

       • Rotate the input flange in order to properly align the splines of the clutch drum hydraulic pump and the pinion shaft.
       • Allow the RTV sealer to cure for 12 hours before oil fill.

  34. Install the clutch cover (2) and bolts (1) to the differential housing.
  35. Tighten
    Tighten the clutch cover bolts to 26 N·m (19 lb ft).


    Object Number: 693550  Size: SH
  36. Install the dust deflector (2) to the flange (1), if required.

  37. Object Number: 693549  Size: SH
  38. Install the flange (2) and a NEW nut (1) to the pinion shaft.
  39. Tighten
    Tighten the flange nut to 203 N·m (150 lb ft).


    Object Number: 693610  Size: SH
  40. Using the J 44809 , install the left axle shaft oil seal (1) into the differential housing.

  41. Object Number: 693611  Size: SH
  42. Using the J 44809 , install the right axle shaft oil seal (1) into the differential housing.

  43. Object Number: 693545  Size: SH
  44. Install the rear mounting bracket (2), bolts (3) and nuts (1) to the differential housing.
  45. Tighten
    Tighten the bracket nuts to 105 N·m (77 lb ft).


    Object Number: 693543  Size: SH
  46. Using GM P/N United States 12346004, GM P/N Canada 10953480, or equivalent on the threads, install the vent to the differential housing, if removed (1).

  47. Object Number: 693541  Size: SH
  48. Apply GM P/N United States 12346004, GM P/N Canada 10953480, or equivalent to the drain plug threads.
  49. Install the drain plug to the differential housing.
  50. Tighten
    Tighten the drain plug to 30 N·m (22 lb ft).

  51. Install 750 ml (25.4 oz) GM P/N United States 12378514, GM P/N Canada 88901045.
  52. Apply sealant GM P/N United States 12346004, GM P/N Canada 10953480, or equivalent to the threads of the fill plug.
  53. Install the fill plug.
  54. Tighten
    Tighten the fill plug to 35 N·m (26 lb ft).