GM Service Manual Online
For 1990-2009 cars only

Tools Required

    • J 29184 Output Shaft Seal Installer
    • J 44875 Right Bearing Race Installer

    Object Number: 696401  Size: SH
  1. Remove the 3 bolts from the bracket (1).
  2. Remove the bracket (1).

  3. Object Number: 696404  Size: SH
  4. Remove the drain plug (1).

  5. Object Number: 804370  Size: SH
  6. Remove the fill plug (1) and drain the fluid.

  7. Object Number: 850522  Size: SH
  8. Remove all bolts (2) from the side cover (1).
  9. Use pry point relief slots to remove the cover.

  10. Object Number: 850523  Size: SH
  11. Remove the carrier assembly (1) from the housing.

  12. Object Number: 696421  Size: SH

    Notice: The bearing cup shims must be removed before the seal can be removed. Installing the seal through the bearing cup will damage the NEW seal. It may be necessary to heat the housing in order to remove the cup.

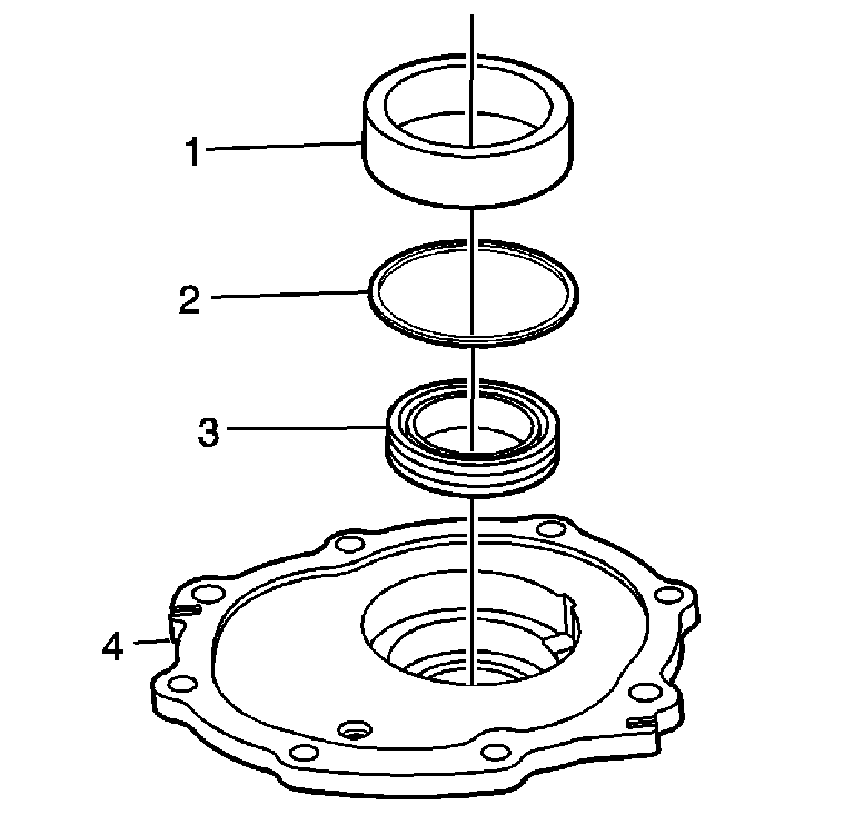
  13. Remove the bearing cup (1), shims (2) and seal (3) from the cover (4).
  14. Mark or tag the cup (1) and shims (2) for proper assembly.


    Object Number: 850524  Size: SH

    Important: It is not necessary to remove the bearing cup or shims in order to remove the seal from the carrier assembly housing.

  15. Drive the seal (1) out from the inside of the carrier assembly housing.

  16. Object Number: 737262  Size: SH

    Notice: The bearing cup must be removed in order to install the seal. If the bearing cup is not removed first, seal damage may occur.

    Important: Clean the seal bores before installing new seals. Inspect the bores for nicks caused by seal removal.

  17. Using J 29184 and a driver handle, install the inner oil seal into the cover.

  18. Object Number: 737264  Size: SH
  19. Install the shim (2) and bearing cup (3) into the side cover (1).

  20. Object Number: 737265  Size: SH

    Notice: Do not heat the cover to install the cup. Heating the cover will damage the seal.

  21. Using J 44875 and a driver handle, install the cup and the shim.

  22. Object Number: 737261  Size: SH

    Notice: Do not install the seal from the inside of the housing. The outside diameter of the bearing cup may cause seal damage.

    Important: Clean the seal bores before installing new seals. Inspect the bores for nicks caused by seal removal.

  23. Using J 29184 and a driver handle, install the oil seal (1) to the housing.

  24. Object Number: 850510  Size: SH
  25. Clean the carrier assembly housing sealing surface (1) with solvent and scrape it clean with a razor blade.

  26. Object Number: 850512  Size: SH
  27. Clean the cover sealing surface (1) with solvent and scrape it clean with a razor blade.

  28. Object Number: 850523  Size: SH

    Important: Grease the seal lips in order to protect the seal and to ease in assembly.

  29. Install the carrier assembly (1) to the housing.

  30. Object Number: 737283  Size: SH

    Important: Do not apply excess sealer. Excess sealer could cause premature failure.

  31. Apply a 2-3 mm (0.8-0.12 in) amount of sealer GM P/N United States 1052942, GM P/N Canada 10953466, or equivalent to the housing (1).

  32. Object Number: 737269  Size: SH

    Important: 

       • Grease the seal lips in order to protect the seal and to ease in assembly.
       • Apply Thread Locker GM P/N United States 12345382, GM P/N Canada 10953489 to the threads of the bolts.

  33. Install the side cover (1) and bolts (2 and 3) to the housing.
  34. There is not a specific tightening sequence, but the bolts with dowel pins should be tightened first, and alternate the others from side to side.

    Tighten
    Tighten the side cover bolts to 34 N·m (25 lb ft).

  35. Fill the transfer case with fluid, after it is installed in the vehicle, to the bottom of the fill plug hole, or 500 ml (17 oz).