GM Service Manual Online
For 1990-2009 cars only
Makes
🢒
Generic
🢒
2003
🢒
Unit Repair
🢒
Transmission/Transaxle
🢒
Automatic Transmission - 4L80-E/4L85-E
🢒 Reaction Carrier Assemble
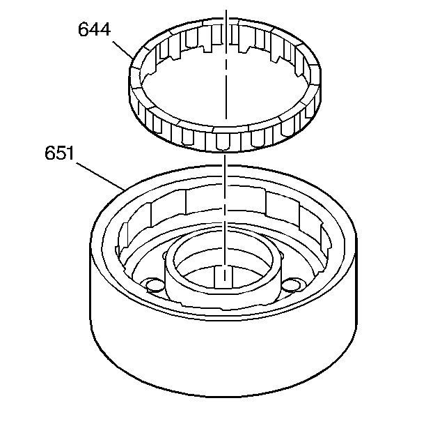
Insert the low clutch roller assembly (644) into the reaction carrier assembly (651).