GM Service Manual Online
For 1990-2009 cars only

Tools Required

J 36850 Transjel® Lubricant


    Object Number: 335062  Size: SH

    Important: Be sure the overdrive assembly is fully engaged and is level with the fourth clutch housing.

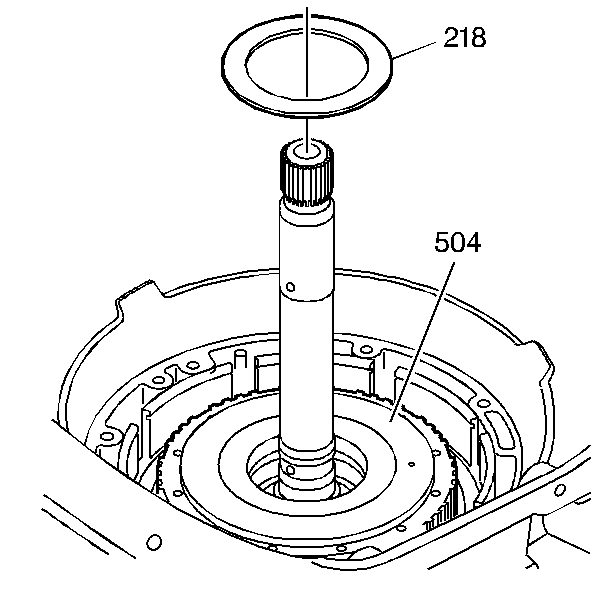
  1. Install the turbine shaft and overdrive assembly into the transmission case.
  2. Install the overrun clutch housing thrust washer (218) onto the overrun clutch housing assembly (504). Retain with J 36850 or equivalent.

  3. Object Number: 335063  Size: SH
  4. Place a straight edge from the oil pump mating surface to the overrun clutch housing thrust washer (218). The 2 surfaces should be flush.