GM Service Manual Online
For 1990-2009 cars only

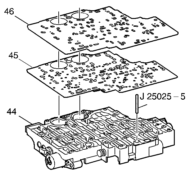
Tools Required

J 25025-5 Dial Indicator Mounting Post - M6 x 1.00


    Object Number: 40634  Size: SH
  1. Install the J 25025-5 into the control valve body bolt hole where the manual shaft detent roller and spring assembly is mounted.
  2. Install the control valve body gasket (45).
  3. Install the control valve body spacer plate (46).

  4. Object Number: 40635  Size: SH
  5. Install the accumulator housing gasket (47).
  6. Install the 3rd clutch accumulator piston spring (50). This spring is the longer of the 2 accumulator springs.
  7. Install the 4th clutch accumulator piston spring (49).
  8. Install the 3rd and 4th clutch accumulator housing (51) onto the control valve assembly (44).
  9. Install the 6 3rd and 4th clutch accumulator housing bolts (53). Tighten the bolts finger tight and start from one end of the accumulator housing toward the opposite end.

  10. Object Number: 54703  Size: SH

    Notice: Use the correct fastener in the correct location. Replacement fasteners must be the correct part number for that application. Fasteners requiring replacement or fasteners requiring the use of thread locking compound or sealant are identified in the service procedure. Do not use paints, lubricants, or corrosion inhibitors on fasteners or fastener joint surfaces unless specified. These coatings affect fastener torque and joint clamping force and may damage the fastener. Use the correct tightening sequence and specifications when installing fasteners in order to avoid damage to parts and systems.

  11. Tighten the 3rd and 4th clutch accumulator housing bolts in the order shown.
  12. Tighten
    Tighten the bolts to 11 N·m (97 lb in).

  13. Remove the J 25025-5 .