GM Service Manual Online
For 1990-2009 cars only
Table 1: Automatic Transmission Fluid Pressure Manual Valve Position Switch Connector, Wiring Harness Side
Table 2: 1-2 Shift Solenoid Valve Connector, Wiring Harness Side
Table 3: 2-3 Shift Solenoid Valve Connector, Wiring Harness Side
Table 4: Torque Converter Clutch Pulse Width Modulated (TCC PWM) Solenoid Valve Connector, Wiring Harness Side
Table 5: Pressure Control Solenoid Valve Connector, Wiring Harness Side
Table 6: Transmission Fluid Temperature (TFT) Sensor Connector, Wiring Harness Side

Automatic Transmission Fluid Pressure Manual Valve Position Switch Connector, Wiring Harness Side


Object Number: 177157  Size: CH

Connector Part Information

    • 12162200
    • Conn 3F M/P 150.2 P2S (RED)

Pin

Wire Color

Circuit No.

Function

A

PNK

1224

Transmission Range Switch Signal A Input

B

DK BLU

1225

Transmission Range Switch Signal B Input

C

ORN

1226

Transmission Range Switch Signal C Input

1-2 Shift Solenoid Valve Connector, Wiring Harness Side


Object Number: 82337  Size: CH

Connector Part Information

    • 12162201
    • Conn 2F M/P 150.2 P2S (NAT)

Pin

Wire Color

Circuit No.

Function

A

LT GRN

1222

1-2 Shift Solenoid Valve Control

B

RED

839B

Transmission Solenoid Power

2-3 Shift Solenoid Valve Connector, Wiring Harness Side


Object Number: 177158  Size: CH

Connector Part Information

    • 12162205
    • Conn 2F M/P 150.2 P2S (MD GRY)

Pin

Wire Color

Circuit No.

Function

A

RED

839A

Transmission Solenoid Power

B

YEL

1223

2-3 Shift Solenoid Valve Control

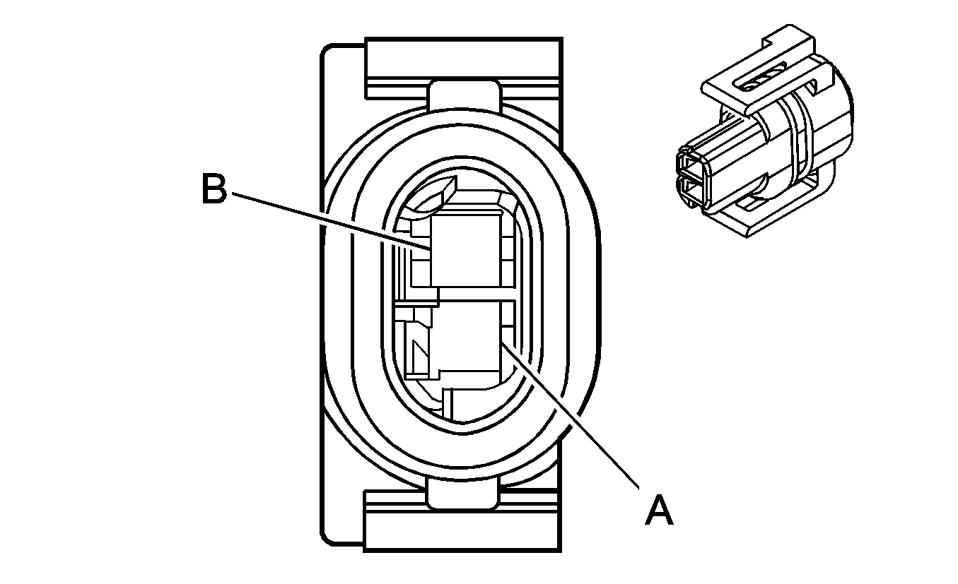
Torque Converter Clutch Pulse Width Modulated (TCC PWM) Solenoid Valve Connector, Wiring Harness Side


Object Number: 177158  Size: CH

Connector Part Information

    • 12162205
    • Conn 2F M/P 150.2 P2S (MD GRY)

Pin

Wire Color

Circuit No.

Function

A

RED

839C

Transmission Solenoid Power

B

BLK

418

Torque Converter Clutch Pulse Width Modulated (TCC PWM) Solenoid Valve

Pressure Control Solenoid Valve Connector, Wiring Harness Side


Object Number: 168421  Size: CH

Connector Part Information

    • 12146800
    • Conn 2F M/P 480 SPL (NAT)

Pin

Wire Color

Circuit No.

Function

A

PPL

1228

Pressure Control (PC) Solenoid Valve HIGH Control

B

LT BLU

1229

PC Solenoid Valve LOW Control

Transmission Fluid Temperature (TFT) Sensor Connector, Wiring Harness Side


Object Number: 82383  Size: CH

Connector Part Information

    • 12047662
    • CONN 2F M/P 150 (BLK)

Pin

Wire Color

Circuit No.

Function

A

BRN

1227

Transmission Fluid Temperature (TFT) Sensor Signal

B

GRY

452

TFT Sensor Ground