GM Service Manual Online
For 1990-2009 cars only

Removal Procedure

    Caution: Unless directed otherwise, the ignition and start switch must be in the OFF or LOCK position, and all electrical loads must be OFF before servicing any electrical component. Disconnect the negative battery cable to prevent an electrical spark should a tool or equipment come in contact with an exposed electrical terminal. Failure to follow these precautions may result in personal injury and/or damage to the vehicle or its components.

  1. Remove the battery. Refer to Battery Replacement in Engine Electrical.
  2. Remove the 4 battery tray retaining bolts, then remove the battery tray from the vehicle.


    Object Number: 857097  Size: SH
  3. Remove the shift cable retaining clip, then disconnect the cable from the bracket.
  4. Remove the shift cable retaining nut, then disconnect the cable from the manual lever.

  5. Object Number: 242877  Size: SH
  6. Disconnect the PNP switch electrical connector (1) from the PNP switch.

  7. Object Number: 857099  Size: SH
  8. Remove 1 nut, 1 lock washer and the manual lever from the manual shaft.
  9. Unstake the lock plate (1) behind the manual shaft nut (3).
  10. Remove the manual shaft nut and the lock plate from the PNP switch.
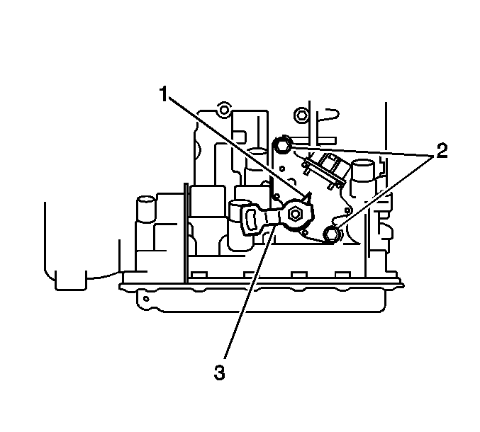
  11. Remove the 2 bolts and the PNP switch from the transaxle.

Installation Procedure

  1. Install the PNP switch to the transaxle. Secure with 2 bolts. Do NOT tighten fully.

  2. Object Number: 857099  Size: SH

    Notice: Use the correct fastener in the correct location. Replacement fasteners must be the correct part number for that application. Fasteners requiring replacement or fasteners requiring the use of thread locking compound or sealant are identified in the service procedure. Do not use paints, lubricants, or corrosion inhibitors on fasteners or fastener joint surfaces unless specified. These coatings affect fastener torque and joint clamping force and may damage the fastener. Use the correct tightening sequence and specifications when installing fasteners in order to avoid damage to parts and systems.

  3. Install a new lock plate (1) and the manual shaft nut (3) onto the PNP switch.
  4. Tighten
    Tighten the manual shaft nut to 5.5 N·m (49 lb in).

  5. Temporarily install the manual lever.

  6. Object Number: 857104  Size: SH
  7. Turn the lever counterclockwise until it stops, then turn it clockwise 2 notches.
  8. Remove the manual lever.

  9. Object Number: 857111  Size: SH
  10. Align the groove (1)  with the neutral base line (2).
  11. Hold the switch in position, then tighten the 2 bolts.
  12. Tighten
    Tighten the Park/Neutral Position (PNP) switch bolts to 5.5 N·m (49 lb in).


    Object Number: 857114  Size: SH
  13. Stake the lock plate over the manual shaft nut.
  14. Install the manual lever onto the manual shaft. Secure the manual lever with 1 lock washer and nut.
  15. Tighten
    Tighten the manual lever nut to 12.5 N·m (9 ft lbs).

  16. Install the PNP switch electrical connector to the PNP switch.

  17. Object Number: 242864  Size: SH
  18. Install the shift select cable and nut to the manual lever.
  19. Tighten
    Tighten the shift cable retaining nut to 12.5 N·m (9 ft lbs).

  20. Install the shift select cable in the retaining bracket, then install the clip.
  21. Install the battery tray in the vehicle, then the 4 battery tray retaining bolts.
  22. Tighten
    Tighten the bolts to 13 N·m (10 ft lbs).

    Caution: Unless directed otherwise, the ignition and start switch must be in the OFF or LOCK position, and all electrical loads must be OFF before servicing any electrical component. Disconnect the negative battery cable to prevent an electrical spark should a tool or equipment come in contact with an exposed electrical terminal. Failure to follow these precautions may result in personal injury and/or damage to the vehicle or its components.

  23. Install the battery. Refer to Battery Replacement in Engine Electrical.
  24. Apply the parking brake and block the vehicle wheels.
  25. With the manual selector in Park position, turn the ignition switch to START and verify that the starter motor operates.
  26. Stop the engine and return the ignition switch to the ON position.
  27. Move the manual selector from the Park position to the Neutral position and verify that the starter motor operates.
  28. Verify that the starter motor DOES NOT operate in D, 2, L or R.