GM Service Manual Online
For 1990-2009 cars only
  1. Disconnect the negative (-) battery cable.
  2. Raise and suitably support the vehicle. Refer to Lifting and Jacking the Vehicle Lifting and Jacking the Vehicle in General Information.
  3. Remove the left engine splash shield. Refer to in Engine Splash Shield Replacement - Left Side Body Front End.
  4. Place a drain pan or a suitable container under the transaxle fluid pan.
  5. Allow the transaxle to cool, if necessary. Remove the transaxle drain plug (2) from the transaxle fluid pan.
  6. Remove the following components from the transaxle:
  7. • The 18 bolts
    • The fluid pan
    • The fluid pan gasket

    Object Number: 858045  Size: SH
  8. Remove the 3 oil filter retaining bolts, then the filter.

  9. Object Number: 867010  Size: SH
  10. Disconnect the 4 solenoid connectors.

  11. Object Number: 867012  Size: SH
  12. Remove the manual detent spring.

  13. Object Number: 867013  Size: SH
  14. Loosen the 17 valve body retaining bolts.

  15. Object Number: 867015  Size: SH
  16. Disconnect the manual valve connecting rod from the manual lever, then remove the 17 bolts and valve body and manual valve as an assembly.

  17. Object Number: 867018  Size: SH
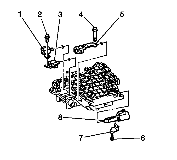
  18. Remove the solenoid bolt (2), then remove the 2 - 3 shift solenoid (1) from the valve body.
  19. Remove the 1 - 2 shift solenoid (3) from the valve body.
  20. Remove the Torque Converter Clutch solenoid bolt (4), then remove the TCC solenoid (5).
  21. Remove the Pressure Control Solenoid retaining bolt and bracket (7), then remove the Pressure Control Solenoid (8) from the valve body.
  1. Coat 3 new O-rings with AC Delco T-IV automatic Transmission fluid.
  2. Install the new O-rings on the solenoids.

  3. Object Number: 867018  Size: SH
  4. Install the Pressure Control Solenoid (8) from the valve body, then the Pressure Control Solenoid bracket (7).
  5. Tighten
    Tighten the bolt to 7 N·m (58 lb in).

  6. Install the TCC solenoid (5), then the Torque Converter Clutch solenoid bolt (4).
  7. Tighten
    Tighten the bolt to 11 N·m (97 lb in).

  8. Install the 1 - 2 shift solenoid (3) in the valve body.
  9. Install the 2 - 3 shift solenoid (1) in the valve body, then install the retaining bolt.
  10. Tighten
    Tighten the bolt to 11 N·m (97 lb in).


    Object Number: 867015  Size: SH
  11. Install the valve body assembly to the transaxle case while connecting the manual valve connecting rod to the manual valve.

  12. Object Number: 867481  Size: SH
  13. Secure the valve body assembly with the 17 bolts. Bolt 1 length - 20 mm (0.79 in.), Bolt 2 length - 28 mm (1.10 in.), Bolt 3 length - 50 mm (1.97 in.).
  14. Tighten
    Tighten the 17 valve body bolts to 10 N·m (89 lb in).


    Object Number: 867012  Size: SH
  15. Install the manual detent spring and bolt.
  16. Tighten
    Tighten the bolt to 10 N·m (89 lb in).


    Object Number: 867010  Size: SH
  17. Connect the 4 solenoid electrical connectors.

  18. Object Number: 858045  Size: SH
  19. Install the oil filter and the 3 bolts.
  20. Tighten
    Tighten the bolts to 10 N·m (89 lb in).


    Object Number: 867023  Size: SH
  21. Clean and install the 2 magnets on the oil pan.
  22. Install a new gasket on the oil pan, then install the oil pan to the transaxle. Secure the oil pan with 18 bolts.
  23. Tighten
    Tighten the transaxle oil pan bolts to 6 N·m (53 lb in).

  24. Install a new oil pan drain plug.
  25. Tighten
    Tighten the transaxle oil pan drain plug to 18 N·m (14 ft lbs).

  26. Install the left engine splash shield. Refer to Engine Splash Shield Replacement - Left Side in Body Front End.
  27. Lower the vehicle.
  28. Connect the negative (-) battery cable.
  29. Refill the transaxle as necessary.