GM Service Manual Online
For 1990-2009 cars only

Removal Procedure


    Object Number: 277261  Size: SH
  1. Remove the knee bolster. Refer to Knee Bolster Replacement in Instrument Panel, Gauges and Console.

  2. Object Number: 277262  Size: SH
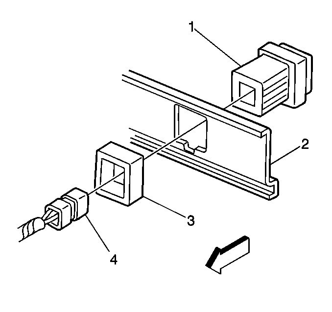
  3. Disconnect the electrical connector (4).
  4. Remove the retainer (3) from the rear of the faceplate.
  5. Remove the switch from the faceplate.

Installation Procedure


    Object Number: 277262  Size: SH
  1. Install the switch to the faceplate.
  2. Install the retainer (3).
  3. 2.1. Align the indexing tab on the nut to the tab on the switch (1).
    2.2. Slide the nut to the faceplate until the nut snaps into position.
  4. Connect the electrical connector (4).

  5. Object Number: 277261  Size: SH
  6. Install the knee bolster. Refer to Knee Bolster Replacement in Instrument Panel, Gauges and Console.