GM Service Manual Online
For 1990-2009 cars only

Removal Procedure


    Object Number: 776637  Size: SH
  1. Remove the left or right closeout/insulator panel. Refer to Instrument Panel Insulator Panel Replacement - Left Side or Instrument Panel Insulator Panel Replacement - Right Side in Instrument Panel, Gages and Console.
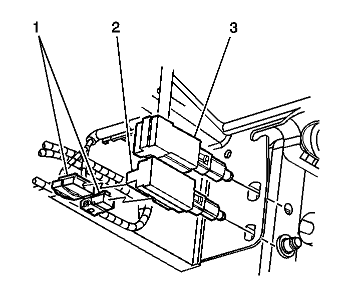
  2. Disconnect the electrical connectors (1) from the stop lamp/ABS/shift lock switch (2).
  3. Compress the retaining clip on the stop lamp/ABS/shift lock switch (2).
  4. Pull outward to remove the stop lamp/ABS/shift lock switch (2).

Installation Procedure


    Object Number: 776637  Size: SH

    Important: Make sure the brake pedal is fully depressed before installing the stop lamp/ABS/shift lock switch

  1. Install the stop lamp/ABS/shift lock switch into the brake pedal assembly.
  2. Press the stop lamp/ABS/shift lock switch (2) in until the retainer is fully seated.
  3. Carefully pull up on the brake pedal until it reaches its most upward travel.
  4. Connect the stop lamp/ABS/shift lock switch electrical connectors to the stop lamp switch (1).
  5. Install left or right closeout/insulator panel. Refer to Instrument Panel Insulator Panel Replacement - Left Side or Instrument Panel Insulator Panel Replacement - Right Side in Instrument Panel, Gages and Console.