GM Service Manual Online
For 1990-2009 cars only

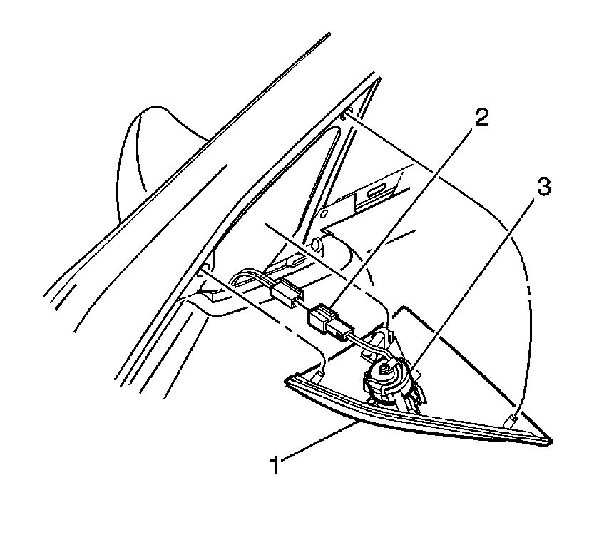
Removal Procedure


    Object Number: 331650  Size: SH
  1. With a flat-bladed tool remove the front door trim panel insert (1).
  2. Disconnect the electrical connector (2) for the speaker (3), if equipped.
  3. With a flat-bladed tool disengage the retaining tabs for the speaker (3), if equipped. Remove the speaker (3) from the trim panel insert (1), if equipped.

Installation Procedure


    Object Number: 331650  Size: SH
  1. Install the speaker (3) to the trim panel insert (1), if equipped. Press the speaker (3) into the trim (1) until retaining tabs are fully engaged.
  2. Connect the electrical connector (2) for the speaker (3), if equipped.
  3. Align the trim panel insert (1) to the door. Press the trim (1) to the door until retainers are fully engaged.