GM Service Manual Online
For 1990-2009 cars only

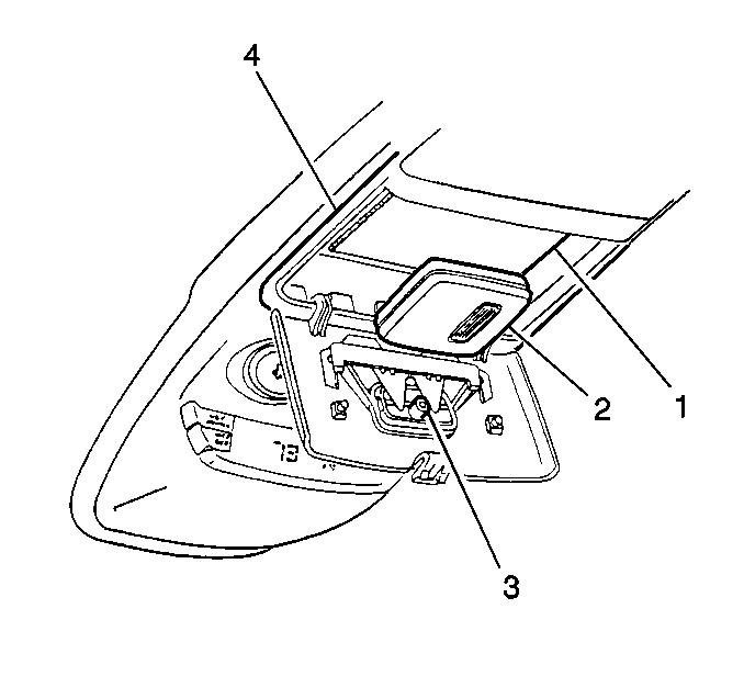
The overhead console is a convenience package that contains the following components:


Object Number: 300847  Size: SH
    • A digital display (4) that provides:
      • The outside temperature
      • Eight primary compass readings indicating the direction the vehicle is travelling
    • Two switches (3) including:
      • An ON/OFF switch for the temperature/compass display
      • A U.S./METRIC switch that changes the temperature readout from degrees Fahrenheit (F) to degrees Celsius (C)

Object Number: 300846  Size: SH
    • Two pivoting courtesy/map lamps (1)

Object Number: 300848  Size: SH
    • A compartment (4) for a garage door opener with a transmitter (2) that can be activated by pressing the button (3) on the compartment door.
    • A compartment for storing sunglasses
    • A compartment for storing compact discs or tapes