GM Service Manual Online
For 1990-2009 cars only
Makes
🢒
Generic
🢒
2003
🢒
Unit Repair
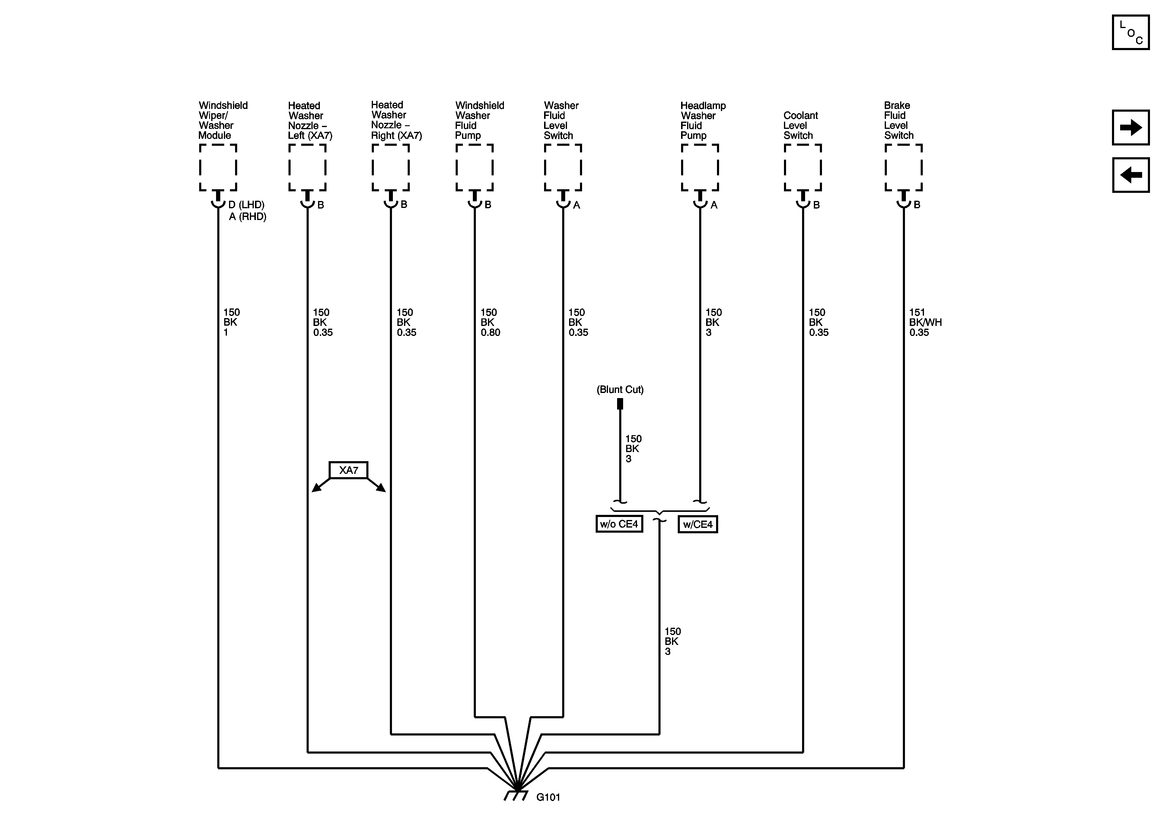
🢒 G101
G101
G101
Master Electrical Component List
G104 - 1 of 2
G100 and G107 - 2.6L/3.2L (LY9/LA3)