GM Service Manual Online
For 1990-2009 cars only

Piston, Pin, and Piston Rings


    Object Number: 1366359  Size: SH

    Important: 

       • Replace pistons, pins, and connecting rods that are damaged or show signs of excessive wear.
       • The first design press-fit piston, pin, and connecting rod are to be serviced as an assembly.
       • Do not wire brush any part of the piston.
       • Measurement of the components should be taken with the components at normal room temperature.

  1. Clean the varnish and carbon from the piston (1) using cleaning solvent.
  2. Caution: Wear safety glasses in order to avoid eye damage.

  3. Dry the components with compressed air.

  4. Object Number: 4977  Size: SH
  5. Clean the piston ring grooves with a suitable ring groove cleaning tool.
  6. Clean the oil lubrication holes and slots.

  7. Object Number: 156168  Size: SH
  8. Inspect the piston for the following conditions:
  9. • Cracks in the piston ring lands, the piston skirt, or pin bosses
    • Piston ring grooves for nicks, burrs, or warpage which may cause the piston ring to bind
    • MINOR imperfections may be removed from the piston with a fine file.
    • Scuffed or damaged skirts (2)
    • Eroded areas at the top of the piston (1)
    • Scoring to the full-floating design piston pin bore (3) or piston pin

    Object Number: 1336810  Size: SH
  10. Identify the NEW upper and lower compression rings. The upper compression ring can be identified by a paint mark (3) located 180 degrees from the end gap. The lower compression ring can be identified by a paint mark (3) located 90 degrees from the end gap. Both rings should be installed with the orientation marks (1, 2) facing the top of the piston.

  11. Object Number: 4969  Size: SH
  12. Insert the edge of the piston ring into the piston ring groove.
  13. Roll the piston ring completely around the piston. If binding is caused by distorted ring groove, MINOR imperfections may be removed with a fine file. If binding is caused by a distorted piston ring, replace the rings as required.


    Object Number: 22934  Size: SH
  14. Measure the piston ring side clearance with a feeler gauge. If side clearance is not within specifications, try another piston ring. If the proper ring-to-groove clearance cannot be obtained, replace the first design press-fit piston, pin, and connecting rod assembly. Refer to Engine Mechanical Specifications .

  15. Object Number: 4976  Size: SH
  16. To determine piston pin-to-bore clearance, use a micrometer and measure the piston pin outside diameter (OD).

  17. Object Number: 4975  Size: SH
  18. To determine the piston pin-to-bore clearance, use an inside micrometer and measure the piston pin bore inside diameter (ID).
  19. Subtract the piston pin OD measurement from the piston pin bore ID measurement to determine pin-to-bore clearance.
  20. Refer to Engine Mechanical Specifications .

Measuring Piston Ring End Gap


    Object Number: 1336810  Size: SH

    Important: 

       • Do not attempt to file the end of the piston ring to achieve the proper end gap clearance.
       • Measure the piston ring in the cylinder in which it will be used.

  1. Identify the NEW upper and lower compression rings. The upper compression ring can be identified by a paint mark (3) located 180 degrees from the end gap. The lower compression ring can be identified by a paint mark (3) located 90 degrees from the end gap. Both rings should be installed with the orientation marks (1, 2) facing the top of the piston.

  2. Object Number: 4968  Size: SH
  3. Place the piston ring into the cylinder bore 6.5 mm (0.25 in) below the top of the ring travel area.
  4. Insert a feeler gage and measure the piston ring end gap. Refer to Engine Mechanical Specifications .

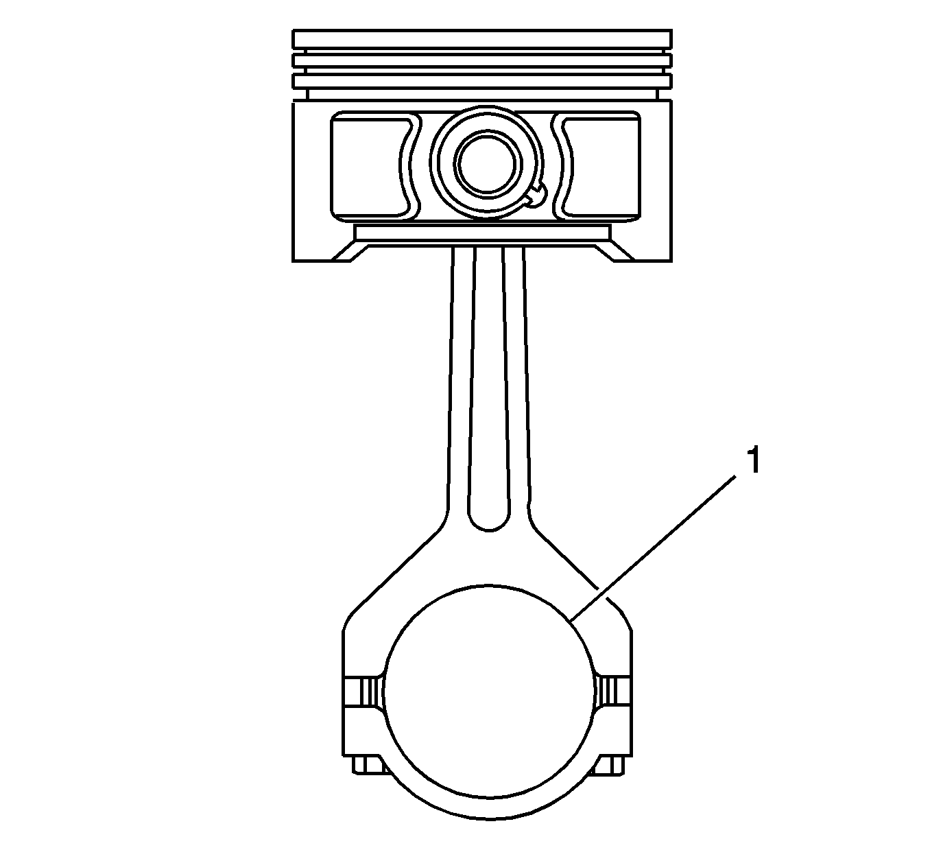
Connecting Rod and Bearings


    Object Number: 1366359  Size: SH

    Important: 

       • The powdered metal connecting rod and cap are machined for proper clearances. The connecting rod and cap must be used as an assembly with no repair or modifications to either mating surface. Do not attempt to repair the rod or cap. If service is required, replace the first design press-fit piston, pin, and connecting rod as an assembly.
       • Do not attempt to repair the bolt hole threads of the connecting rod.

  1. Clean the connecting rod (2) and cap (4) in solvent.
  2. Caution: Wear safety glasses in order to avoid eye damage.

  3. Dry the components with compressed air.

  4. Object Number: 1366360  Size: SH
  5. Inspect the connecting rod for the following conditions:
  6. • Twisting (1)
    • Proper fit of the connecting rod and cap mating surfaces (2)
    • Nicks or gouges in the bearing bore (3)
    • Damage to the bearing locating slots (4)

    Object Number: 1366406  Size: SH
  7. Measure the connecting rod bearing bore (1) for an out-of-round condition. Refer to Engine Mechanical Specifications .

  8. Object Number: 4976  Size: SH
  9. To determine full-floating piston pin-to-connecting rod bore clearance, use a micrometer and measure the piston pin outside diameter (OD).

  10. Object Number: 1366411  Size: SH
  11. To determine the full-floating piston pin-to-connecting rod bore clearance, use a micrometer and measure the connecting rod pin bore (1) inside diameter (ID).
  12. Subtract the piston pin OD measurement from the connecting rod pin bore ID measurement to determine pin-to-bore clearance. Refer to Engine Mechanical Specifications .

  13. Object Number: 52051  Size: SH
  14. Inspect the connecting rod bearings for craters or pockets. Flattened sections on the bearing halves indicate fatigue.

  15. Object Number: 52053  Size: SH
  16. Inspect the connecting rod bearings for excessive scoring or discoloration.
  17. Inspect the connecting rod bearings for dirt or debris imbedded into the bearing material.

  18. Object Number: 52056  Size: SH
  19. Inspect the connecting rod bearings for improper seating indicated by bright, polished sections of the bearing surface.