GM Service Manual Online
For 1990-2009 cars only

Tools Required

    • J 22919 Differential Side Bearing Race Installer
    • J 24433 Pinion Cone and Side Bearing Installer
    • J 25070 Heat Gun
    • J 42168-9 Shim Measuring Tool
    • J 42168-16 Right Side Cover Spacers
    • J 44719 Carrier Bearing Cup Installer
    • J 45019 Flange and Pinion Cage Remover
    • J 42264 Shim Kit

    Object Number: 1205629  Size: SH
  1. Install pinion tail bearing (7) then the pinion bearing spacer (12) on the J 42264-6 (1).
  2. Install the head bearing (14) on J 42264-2 (2).
  3. Install them into the pinion bearing housing (3) as shown.
  4. Snug the bolt. This will apply the proper bearing preload determined by the custom ground spacer that is provided with the bearing kit.

  5. Object Number: 1208689  Size: SH
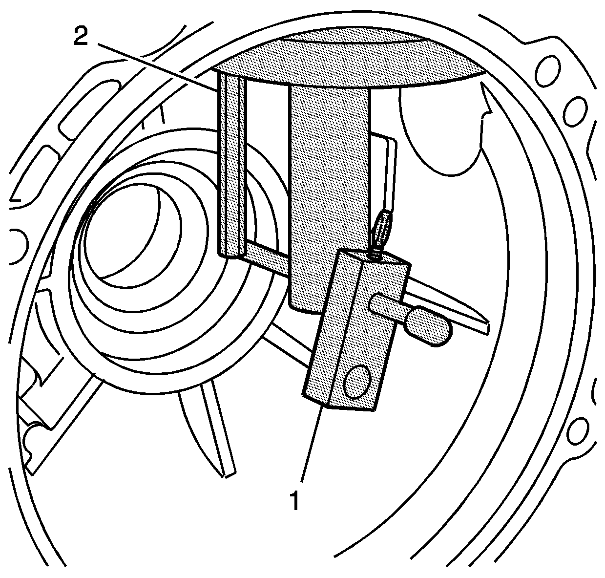
  6. Install the J 42264-3 (1) into the differential carrier as shown.
  7. Turn the carrier over and attach the holding strap J 42168-9 and thumb screw (2). Snug the thumb screw.

  8. Object Number: 1205633  Size: SH
  9. Using J 25070 , heat the carrier in the pinion bearing housing area as shown.

  10. Object Number: 1205630  Size: SH

    Important: When installing the pinion bearing housing into the carrier, ensure that the gage rod (1) does not hit the ribbing inside the carrier. Ensure that there are no nicks or burrs on the pinion housing surfaces or in the carrier bore.

  11. Using 2 long bolts from J 45019 as guides, align the bolt holes of the pinion housing and the carrier. Snug the bolts.
  12. Apply a light coat of gear lube to the carrier bore and pinion housing in order to ease assembly.
  13. Push the pinion housing into the bore of the carrier.
  14. Notice: Refer to Fastener Notice in the Preface section.


    Object Number: 1208701  Size: SH

    Important: If the bolts are not tightened, a shim measurement could be incorrect.

  15. Install the pinion housing bolts and tighten in a criss-cross pattern.
  16. Tighten
    Tighten the pinion housing bolts to 29 N·m (21 lb ft).


    Object Number: 1208704  Size: SH
  17. Measure the distance between the hex rod on the J 42264-2 (1) and the post on the J 42264-3 (2). Record this measurement.
  18. Subtract this measurement from 5 mm (0.196 in). This is the amount of pinion shims needed for the pinion housing.
  19. Remove J 42264-3 and J 42168-9 strap.

  20. Object Number: 1208707  Size: SH
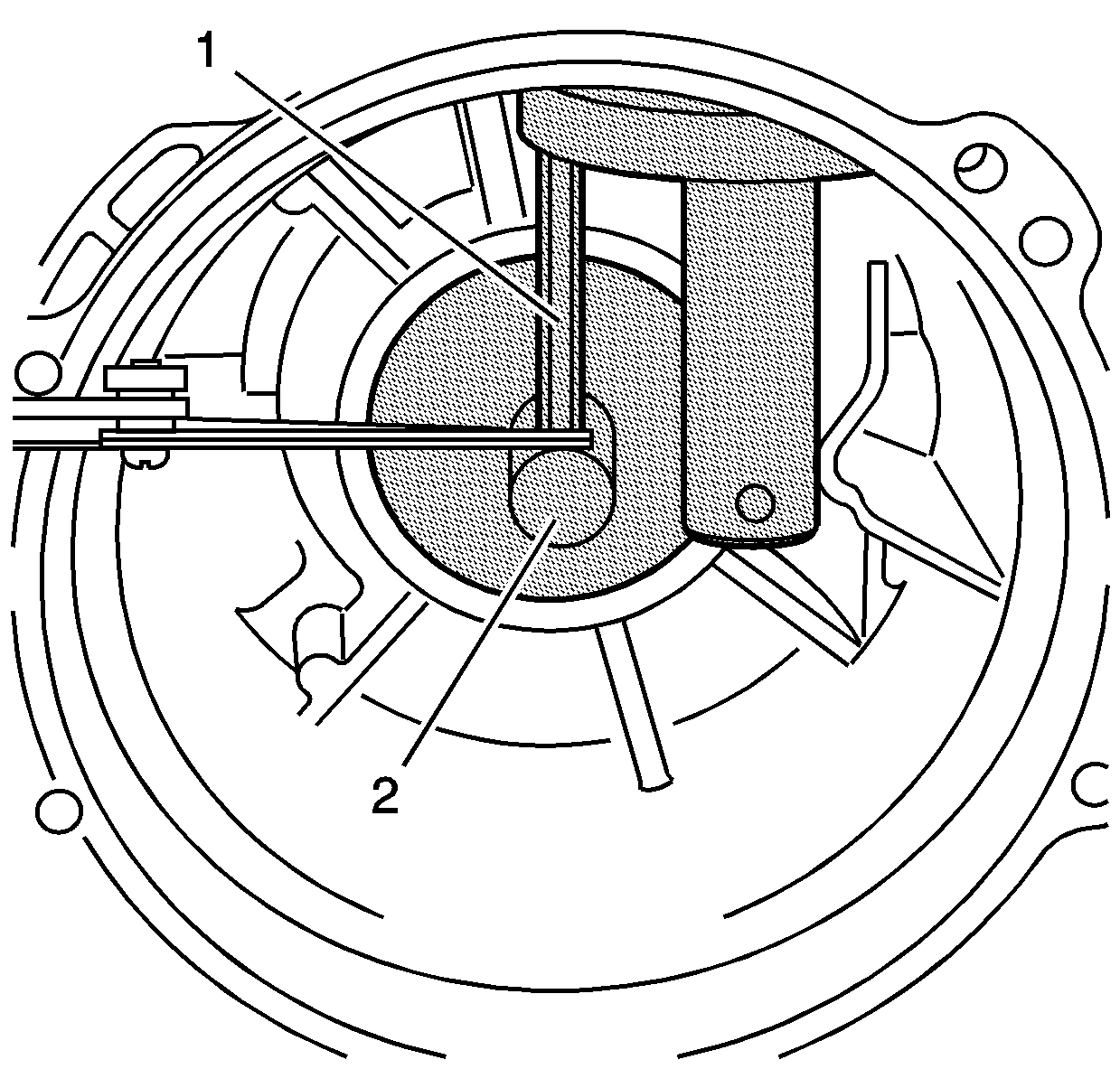
  21. Use the J 42264 (1) drop rod. Loosen the thumb screw and drop the rod through the hole on J 42264-2 (2).
  22. Ensure the rod bottoms out in the bearing cup bore. Snug the thumb screw in order to record the distance.

  23. Object Number: 1205637  Size: SH
  24. Install the differential case side bearings using a press and J 22919 . Install the left side bearing until the bearing seats.
  25. Turn the differential case over and install the right side bearing.

  26. Object Number: 1131615  Size: SH
  27. Place the J 42264-4 in a vise. Place the differential assembly with the bearing cup on J 42264-4 as shown.
  28. Spin the differential several times to seat the bearing and cup.

  29. Object Number: 1131678  Size: SH
  30. Use an old ring gear bolt. Attach the J 42264-5 (2) to the differential assembly as shown.
  31. Ensure that the drop rod aligns with the post of J 42264-4 (1).

  32. Object Number: 1131727  Size: SH
  33. Measure the gap (1) between the rod and the post on J 42264-4 (2). Record the measurement.
  34. Spin the differential case and ensure that the measurement stayed the same.
  35. Subtract the measured distance from 5 mm (0.197 in). This is the gear side shim. Record this distance.

  36. Object Number: 1205644  Size: SH
  37. It may be necessary to heat the carrier in order to remove the pinion bearing housing.
  38. Screw the slide hammer into the bolt that holds the shimming tools in the pinion housing.
  39. Pull the housing from the carrier.
  40. Remove all of the shimming tools.

  41. Object Number: 1205646  Size: SH
  42. Install the shims (17) measured for the differential carrier side bearing cup (18).
  43. Lightly lubricate the cup with gear lube.
  44. Using J 24433  (1) and J 44719  (2), install the bearing cup until it seats.

  45. Object Number: 1205647  Size: SH
  46. Install the differential assembly into the differential carrier.
  47. Install the bearing cup and J 42264-1 on top of the cup as shown.

  48. Object Number: 1205648  Size: SH
  49. Using J 42168-16 3 bolts, spacers and washers from kit J 42264, install as shown and snug the bolts.

  50. Object Number: 1205650  Size: SH
  51. Measure the gap as shown, this is the cover shim thickness.
  52. Remove the tools.

  53. Object Number: 1205651  Size: SH
  54. Using J 24433  (1) and J 44719  (2), install the measured shims in the cup bore.
  55. Lightly coat the cup with gear lube.
  56. Press the cup into the bore until it seats.