GM Service Manual Online
For 1990-2009 cars only

Transmission ID and VIN Derivative Location Corvette T56 and 4L60-E


Object Number: 904917  Size: SH

All engines and transmissions, as well as removable roof panels are stamped or laser etched with a partial Vehicle Identification Number (VIN), which was derived from the complete VIN. A VIN derivative contains the following nine positions:

    • Position 1 is the GM division identifier.
        1 = Chevrolet
    • Position 2 is the model year code.
        4 = 2004
    • Position 3 is the assembly plant code.
        5 = Bowling Green, KY
    • Positions 4-9 contain the assembly plant sequential number for the vehicle.

A VIN derivative can be used to determine if a vehicle contains the original engine, transmission or removable roof panel, by matching the VIN derivative positions to their accompanying positions in the complete VIN:

    • VIN derivative position 1 = VIN position 3
    • VIN derivative position 2 = VIN position 10
    • VIN derivative position 3 = VIN position 11
    • VIN derivative positions 4-9 = VIN positions 12-17

Borg Warner T-56 Manual Transmission


Object Number: 65529  Size: SH

The 6 speed manual transmission, the Borg Warner T-56 (RPO MM6), is stamped with a VIN derivative on the LH side of the transmission case.

Hydra-Matic 4L60E Automatic Transmission

The 4 speed overdrive automatic transmission, the Hydra-Matic 4L60-E (RPO M30), is stamped or laser etched with a transmission identification number and a VIN derivative.


Object Number: 640457  Size: SF

The transmission identification (ID) number provides the transmission model and when it was built. The transmission ID number is located on the bottom of the case just rear of the oil pan.

VIN Location


Object Number: 65542  Size: SF
(1)VIN Derivative Optional Location LH
(2)VIN Derivative Primary Location
(3)VIN Derivative Optional Location RH
(4)VIN Derivative Optional Location RH

The VIN derivative will be placed in one of four locations illustrated.

Transmission ID and VIN Derivative Location 4L60-E

Figure 1:

Toledo or Romulus Build


Object Number: 904913  Size: LF
(1)4 = 2004
(2)Model
(3)Hydra-Matic 4L60-E
(4)Julian Date or Day of the Year
(5)Shift Built, See Shift Build Chart
(6)Serial Number
(7)Case/Pan Frame Rail Location
(7)Case/Pan Frame Rail Location
(8)Optional Transmission ID Location, Tag Is Used as a Back-Up If Unable To Etch Case/Pan Area and To Bar Code Scan
Figure 2:

Ramos Arizpe, Mexico


Object Number: 904915  Size: LF
(1)4 = 2004
(2)Model
(3)Hydra-Matic 4L60-E
(4)Plant of Manufacture, 4 is Ramos
(5)Julian Date or Day of the Year
(6)Shift Built, See Shift Build Chart
(7)Transmission Serial Number
(8)Optional Transmission ID Tag Location, Tag Is Used as a Back-Up If Unable To Etch Case/Pan Area and To Bar Code Scan
(9)Case/Pan Frame Rail Area
(9)Case/Pan Frame Rail Area
Figure 3:

Bar Code Label Contents


Object Number: 904916  Size: MF
(1)4 = 2004
(2)Model
(3)Hydra-Matic 4L60-E
(4)Transmission Asm. as Shipped Number
(5)4 = Model Year
(6)Julian Date or Day of the Year
(7)Letter After Julian Date Identifies the Plant Shift Build, See Shift Build Chart
(8)Bar Code
(9)Serial Number
(10)Broadcast Code
(11)Transmission ID
(12)Build Location Y = Toledo, OH, R = Romulus, MI, 4 = Ramos Arizpe, Mexico

Plant and Shift Build Chart

Plant

Build Line

1st Shift

2nd Shift

3rd Shift

Toledo, OH

ML1

J

W

X

ML2

A

C

Not Used

ML3

B

H

Not Used

ML4

S

L

V

ML5

K

E

Z

Romulus, MI

1

A

--

B

Ramos Arizpe, Mexico

1

A

--

--

Transmission ID and VIN Derivative Location 4T80-E


Object Number: 904919  Size: SF
(1)Calendar Year - 4 = 2004
(2)Julian Date of the Year
(3)Shift and Line Number
(4)Calendar Year
(5)Model
(6)Serial Number in Base Code 31
(7)Plant
(8)Broadcast Date
(9)Transaxle
(10)Transaxle ID Tag Location
(11)Transaxle Partial VIN Location

Transmission ID and VIN Derivative Location 4L80-E


Object Number: 904920  Size: SF
(1)Calendar Year
(2)Julian Date of the Year
(3)Shift and Line Number
(4)Plant
(5)Model
(6)Location on Transmission

Transmission ID and VIN Derivative Location 4T40-E/4T45-E


Object Number: 183072  Size: SH

All automatic transmissions have a metal identification (ID) nameplate (1) attached to the case exterior.


Object Number: 904921  Size: MH
(1)Transaxle
(1)Transaxle
(2)Calendar Year
(2)Calendar Year
(3)Julian Date or Day of the Year
(3)Julian Date or Day of the Year
(4)Shift and Line Number
(5)Model Year
(5)Model Year
(6)Model
(6)Model
(7)Part Number
(8)Serial Number in Base Code 34
(9)Plant
(10)Broadcast Code
(11)Control Number
(12)Serial Number

The Hydra-Matic 4T40-E transmission has a metal identification nameplate (1) attached to the case exterior.

The information on the nameplate assists the technician in servicing the transmission and ordering replacement parts from a GM Parts Catalog.

Additional transmission identification information is provided on the Service Parts Identification label. This label shows the Regular Production Options (RPO) as well as the standard and mandatory options. This label is affixed to the inside of each vehicle at the assembly plant.

Transmission ID and VIN Derivative Location 4T65-E


Object Number: 904922  Size: SF
(1)SRTA Tag Location
(2)Transmission ID Location
(3)Hydra-Matic 4T65-E ID Tag
(4)Transmission
(5)Julian Date
(6)Shift Built A = First Shift; B = Second Shift; C = Third Shift
(7)Update Level
(8)Model
(9)Serial Number in Base Code 31
(10)W = Warren Plant
(11)Hydra-Matic 4T65-E
(12)Model
(13)Model Year 4 = 2004
(14)Line Built 1 = Line 1; 2 = Line 2; 3 = Line 3; 4 = Line 4
(15)Serial Number
(16)Julian Date
(17)Calendar Year 4 = 2004
(18)Model
(19)Model Year 4 = 2004
(20)Hydra-Matic 4T65-E SRTA Tag
(21)Control Number
(22)Transmission

Transmission ID and VIN Derivative Location 5L40-E


Object Number: 904906  Size: MF
(1)Production or Service New
(2)Transmission Family
(2)Transmission Family
(3)Model Year
(3)Model Year
(4)Alpha Code
(4)Alpha Code
(5)Part Number
(5)Part Number
(6)Serial Number
(6)Serial Number
(7)Empty
(8)Calibration Code
(9)ID Tag Location
(10)Remanufactured
(11)Remanufactured Date - Week
(12)Remanufactured Date - Year
(13)R = Remanufactured

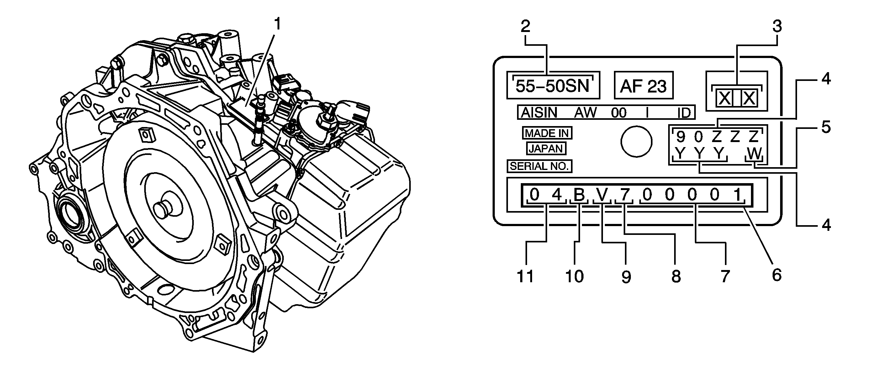
Transmission ID and VIN Derivative Location AF23-5


Object Number: 1257154  Size: SF
(1)Transmission ID Location
(2)Model Number
(3)GM ID Code
(4)GM Part Number
(4)GM Part Number
(5)Calibration Code
(6)AW Production Unit Number
(7)Serial Number During the Month of Manufacture
(8)Assembly Line Code
(9)Model of Transaxle, V = 55-50SN
(10)Month of Manufacture, A = Jan, B = Feb, etc...
(11)Year of Manufacture, 04 = 2004

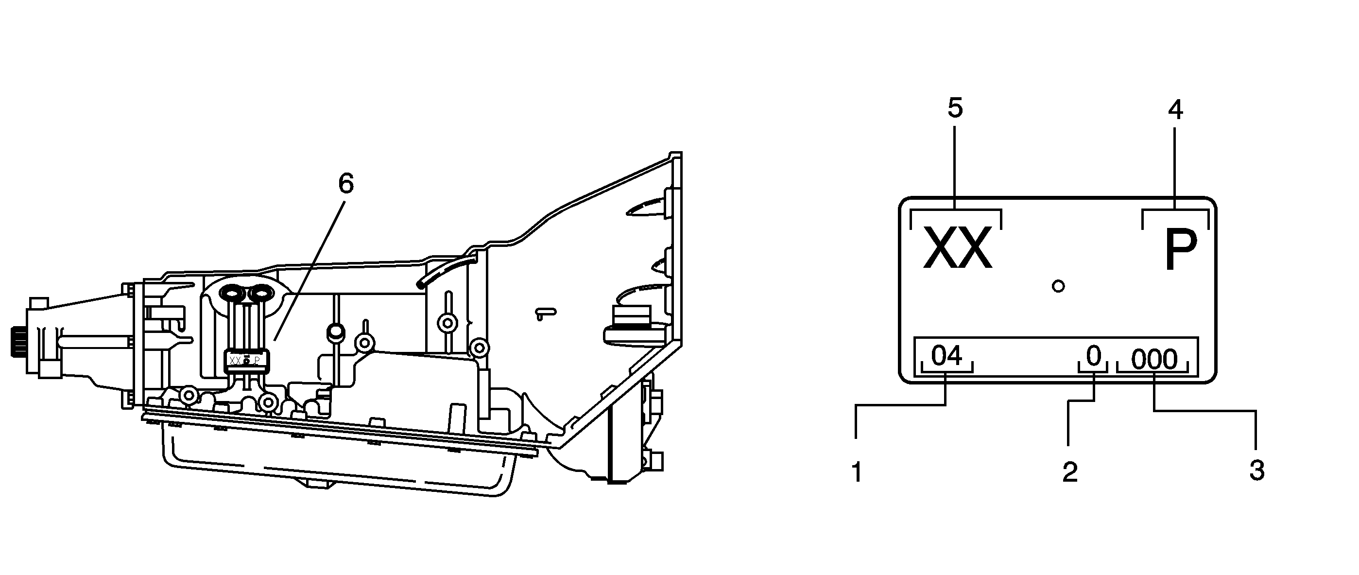
Transmission ID and VIN Derivative Location VT25-E


Object Number: 1257158  Size: SF
(1)Transmission ID Location - Metal Tag
(1)Transmission ID Location - Metal Tag
(2)Transmission ID Location - Sticker
(2)Transmission ID Location - Sticker
(3)Calender Year
(4)Julian Date
(5)Shift and Line Number
(6)Model Year
(6)Model Year
(6)Model Year
(6)Model Year
(7)Model
(7)Model
(7)Model
(7)Model
(8)Transmission Part Number
(9)Serial Number
(9)Serial Number
(10)Hungary Plant
(10)Hungary Plant
(11)Transmission
(11)Transmission