GM Service Manual Online
For 1990-2009 cars only

Removal Procedure


    Object Number: 1239004  Size: SH
  1. Raise and support the vehicle. Refer to Lifting and Jacking the Vehicle .
  2. Remove the oil filter.
  3. Important: If the bypass valve does not need to be replaced, the bolt nearest the air conditioning compressor does not need to be fully removed. The hole in the adapter and the gasket are slotted to allow the bolt to be loosened and the adapter and gasket removed without fully removing the bolt.

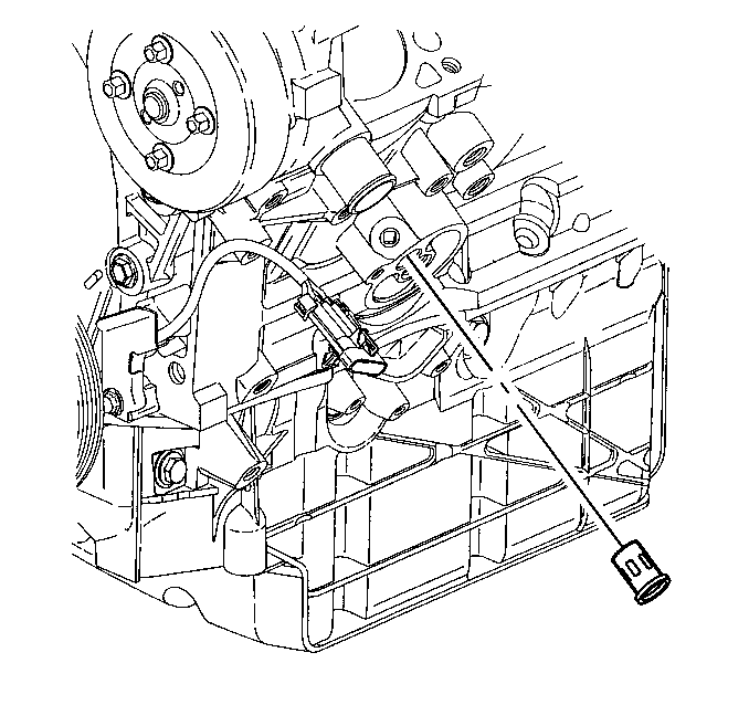
  4. Remove the oil filter adapter and gasket.
  5. Important: It is not necessary to evacuate and recharge the air conditioning system, it is only necessary to remove the belt and the compressor fasteners to reposition the compressor.

  6. If the bypass valve hole plug or the bypass valve need to be removed, the air conditioning compressor must be removed and repositioned. Refer to Air Conditioning Compressor Replacement .

  7. Object Number: 96347  Size: SH
  8. Remove the oil filter bypass hole plug.

  9. Object Number: 96363  Size: SH
  10. Insert a flat-bladed tool into the oil filter bypass hole and remove the bypass valve.

Installation Procedure


    Object Number: 190505  Size: SH
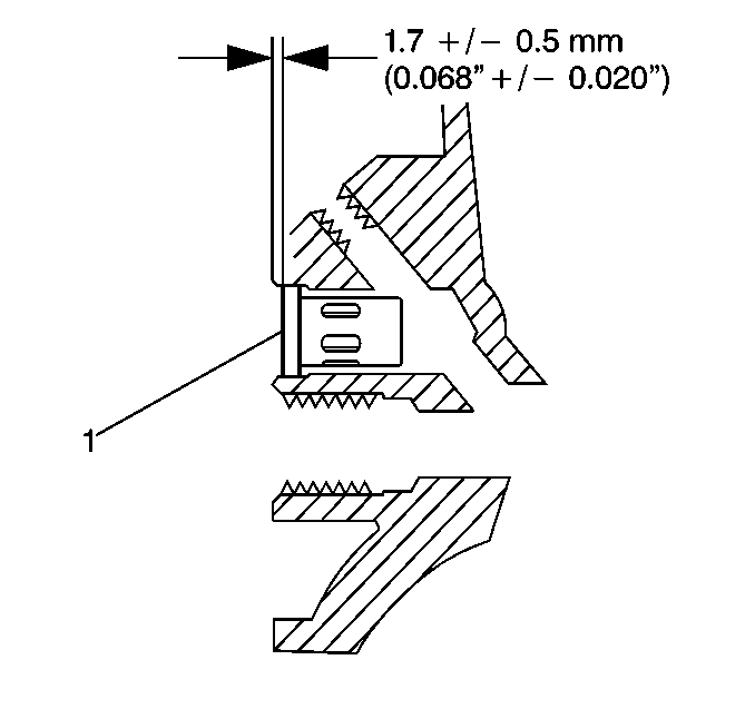
  1. Install the oil filter bypass valve (1) to the proper depth.
  2. Notice: Refer to Fastener Notice in the Preface section.


    Object Number: 96347  Size: SH
  3. Install the oil filter bypass hole plug.
  4. Tighten
    Tighten the plug to 19 N·m (14 lb ft).

  5. If the air conditioning compressor has been removed, reinstall the air conditioning compressor. Refer to Air Conditioning Compressor Replacement .

  6. Object Number: 1239004  Size: SH
  7. Install the oil filter and gasket.
  8. Tighten
    Tighten to 25 N·m (18 lb ft).


    Object Number: 909513  Size: SH
  9. Install the oil filter.
  10. Lower the vehicle.
  11. Check and fill the crankcase as necessary.