GM Service Manual Online
For 1990-2009 cars only

Tools Required

    • J 22794 Spark Plug Port Adapter
    • J 38606 Valve Spring Compressor

Removal Procedure

    Important: 

       • Before you remove the valve locks, rotate the engine so that the piston in the cylinder you are working on is at top dead center (TDC). This will eliminate the possibility of the valve accidentally falling inside the cylinder.
       • Break the spark plug loose, and clean any dirt and debris from the spark plug recess area before removing.

  1. Remove the spark plug. Refer to Spark Plug Replacement in Engine Controls - 3.5L.
  2. Remove the rocker arm. Refer to Valve Rocker Arm and Push Rod Replacement .
  3. Install the J 22794 into the spark plug port. Apply compressed air in order to hold the valves in place.

  4. Object Number: 54421  Size: SH
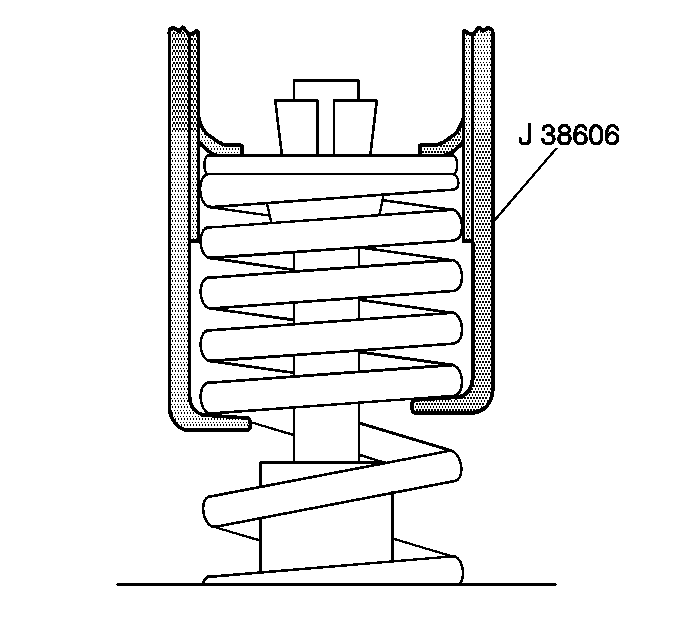
  5. Install the J 38606 on the valve spring.

  6. Object Number: 190527  Size: SH
  7. Compress the valve spring with the J 38606 .

  8. Object Number: 54389  Size: SH
  9. Remove the valve locks.
  10. Remove the valve cap.
  11. Remove the valve spring.
  12. Inspect the valve spring for damage. Refer to Cylinder Head Cleaning and Inspection .
  13. Remove the valve stem oil seal.

Installation Procedure


    Object Number: 54389  Size: SH
  1. Install the valve stem oil seal.
  2. Install the valve spring.
  3. Install the valve cap.

  4. Object Number: 190527  Size: SH
  5. Compress the valve spring with the J 38606 .
  6. Install the valve locks. If necessary, hold the valve locks in place with grease.

  7. Object Number: 54421  Size: SH
  8. Release the valve spring using the J 38606 .
  9. Ensure the valve locks are seated.
  10. Release the air pressure and remove the J 22794 from the spark plug port.
  11. Install the valve rocker arm. Refer to Valve Rocker Arm and Push Rod Replacement .
  12. Install the spark plug. Refer to Spark Plug Replacement in Engine Controls - 3.5L.