GM Service Manual Online
For 1990-2009 cars only

Removal Procedure

  1. Remove the engine flywheel. Refer to Engine Flywheel Replacement .

  2. Object Number: 105921  Size: SH
  3. Remove the camshaft rear bearing hole plug.

Installation Procedure


    Object Number: 105921  Size: SH
  1. Coat the camshaft rear bearing hole plug with sealer. Refer to Adhesives, Fluids, Lubricants, and Sealers .
  2. Install the camshaft rear bearing hole plug.

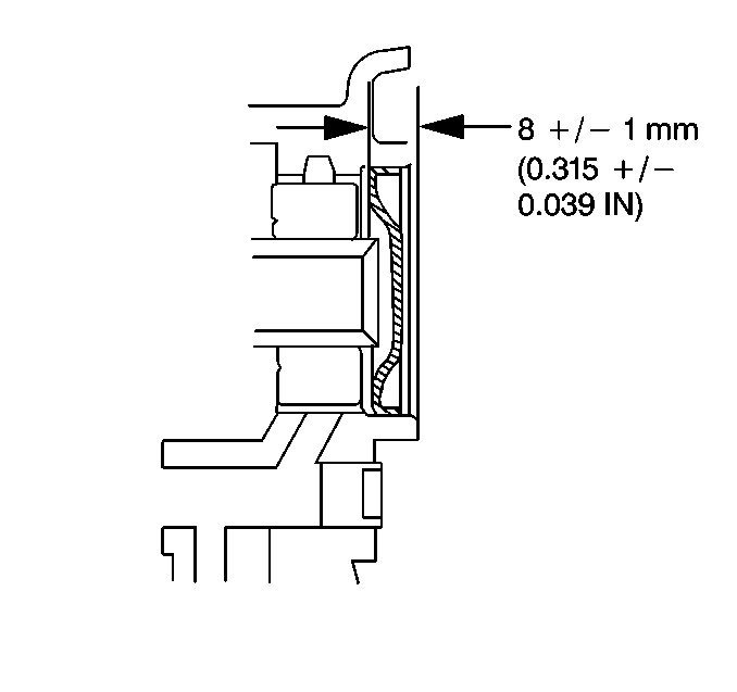
  3. Object Number: 105922  Size: SH
  4. Ensure that the camshaft rear bearing plug is installed to specifications.
  5. Install the engine flywheel. Refer to Engine Flywheel Replacement .