GM Service Manual Online
For 1990-2009 cars only

    Object Number: 1424505  Size: SH

    Notice: Use the correct fastener in the correct location. Replacement fasteners must be the correct part number for that application. Fasteners requiring replacement or fasteners requiring the use of thread locking compound or sealant are identified in the service procedure. Do not use paints, lubricants, or corrosion inhibitors on fasteners or fastener joint surfaces unless specified. These coatings affect fastener torque and joint clamping force and may damage the fastener. Use the correct tightening sequence and specifications when installing fasteners in order to avoid damage to parts and systems.

  1. Install gasket (433), cover (434), and nuts (452).
  2. Tighten
    Tighten the cover nuts to 12 N·m (106 lb in).


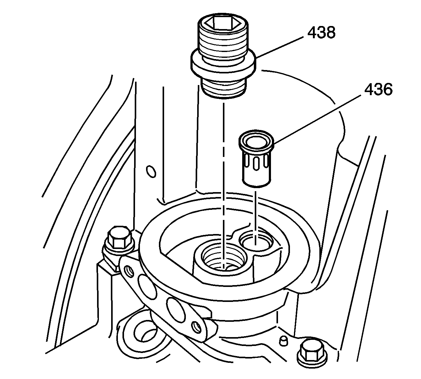
    Object Number: 1272831  Size: SH
  3. Install a new oil filter bypass valve (436) into the oil pan, if required.
  4. Install the oil filter fitting (438).
  5. Tighten
    Tighten the oil filter fitting to 55 N·m (40 lb ft).


    Object Number: 309844  Size: SH
  6. Install the oil filter.
  7. Tighten
    Tighten the oil filter to 30 N·m (22 lb ft).


    Object Number: 309733  Size: SH
  8. Install the oil pan drain plug.
  9. Tighten
    Tighten the oil pan drain plug to 25 N·m (18 lb ft).