GM Service Manual Online
For 1990-2009 cars only

Removal Procedure

Caution: Refer to Approved Equipment for Collision Repair Caution in the Preface section.

The full body side inner panel comes as a one-piece assembly and can be replaced at the factory seams after removal of the outer panels, the roof panel and the front and rear window, any of these sectioning procedures can be performed separately or in any combination, depending on the extent of the damage to the vehicle.

Caution: Sectioning should be performed only in the recommended areas. Failure to do so may compromise the structural integrity of the vehicle and cause personal injury if the vehicle is in a collision.

  1. Disable the SIR system. Refer to SIR Disabling and Enabling in SIR.
  2. Disconnect the negative battery cable. Refer to Battery Negative Cable Disconnection and Connection in Engine Electrical.

  3. Object Number: 1285105  Size: SH
  4. Remove all related panels and components.
  5. Remove the sealers and anti-corrosion materials from the repair area, as necessary. Refer to Anti-Corrosion Treatment and Repair in Paint and Coatings.
  6. Repair as much of the damage as possible.

  7. Object Number: 1285108  Size: SH
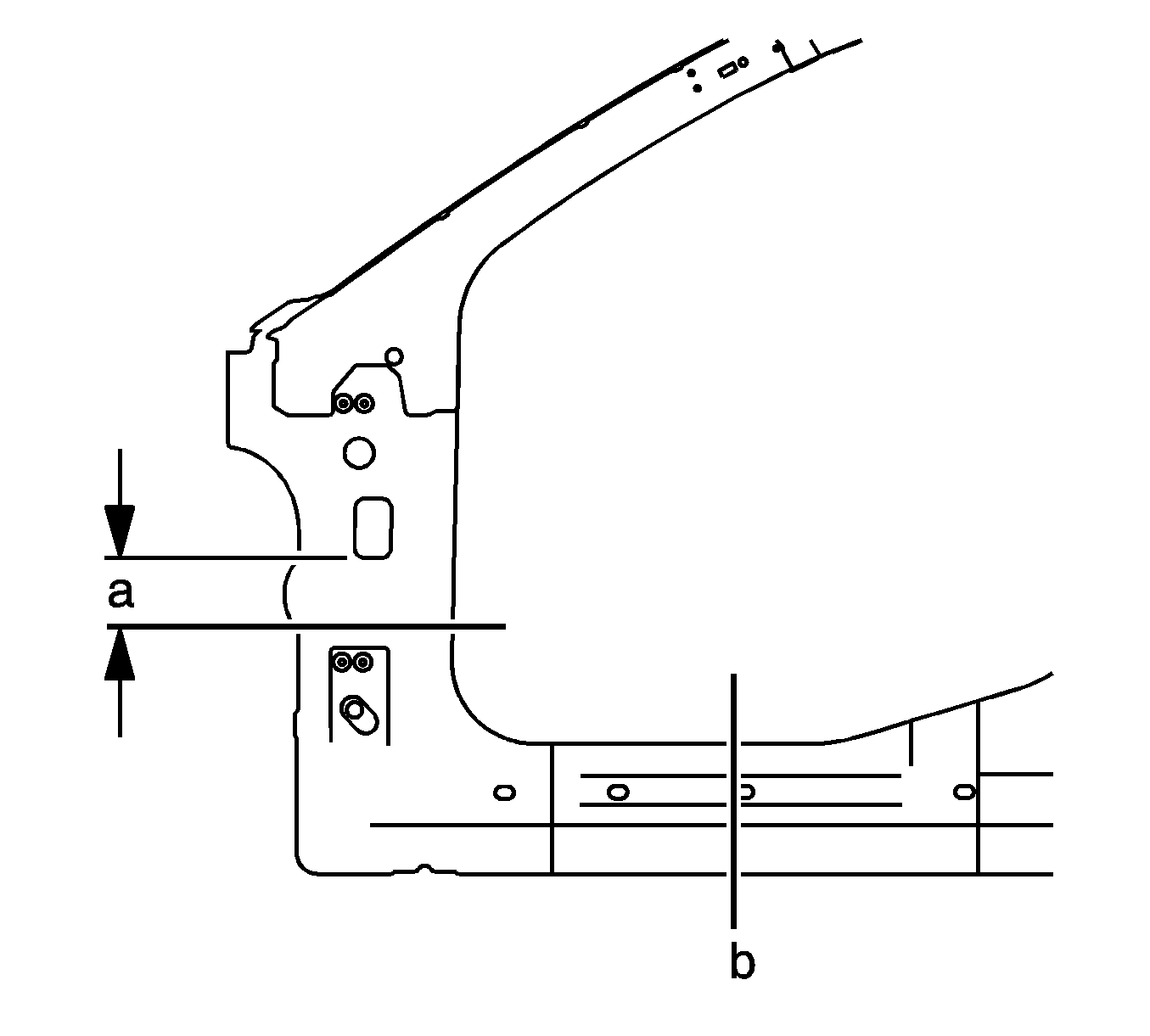
  8. On the inner rocker panel, measure 50 mm (2 in) (a) forward from the front edge of the third rearward hole. This is the cut line.

  9. Object Number: 1285110  Size: SH

    Important: Do not damage any inner reinforcements or panels.

  10. Cut the panel where sectioning is to be performed.
  11. Measure down 80 mm (3.25 in) (a) from the door wiring conduit hole lower edge. This is the cut line.

  12. Object Number: 1285113  Size: SH

    Important: Note the number and location of the factory welds for installation of the hinge pillar.

  13. Locate and drill out all factory welds. Note the number and location of the welds for installation of the service part.

  14. Object Number: 1285115  Size: SH
  15. Remove the damaged inner hinge pillar.

Installation Procedure


    Object Number: 1285117  Size: SH
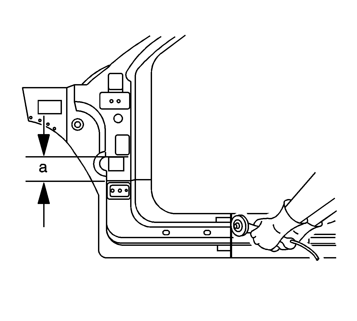
  1. On the hinge pillar, after cutting, notch out the corners (a) 20 mm (0.75 in) to accept the service part fit.

  2. Object Number: 1285118  Size: SH
  3. Measure 50 mm (2 in) (a) below the door wiring conduit hole. Cut the replacement service part horizontally.
  4. Cut the rocker area vertically at the front edge of the rearward hole (b).

  5. Object Number: 1285121  Size: SH
  6. On the service part, notch the corners back 50 mm (2 in) (a) to allow for a full under-lap.

  7. Object Number: 1285125  Size: SH
  8. Note the number and the location of the factory welds for installation of the service part.
  9. Overlap the hinge pillar area. Underlap the rocker area.
  10. Important: If the location of the original plug weld holes can not be determined, or if structural weld-thru adhesive is present, space the plug weld holes every 40 mm (1½ in).

  11. Drill 8 mm (5/16 in) plug weld holes in the service part as necessary as noted from the original panel.
  12. Prepare all mating surfaces as necessary.
  13. Apply 3M Weld-Thru Coating P/N 05913 or equivalent to all mating surfaces.
  14. Align service part using 3 dimensional measuring equipment. Clamp in place.

  15. Object Number: 1285126  Size: SH
  16. Add plug weld holes 1/2 in from the seam weld.
  17. Weld and grind the seam.
  18. Plug weld accordingly.
  19. Refinish and paint the repaired area. Refer to Basecoat/Clearcoat Paint Systems in Paint and Coatings.
  20. Install all of the related panels and components.
  21. Connect the negative battery cable. Refer to Battery Negative Cable Disconnection and Connection in Engine Electrical.
  22. Enable the SIR system. Refer to SIR Disabling and Enabling in SIR.